GASLAND chef CH30BF Electric Ceramic Hob
Important! Read these instructions for installation and use carefully. Keep these instructions for future reference.
Any questions regarding the operation, maintenance service or warranty of the appliance should be directed to GASLAND, please contact us via email at:
US market: [email protected]
AU market: [email protected]
UK market: [email protected]
Safety Warnings
Your safety is important to us. Please read this information before using your cooktop.
Installation
Electrical Shock Hazard
- Disconnect the appliance from the mains electricity supply before carrying out any work or maintenance on it.
- Connection to a good earth wiring system is essential and mandatory.
- Alterations to the domestic wiring system must only be made by a qualified electrician.
- Failure to follow this advice may result in electrical shock or death.
Cut Hazard - Take care – panel edges are sharp.
- Failure to use caution could result in injury or cuts.
Important safety instructions
- Read these instructions carefully before installing or using this appliance.
- No combustible material or products should be placed on this appliance at any time.
- Please make this information available to the person responsible for installing the appliance as it could reduce your installation costs.
- In order to avoid a hazard, this appliance must be installed according to these instructions for installation.
- This appliance is to be properly installed and earthed only by a suitably qualified person.
- This appliance should be connected to a circuit that incorporates an isolating switch providing full disconnection from the power supply.
- Failure to install the appliance correctly could invalidate any warranty or liability claims.
Operation and maintenance Electrical Shock Hazard
- Do not cook on a broken or cracked cooktop. If the cooktop surface should break or crack, switch the appliance off immediately at the mains power supply (wall switch) and contact a qualified technician.
- Switch the cooktop off at the wall before cleaning or maintenance.
- Failure to follow this advice may result in electrical shock or death.
Health Hazard
- This appliance complies with electromagnetic safety standards.
Hot Surface Hazard
- During use, accessible parts of this appliance will become hot enough to cause burns.
- Do not let your body, clothing or any item other than suitable cookware contact the Induction glass until the surface is cool.
- Metallic objects such as knives, forks, spoons and lids should not be placed on the hob surface since they can get hot
- Keep children away.
- Handles of saucepans may be hot to touch. Check saucepan handles do not overhang other cooking zones that are on. Keep handles out of reach of children.
- Failure to follow this advice could result in burns and scalds.
Cut Hazard
- The razor-sharp blade of a cooktop scraper is exposed when the safety cover is retracted. Use with extreme care and always store safely and out of reach of children.
- Failure to use caution could result in injury or cuts.
- Never leave the appliance unattended when in use. Boil over causes smoking and greasy spillovers that may ignite.
- Never use your appliance as a work or storage surface.
- Never leave any objects or utensils on the appliance.
- Never use your appliance for warming or heating the room.
- After use, always turn off the cooking zones and the cooktop as described in this manual (i.e. by using the touch controls).
- Do not allow children to play with the appliance or sit, stand, or climb on it.
- Do not store items of interest to children in cabinets above the appliance. Children climbing on the cooktop could be seriously injured.
- Do not leave children alone or unattended in the area where the appliance is in use.
- Children or persons with a disability which limits their ability to use the appliance should have a responsible and competent person to instruct them in its use. The instructor should be satisfied that they can use the appliance without danger to themselves or their surroundings.
- Do not repair or replace any part of the appliance unless specifically recommended in the manual. All other servicing should be done by a qualified technician.
- Do not use a steam cleaner to clean your cooktop.
- Do not place or drop heavy objects on your cooktop.
- Do not stand on your cooktop.
- Do not use pans with jagged edges or drag pans across the Induction glass surface as this can scratch the glass.
- Do not use scourers or any other harsh abrasive cleaning agents to clean your cooktop, as these can scratch the Induction glass.
- If the supply cord is damaged, it must be replaced by the manufacturer, its service agent or similarly qualified persons in order to avoid a hazard.
- This appliance is intended to be used in household and similar applications such as: -staff kitchen areas in shops, offices and other working environments; -farm houses; -by clients in hotels, motels and other residential type environments; -bed and breakfast type environments.
- WARNING: The appliance and its accessible parts become hot during use.
Care should be taken to avoid touching heating elements. Children less than 8 years of age shall be kept away unless continuously supervised. - This appliance can be used by children aged from 8 years and above and persons with reduced physical, sensory or mental capabilities or lack of experience and knowledge if they have been given supervision or instruction concerning use of the appliance in a safe way and understand the hazards involved.
- Children shall not play with the appliance. Cleaning and user maintenance shall not be made by children without supervision.
- WARNING: Unattended cooking on a hob with fat or oil can be dangerous and may result in fire. NEVER try to extinguish a fire with water, but switch off the appliance and then cover flame e.g. with a lid or a fire blanket.
- WARNING: Danger of fire: do not store items on the cooking surfaces.
- Warning: If the surface is cracked, switch off the appliance to avoid the possibility of electric shock, for hob surfaces of glass-ceramic or similar material which protect live parts
- A steam cleaner is not to be used.
- The appliance is not intended to be operated by means of an external timer or separate remote-control system.
Congratulations on the purchase of your new Ceramic Hob. We recommend that you spend some time to read this Instruction / Installation Manual in order to fully understand how to install correctly and operate it.
For installation, please read the installation section.
Read all the safety instructions carefully before use and keep this Instruction / Installation Manual for future reference.
Product Overview
Top View (CH30BF)

- max. 2000 W zone
- max. 1500 W zone
- Glass plate
- Control panel
Control Panel (CH30BF)

- ON/OFF control
- Power / Timer regulating key
- Key lock control
- Heating zone selection controls
- Timer control
Top View (CH60BF)

- max. 1800 W zone
- max. 1200 W zone
- max. 1800 W zone
- max. 1200 W zone
- Glass plate
- Control panel
Control Panel (CH60BF)

- Heating zone selection controls
- Power / Timer regulating controls
- Keylock control
- ON/OFF control
- Timer control
Top View (CH77BF)
- max. 2200W(1000W) zone
- max. 1200 W zone
- max. 2000W(1100W) zone
- max. 1200 W zone
- Glass plate
Control panel
Control Panel (CH77BF)

- Heating zone selection controls
- Timer control
- Power / Timer regulating controls
- Keylock control
- ON/OFF control
- Dual Zone
Top View (CH90BF)
- max. 1200 W zone
- max. 2300/1600/800 W zone
- max. 2000/1100 W zone
- max. 1200 W zone
- max. 1800 W zone
- Glass plate
- Control panel
Control Panel (CH90BF)
- Cooking Zone indicator
- Timer Indicator
- Power/Timer regulating controls
- Triple zone control
- Keylock control
- ON/OFF control
- Oval Zone control
Product Information
The ceramic cooker hob can meet different kinds of cuisine demands because of resistance wire heating, micro-computerized control and multi-power selection. It’s an ideal really the optimal choice for modern families.
Before using your New Ceramic Hob
- Read this guide, taking special note of the ‘Safety Warnings’ section.
- Remove any protective film that may still be on your ceramic hob.
Using the Touch Controls
- The controls respond to touch, so you don’t need to apply any pressure.
- Use the ball of your finger, not its tip.
- You will hear a beep each time a touch is registered.
- Make sure the controls are always clean, dry, and that there is no object (e.g. a utensil or a cloth) covering them. Even a thin film of water may make the controls difficult to operate.

Choosing the right Cookware
Do not use cookware with jagged edges or a curved base. 
Make sure that the base of your pan is smooth, sits flat against the glass, and is the same size as the cooking zone. Always centre your pan on the cooking zone. 
Always lift pans off the ceramic hob – do not slide, or they may scratch the glass. 
Using your Ceramic Hob
To start cooking
- After power on, the buzzer beeps once, all the indicators light up for 1 second then go out, indicating that the ceramic hob has entered the state of standby mode.
- Touch the ON/OFF control all the indicators show “-“

- Place a suitable pan on the cooking zone that you hope to use.
- Make sure the bottom of the pan and the surface of the cooking zone are clean and dry
- For Model CH77BF-AU, CH77BF-US, CH60BF, CH30BF-US, touch Heating zone selection controls first, and select a heat setting by touching the “-“ or “+” control. Then touch “-“ or “+” to adjust the heating stage.
For Model CH90BF-AU, select a heat setting by touching the “-“ or “+” control. Then touch “-“ or “+” to adjust the heating stage.- If you don’t choose a heat setting within 1 minute, the ceramic hob will automatically switch off. You will need to start again at step 1.
- You can modify the heat setting at any time during cooking.

- For model CH77BF-AU, CH77BF-US, CH90BF-AU that have dual zone or oval zone, activating double zone by pressing , when double zone is working, turning double zone off by pressing

- For model CH90BF-AU that have triple zone, activating or deactivating triple zone by pressing
When you have finished cooking
- For Model CH77BF-AU, CH77BF-US, CH60BF, CH30BF-US, touch heating zone selection controls first, and select a heat setting by touching the “-“ control, turn the cooking zone off by scrolling down to ”0”
Then touch “-“ or “+” to adjust the heating stage.
For Model CH90BF-AU, turn the cooking zone off by scrolling down to ”0”. Make sure the display shows”0”, then shows ”H”.
- Turn the whole cooktop off by touching the ON/OFF control.

- Beware of hot surfaces “H” showing means the cooking zone is hot to touch. It will disappear when the surface has cooled down to a safe temperature. It can also be used as an energy saving function if you want to heat further pans, use the hotplate that is still hot.

Locking the Controls
- You can lock the controls to prevent unintended use (for example children accidentally turning the cooking zones on).
- When the controls are locked, all the controls except the ON/OFF control are disabled.
To lock the controls
Touch the keylock control. The timer indicator will show “Lo“.
To unlock the controls
- Make sure the ceramic hob is turned on.
- Touch and hold the keylock control for a while.
- You can now start using your ceramic hob.
When the hob is in the lock mode, all the controls are disable except the ON/OFF, you can always turn the ceramic hob off with the ON/OFF control in an emergency, but you shall unlock the hob first in the next operation
Over-Temperature Protection
A temperature sensor equipped can monitor the temperature inside the ceramic hob. When an excessive temperature is monitored, the ceramic hob will stop operation automatically.
Residual Heat Warning
When the hob has been operating for some time, there will be some residual heat. The letter “ ”appears to warn you to keep away from it.
Auto Shutdown Protection
Another safety feature of the hob is auto shutdown. This occurs whenever you forget to switch off a cooking zone. The default shutdown times are shown in the table below:
| Power level | 1 | 2 | 3 | 4 | 5 | 6 | 7 | 8 | 9 |
| Default working timer (hour) | 8 | 8 | 8 | 4 | 4 | 4 | 2 | 2 | 2 |
Using the Timer
You can use the timer in two different ways:
- You can use it as a minute minder. In this case, the timer will not turn any cooking zone off when the set time is up.
- You can set it to turn one cooking zone off after the set time is up.
- You can set the timer up to 99 minutes.
Using the Timer as a Minute Minder
If you are not selecting any cooking zone
- Make sure the cooktop is turned on.
Note: you can use the minute minder even if you’re not selecting any cooking zone. - Touch timer control, the minder indicator will start flashing and “30” will show in the timer display.

- Set the time by touching the “-“or “+” control of the timer.
Hint: Touch the “-“ or ”+” control of the timer once to decrease or increase by 1 minute.
Touch and hold the “-“ or “+” control of the timer to decrease or increase by 10 minutes.
- When the time is set, it will begin to count down immediately. The display will show the remaining time and the timer indicator will flash for 5 seconds.

- The buzzer will beep for 30 seconds and the timer indicator shows “- – “ when the setting time finished.

NOTE: The cooker will continue to cook, this timer function is a minute minder only, it does not turn the cooktop ON or OFF.
Setting the timer to turn one cooking zone off
- For CH77BF-AU, CH77BF-US, CH60BF, CH30BF-US, touch the heating zone selection control that you want to set the timer for. Touching the Timer and then adjust the time by touching the “-“ or “+” controls.

- For CH90BF-AU, touch the “-“ or “+” control of the heating zone selection control first, then set the time by touching the “-“ or “+” controls of Timer.

- Hint: Touch the “-“ or “+” control of the timer once will decrease or increase by 1 minute.
Touch and hold the ”-“ or “+” control of the timer will decrease or increase by 10 minutes.
- Touch the “-“ control, if the “00” will show in the minute display, the timer is canceled.

- When the time is set, it will begin to count down immediately. The display will show the remaining time and the timer indicator flash for 5 seconds.

NOTE: The red dot next to power level indicator will illuminate indicating that zone is selected.
- When cooking timer expires, the corresponding cooking zone will be switch off automatically.

Another cooking zone will keep operating if they are turned on previously.
Setting the timer to turn more than one cooking zone off
Model: CH77BF-AU, CH77BF-US, CH60BF, CH30BF-US
- If more than one heating zone use this function, the timer indicator will show the lowest time. (e.g. zone 1# setting time of 3 minutes, zone 2# setting time of 6 minutes, the timer indicator shows “3”.)
NOTE: The red dot next to power level indicator will flash.
- When the cooking timer expires, the corresponding cooking zone will be switched off automatically.

Model: CH90BF-AU
- If more than one heating zone use this function, the timer indicator will show the lowest time. (e.g. zone 1# setting time of 6 minutes, zone 2# setting time of 3 minutes, the timer indicator shows “3”.)
NOTE: The red dot next to power level indicator will flash.
- When cooking timer expires, the corresponding cooking zone will be switched off automatically.
NOTE: If you want to change the time after the timer is set, you have to start from step 1.
Power Management 
Power management function on Group A
- If both zones are working on/above power stage 7, these two zones will be automatically switched on and off by turns, which was controlled by software.
- If only one zone is switched on or two zones both working below power stage 7, there will be no limitation by software.
In Group B all zones can work together without limitation.
Cooking Guidelines
Take care when frying as the oil and fat heat up very quickly, particularly if you’re using PowerBoost. At extremely high temperatures oil and fat will ignite spontaneously and this presents a serious fire risk.
Cooking Tips
- When food comes to the boil, reduce the temperature setting.
- Using a lid will reduce cooking times and save energy by retaining the heat.
- Minimize the amount of liquid or fat to reduce cooking times.
- Start cooking on a high setting and reduce the setting when the food has heated through.
Simmering, cooking rice
- Simmering occurs below boiling point, at around 85˚C(185℉), when bubbles are just rising occasionally to the surface of the cooking liquid. It is the key to delicious soups and tender stews because the flavours develop without overcooking the food. You should also cook egg-based and flour-thickened sauces below boiling point.
- Some tasks, including cooking rice by the absorption method, may require a setting higher than the lowest setting to ensure the food is cooked properly in the time recommended.
Searing steak
To cook juicy flavor some steaks:
- Stand the meat at room temperature for about 20 minutes before cooking.
- Heat up a heavy-based frying pan.
- Brush both sides of the steak with oil. Drizzle a small amount of oil into the hot pan and then lower the meat onto the hot pan.
- Turn the steak only once during cooking. The exact cooking time will depend on the thickness of the steak and how cooked you want it. Times may vary from about 2 – 8 minutes per side. Press the steak to gauge how cooked it is the firmer it feels the more ‘well done’ it will be.
- Leave the steak to rest on a warm plate for a few minutes to allow it to relax and become tender before serving.
For stir-frying
- Choose a ceramic compatible flat-based wok or a large frying pan.
- Have all the ingredients and equipment ready. Stir-frying should be quick. If cooking large quantities, cook the food in several smaller batches.
- Preheat the pan briefly and add two tablespoons of oil.
- Cook any meat first, put it aside and keep warm.
- Stir-fry the vegetables. When they are hot but still crisp, turn the cooking zone to a lower setting, return the meat to the pan and add your sauce.
- Stir the ingredients gently to make sure they are heated through.
- Serve immediately.
Heat Settings
The settings below are guidelines only. The exact setting will depend on several factors, including your cookware and the amount you are cooking. Experiment with the cooktop to find the settings that best suit you.
| Heat setting | Suitability |
| 1 – 2 | • Delicate warming for small amounts of food • Melting chocolate, butter, and foods that burn quickly • Gentle simmering • Slow warming |
| 3 – 4 | • Reheating • Rapid simmering • Cooking rice |
| 5 – 6 | • Pancakes |
| 7 – 8 | • Sautéing • Cooking pasta |
| 9 | • Stir-frying • Searing • Bringing soup to the boil • Boiling water |
Care and Cleaning
| What? | How? | Important! |
| Everyday soiling on glass (fingerprints, marks, stains left by food or non-sugary spillovers on the glass) | 1. Switch the power to the cooktop off. 2. Apply a cooktop cleaner while the glass is still warm (but not hot!) 3. Rinse and wipe dry with a clean cloth or paper towel. 4. Switch the power to the cooktop back on. | • When the power to the cooktop is switched off, there will be no ‘hot surface’ indication but the cooking zone may still be hot! Take extreme care. • Heavy-duty scourers, some nylon scourers and harsh/abrasive cleaning agents may scratch the glass. Always read the label to check if your cleaner or scourer is suitable. • Never leave cleaning residue on the cooktop: the glass may become stained. |
| Boilovers, melts, and hot sugary spills on the glass | Remove these immediately with a fish slice, palette knife or razor blade scraper suitable for ceramic glass cooktops, but beware of hot cooking zone surfaces: 1. Switch the power to the cooktop off at the wall. 2. Hold the blade or utensil at a 30° angle and scrape the soiling or spill to a cool area of the cooktop. 3. Clean the soiling or spill up with a dish cloth or paper towel. 4. Follow steps 2 to 4 for ‘Everyday soiling on glass’ above. | • Remove stains left by melts and sugary food or spillovers as soon as possible. If left to cool on the glass, they may be difficult to remove or even permanently damage the glass surface. • Cut hazard: when the safety cover is retracted, the blade in a scraper is razor-sharp. Use with extreme care and always store safely and out of reach of children. |
| Spillovers on the touch controls | 1. Switch the power to the cooktop off. 2. Soak up the spill 3. Wipe the touch control area with a clean damp sponge or cloth. 4. Wipe the area completely dry with a paper towel. 5. Switch the power to the cooktop back on. | • The cooktop may beep and turn itself off, and the touch controls may not function while there is liquid on them. Make sure you wipe the touch control area dry before turning the cooktop back on. |
Hints and Tips
| Problem | Possible causes | What to do |
| The cooktop cannot Be turned on. | No power. | Make sure the cooktop is connected to the power supply and that it is switched on. Check whether there is a power outage in your home or area. If you’ve checked everything and the problem persists, call a qualified technician. |
| The touch controls are unresponsive. | The controls are locked. | Unlock the controls. See section ‘Using your ceramic cooktop’ for instructions. |
| The touch controls are difficult to operate. | There may be a slight film of water over the controls or you may be using the tip of your finger when touching the controls. | Make sure the touch control area is dry and use the ball of your finger when touching the controls. |
| The glass is being scratched. | Rough-edged cookware.
Unsuitable, abrasive scourer or cleaning products being used. | Use cookware with flat and smooth bases. See ‘Choosing the right cookware’.
See ‘Care and cleaning’. |
| Some pans make crackling or clicking noises. | This may be caused by the construction of your cookware (layers of different metals vibrating differently). | This is normal for cookware and does not indicate a fault. |
Technical Specification
| Model | CH60BF | CH77BF | CH90BF |
| Cooking Zones | 4 zones | 4 zones | 5 zones |
| Frequency | 50/60Hz | 50/60Hz | 50/60Hz |
| Supply Voltage | 220-240V~ | 220-240V~ | 220-240V~ |
| Rating Power | 5490-6533W | 6039-7186W | 6130-7295W |
| Product Size L×W×H | 590X520X52m m | 770X520X52 mm | 900X520X52 mm |
| Built-in Dimension A×B | 560X490mm | 560X490mm | 870X490mm |
| Model | CH30BF(US) | CH77BF(US) |
| Cooking Zones | 2 zones | 4 zones |
| Frequency | 50/60Hz | 50/60Hz |
| Supply Voltage | 220-240V~ | 220-240V~ |
| Rating Power | 2745-3267W | 6039-7186W |
| Product Size L×W×H | 11X20X2 in | 30X20X2 in |
| Built-in Dimension A×B | 10 1/2X19 4/5 in | 22 1/5X19 1/2 in |
Weight and Dimensions are approximate. Because we continually strive to improve our products we may change specifications and designs without prior notice.
Installation
Selection of installation equipment
Cut out the work surface according to the sizes shown in the drawing.
For the purpose of installation and use, a minimum of 50mm(2 in) space shall be preserved around the hole.
Be sure the thickness of the work surface is at least 30mm(1 1/5 in). Please select heat-resistant work surface material to avoid larger deformation caused by the heat radiation from the hotplate. As shown below:
| Model | L | W | H | D | A | B | X |
| CH60BF | 590mm | 520mm | 52mm | 48mm | 560mm | 490mm | 50mm mini |
| CH77BF | 770mm | 520mm | 52mm | 48mm | 560mm | 490mm | 50mm mini |
| CH90BF | 900mm | 520mm | 52mm | 48mm | 870mm | 490mm | 50mm mini |
| CH30BF (US) | 11 in | 20 in | 2 in | 1 4/5 in | 10 1/2 in | 19 4/5 in | 2 in mini |
| CH77BF (US) | 30 in | 20 in | 2 in | 1 4/5 in | 22 1/5 in | 19 1/2 in | 2 in mini |
Under any circumstances, make sure the ceramic cooker hob is well ventilated and the air inlet and outlet are not blocked. Ensure the ceramic cooker hob is in good work state. As shown on the next page
Note: The safety distance between the hotplate and the cupboard above the hotplate should be at least 760mm(30 in).
| A | B | C | D | E |
| 760mm | 50mm mini | 20mm mini | Air intake | Air exit 5mm |
| 30 in | 2 in mini | 4/5 in mini | Air intake | Air exit 1/5 in |
Before locating the fixing brackets
The hob should be placed on a stable, smooth surface (use the packaging). Do not apply force onto the controls protruding from the hob.
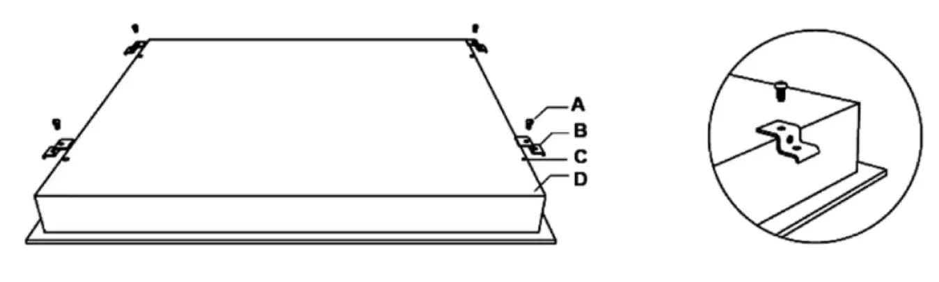
Fix the hob on the work surface by screw two brackets on the left side and two brackets on the right side of hob (see below picture) after installation.
| A | B | C | D |
| screw | bracket | Screw hole | base |
Adjust the bracket position to suit for different work surface’s thickness. 
Cautions
- The ceramic cooker hob must be installed by qualified personnel or technicians. We have professionals at your service. Please never conduct the operation by yourself.
- The ceramic cooker hob shall not be mounted to cooling equipment, dishwashers and rotary dryers.
- The ceramic cooker hob shall be installed such that better heat radiation can be ensured to enhance its reliability.
- The wall and induced heating zone above the work surface shall withstand heat.
- To avoid any damage, the sandwich layer and adhesive must be resistant to heat.
- Do not use a steam cleaner.
Connecting the hob to the mains power supply
The power supply should be connected in compliance with the relevant standard, or a single-pole circuit breaker. The method of connection is shown below. 
- If the cable is damaged or needs replacing, this should be done by an after-sales technician using the proper tools, so as to avoid any accidents.
- If the appliance is being connected directly to the mains supply, an omnipolar circuit breaker must be installed with a minimum gap of 3mm between the contacts.
- The installer must ensure that the correct electrical connection has been made and that it complies with safety regulations.
- The cable must not be bent or compressed.
- The cable must be checked regularly and only replaced by a properly qualified person.
DISPOSAL: Do not dispose this product as unsorted municipal waste. Collection of such waste separately for special treatment is necessary.
This appliance is labeled in compliance with European directive 2012/19/EU for Waste Electrical and Electronic Equipment (WEEE). By ensuring that this appliance is disposed of correctly, you will help prevent any possible damage to the environment and to human health, which might otherwise be caused if it were disposed of in the wrong way.
The symbol on the product indicates that it may not be treated as normal household waste. It should be taken to a collection point for the recycling of electrical and electronic goods.
This appliance requires specialist waste disposal. For further information regarding the treatment, recover and recycling of this product please contact your local council, your household waste disposal service, or the shop where you purchased it.
For more detailed information about treatment, recovery and recycling of this product, please contact your local city office, your household waste disposal service or the shop where you purchased the product.




For Model CH90BF-AU, select a heat setting by touching the “-“ or “+” control. Then touch “-“ or “+” to adjust the heating stage.






































