Yale Smart Safe
Installation Instructions
Pour la version francaise voir US.YaleHome.com/Support
IESD100PG0 Smart Safe
- Download the Yale Access App Create an account
Tip: If you already use the August App, use the same username and password. - Unlock Safe Using Key
Open door and leave open until setup is complete.
Tip: When key is used to unlock, it must be used to lock. - Insert Batteries
Open the battery compartment and insert 4 AA batteries.
Reinstall the cover. - Add Safe to the Yale Access App
Set up Smart Safe Tap “Set up a device” from the app menu. When asked, scan the Yale QR code on the inside of your safe door. Tip: Once batteries are inserted, you have 10 minutes to complete this step. If your app doesn’t find the safe, press and hold (5 secs) the reset button on the inside of the safe door. - Create Entry Codes
Once added to the Yale Access App, you can create and delete entry codes or share app access by tapping the Guest icon in the bottom menu.

Set up Connect*
Note serial number located on back of Connect. Plug Connect into an INDOOR outlet within 10 feet of the Smart Safe.
Tip: For best connectivity, make sure that the Connect bridge is in the line of sight of the front of the safe.
*Connect WiFi Bridge included with select models
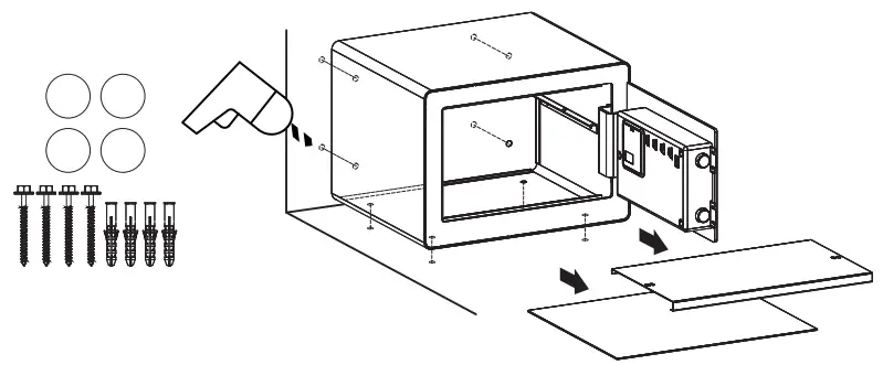
Mount Safe For Added Security (Optional)
There are 8 mounting hole locations on the Smart Safe. Use included mounting template for guidance to secure the safe to the wall, shelf or floor.
Tips:
- Use Phillips #2 screwdriver to tighten screws.
- To avoid scratching or damaging your floor, attach the included 4 rubber feet to the bottom of the safe with the 3M side against safe.

![]() | ![]() |
| Safe can always be opened with the key or with a 9V battery and valid code. | * When safe is paired to app, Factory Reset must be done from app. During a factory reset the safe will be unlocked. |

Settings Definitions
| Setting | Default | Definition |
| Privacy Mode | Off | While in Privacy Mode, the safe will not open even when a valid Entry Code is entered. This setting can be changed from the Yale Access App. |
| Inside Light | On This feature cannot be turned off. | The inside light will automatically turn on and stay on for 10 seconds when the safe door is opened. |
| One Touch Locking | On This setting cannot be turned off. | Touching any key on keypad will lock the safe. |
| Sound | On | The sound setting for entry code verification can be set from the Yale Access App. |
Warning: Changes or modifications to this device not expressly approved by Yale Home could void the user’s authority to operate the equipment.
FCC ID: 2ABFG IESD100PG0
FCC
This device complies with part 15 of the FCC Rules.
Operation is subject to the following two conditions:
- This device may not cause harmful interference, and
- this device must accept any interference received, including interference that may cause undesired operation.
Any changes or modifications (including the antennas) to this device that are not expressly approved by the manufacturer may void the user’s authority to operate the equipment.
Note : This equipment has been tested and found to comply with the limits for a Class B digital device, pursuant to part 15 of the FCC Rules. These limits are designed to provide reasonable protection against harmful interference in a residential installation This equipment generates, uses and can radiate radio frequency energy and, if not installed and used in accordance with the instructions, may cause harmful interference to radio communications, However, there is no guarantee that interference will not occur in a particular installation. If this equipment does cause harmful interference to radio or television reception, which can be determined by turning the equipment off and on, the user is encouraged to try to correct the interference by one or more of the following measures:
- Reorient or relocate the receiving antenna.
- Increase the separation between the equipment and receiver.
- Connect the equipment into an outlet on a circuit different from that to which the receiver is connected.
- Consult the dealer or an experienced radio/TV technician for help.
Modifications not expressly approved by the manufacturer could void your authority to operate the equipment under FCC rules.
Yale Home
24/7 Support 1-855-213-5841 • US.YaleHome.com
Yale® is a registered trademark of Yale Home. Use of the Works with Apple badge means that an accessory has been designed to work specifically with the technology identified in the badge and has been certified by the developer to meet Apple performance standards. Apple is not responsible for the operation of this device or its compliance with safety and regulatory standards. Other products’ brand names may be trademarks or registered trademarks of their respective owners and are mentioned for reference purposes only. © Copyright 2021. All rights reserved. Reproduction in whole or in part without the express written permission of Yale Home is prohibited.
YRSF-MD-MNL-0020 Rev B
Part of ASSA ABLOY
Tip: If you already use the August App, use the same username and password.
Open door and leave open until setup is complete.
Open the battery compartment and insert 4 AA batteries.
Once added to the Yale Access App, you can create and delete entry codes or share app access by tapping the Guest icon in the bottom menu.



















