
Remotec
AC/AV Master (800)
SKU: REMEZXT800

Quickstart
This is a
secure
Z-Wave Device
for
Europe.
To run this device please connect it to your mains power supply.
Important safety information
Please read this manual carefully. Failure to follow the recommendations in this manual may be dangerous or may violate the law.
The manufacturer, importer, distributor and seller shall not be liable for any loss or damage resulting from failure to comply with the instructions in this manual or any other material.
Use this equipment only for its intended purpose. Follow the disposal instructions.
Do not dispose of electronic equipment or batteries in a fire or near open heat sources.
What is Z-Wave?
Z-Wave is the international wireless protocol for communication in the Smart Home. This
device is suited for use in the region mentioned in the Quickstart section.
Z-Wave ensures a reliable communication by reconfirming every message (two-way
communication) and every mains powered node can act as a repeater for other nodes
(meshed network) in case the receiver is not in direct wireless range of the
transmitter.
This device and every other certified Z-Wave device can be used together with any other
certified Z-Wave device regardless of brand and origin as long as both are suited for the
same frequency range.
If a device supports secure communication it will communicate with other devices
secure as long as this device provides the same or a higher level of security.
Otherwise it will automatically turn into a lower level of security to maintain
backward compatibility.
For more information about Z-Wave technology, devices, white papers etc. please refer
to www.z-wave.info.
Product Description
Prepare for Installation / Reset
Please read the user manual before installing the product.
In order to include (add) a Z-Wave device to a network it must be in factory default
state. Please make sure to reset the device into factory default. You can do this by
performing an Exclusion operation as described below in the manual. Every Z-Wave
controller is able to perform this operation however it is recommended to use the primary
controller of the previous network to make sure the very device is excluded properly
from this network.
Reset to factory default
This device also allows to be reset without any involvement of a Z-Wave controller. This
procedure should only be used when the primary controller is inoperable.
Press and keep holding “PROG” button not less than 10 seconds.
Safety Warning for Mains Powered Devices
ATTENTION: only authorized technicians under consideration of the country-specific
installation guidelines/norms may do works with mains power. Prior to the assembly of
the product, the voltage network has to be switched off and ensured against re-switching.
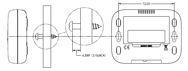
Installation
– USB power = always awake device (Always Listening mode)
Mounting:

Inclusion/Exclusion
On factory default the device does not belong to any Z-Wave network. The device needs
to be added to an existing wireless network to communicate with the devices of this network.
This process is called Inclusion.
Devices can also be removed from a network. This process is called Exclusion.
Both processes are initiated by the primary controller of the Z-Wave network. This
controller is turned into exclusion respective inclusion mode. Inclusion and Exclusion is
then performed doing a special manual action right on the device.
Inclusion
Exclusion
Press the “PROG” button once.
Product Usage

Setup IR Code:
There are two methods A) and B) to set up IR code:
If fail, red LED will flash TWICE.
• You can record down your Device Code for future reference after setting up the ZXT-800 correctly.
User can download “Conexum ZXT-800” App to implement Basic Search for AC and Smart Search for AV then setup the IR code. ZXT-800 supports AC×1 and AV×3 devices storage memory. Once your IR code setup completed, user should add ZXT-800 into the Z-Wave network then control it directly. Please make sure Z-Wave gateway support AV control interface when you setup AV control.
Setup IR Code by ZXT-800 App (AC+AV)
1. Please install “Conexum ZXT-800” App, turn on the “Bluetooth” and “GPS”, “WiFi / 4G” on the Smart phone. The App is available in Google Play & Apple App Store.
2. Pair with ZXT-800 by Smart Phone BLE
Quick trouble shooting
Here are a few hints for network installation if things dont work as expected.
- Make sure a device is in factory reset state before including. In doubt exclude before include.
- If inclusion still fails, check if both devices use the same frequency.
- Remove all dead devices from associations. Otherwise you will see severe delays.
- Never use sleeping battery devices without a central controller.
- Dont poll FLIRS devices.
- Make sure to have enough mains powered device to benefit from the meshing
Association – one device controls an other device
Z-Wave devices control other Z-Wave devices. The relationship between one device
controlling another device is called association. In order to control a different
device, the controlling device needs to maintain a list of devices that will receive
controlling commands. These lists are called association groups and they are always
related to certain events (e.g. button pressed, sensor triggers, …). In case
the event happens all devices stored in the respective association group will
receive the same wireless command wireless command, typically a ‘Basic Set’ Command.
Association Groups:
Group NumberMaximum NodesDescription
| 1 | 1 | Lifeline |
Configuration Parameters
Z-Wave products are supposed to work out of the box after inclusion, however
certain configuration can adapt the function better to user needs or unlock further
enhanced features.
IMPORTANT: Controllers may only allow configuring
signed values. In order to set values in the range 128 … 255 the value sent in
the application shall be the desired value minus 256. For example: To set a
parameter to 200 it may be needed to set a value of 200 minus 256 = minus 56.
In case of a two byte value the same logic applies: Values greater than 32768 may
needed to be given as negative values too.
Parameter 25: Learn IR Code AC
Learn IR Code, refer to learning mapping table
Size: 1 Byte, Default Value: 0
SettingDescription
| 0 – 32 | Storage Location |
Parameter 26: Learn IR Code AV
Size: 1 Byte, Default Value: 0
SettingDescription
| 0 – 40 | Storage location |
Parameter 27: Set IR Code Number from built-in code library
Size: 2 Byte, Default Value: 0000
SettingDescription
| 0 – 65535 | IR Code Number |
| 0000 | Learning code number |
Parameter 28: External IR Emitter power level
Size: 1 Byte, Default Value: 255
SettingDescription
| 0 | normal power mode |
| 255 | high power mode |
Parameter 30: Set Auto Report condition Trigger by Room Temperature change
Auto report if room temperature is different from last report.
Size: 1 Byte, Default Value: 0
SettingDescription
| 0 | Disable |
| 1 | 1F (0.5C) |
| 2 | 2F (1C) |
| 3 | 3F (1.5C) |
| 4 | 4F (2C) |
| 5 | 5F (2.5C) |
| 6 | 6F (3C) |
| 7 | 7F (3.5C) |
| 8 | 8F (4C) |
Parameter 32: Set built-in IR Emitter Control
If there have two or more Air Conditioners with the same code set that are used in the same room, user can disable the built-in IR emitter and use the external IR emitter cable to control each air conditioner
Size: 1 Byte, Default Value: 255
SettingDescription
| 0 | Disable |
| 255 | Enable |
Parameter 33: Control AC SWING function
Size: 1 Byte, Default Value: 1
SettingDescription
| 0 | Swing OFF |
| 1 | Swing Auto |
Parameter 34: Temperature and Humidity Auto Report
Size: 1 Byte, Default Value: 8
SettingDescription
| 0 | Disable |
| 1 | 15 minutes |
| 2 | 30 minutes |
| 3 | 1 Hour |
| 4 | 2 Hour |
| 5 | 3 Hour |
| 6 | 4 Hour |
Parameter 37: Calibrate Temperature reading
Size: 1 Byte, Default Value: 0
SettingDescription
| 0 – 10 | Positive range 0° – 5°C |
| 255 – 246 | Negativ range -0,5° – – 5° |
Parameter 38: Select AV endpoint
Size: 1 Byte, Default Value: 2
SettingDescription
| 2 | end point 2 (AV1) |
| 3 | end point 3 (AV2) |
| 4 | end point 4 (AV3) |
Parameter 53: Calibrate humidity reading
Size: 1 Byte, Default Value: 0
SettingDescription
| 0 | % |
| 1 – 30 | 1% to 30% |
| 255 – 226 | -1% to -30% |
Parameter 60: Trigger BLE advertising
Size: 1 Byte, Default Value: 0
SettingDescription
| 0 | Disable BLE advertising |
| 255 | Enable BLE advertising |
Parameter 61: BLE advertising option
Size: 1 Byte, Default Value: 0
SettingDescription
| 0 | advertises for 10 minutes then stop |
| 1 | keep advertising, it is suitable for USB supply power |
Parameter 160: Device reset to default
Size: 1 Byte, Default Value: 0
SettingDescription
| 255 | Reset |
Technical Data
| Dimensions | 85 x 69 x 25 mm |
| Weight | 68 gr |
| Hardware Platform | ZG23 |
| EAN | 4896628184927 |
| IP Class | IP 20 |
| Voltage | 5V |
| Battery Type | 3 * AAA |
| Firmware Version | 00.20 |
| Z-Wave Version | 07.10 |
| Z-Wave Product Id | 5254.0004.8492 |
| Frequency | Europe – 868,4 Mhz |
| Maximum transmission power | 5 mW |
Supported Command Classes
- Basic
- Application Status
- Sensor Multilevel
- Thermostat Mode
- Thermostat Setpoint
- Thermostat Fan Mode
- Transport Service
- Association Grp Info
- Device Reset Locally
- Zwaveplus Info
- Multi Channel
- Supervision
- Configuration
- Manufacturer Specific
- Powerlevel
- Firmware Update Md
- Association
- Version
- Indicator
- Multi Channel Association
- Simple Av Control
- Security
- Security 2
Explanation of Z-Wave specific terms
- Controller — is a Z-Wave device with capabilities to manage the network.
Controllers are typically Gateways,Remote Controls or battery operated wall controllers. - Slave — is a Z-Wave device without capabilities to manage the network.
Slaves can be sensors, actuators and even remote controls. - Primary Controller — is the central organizer of the network. It must be
a controller. There can be only one primary controller in a Z-Wave network. - Inclusion — is the process of adding new Z-Wave devices into a network.
- Exclusion — is the process of removing Z-Wave devices from the network.
- Association — is a control relationship between a controlling device and
a controlled device. - Wakeup Notification — is a special wireless message issued by a Z-Wave
device to announces that is able to communicate. - Node Information Frame — is a special wireless message issued by a
Z-Wave device to announce its capabilities and functions.






















