
Remotec
AC MASTER
SKU: REMEZXT600



Quickstart
This is a
secure
HVAC-Thermostat
for
Europe.
To run this device please insert fresh 2 * AA LR6 batteries.
Please make sure the internal battery is fully charged.
1. Refer to your primary controller to enter into the Inclusion Mode or Exclusion Mode
2. When it is prompted to enter it, please triple click the PROG button within 1 second.
3. Green Indicator flashes TWICE then stay off
Important safety information
Please read this manual carefully. Failure to follow the recommendations in this manual may be dangerous or may violate the law.
The manufacturer, importer, distributor and seller shall not be liable for any loss or damage resulting from failure to comply with the instructions in this manual or any other material.
Use this equipment only for its intended purpose. Follow the disposal instructions.
Do not dispose of electronic equipment or batteries in a fire or near open heat sources.
What is Z-Wave?
Z-Wave is the international wireless protocol for communication in the Smart Home. This
device is suited for use in the region mentioned in the Quickstart section.
Z-Wave ensures a reliable communication by reconfirming every message (two-way
communication) and every mains powered node can act as a repeater for other nodes
(meshed network) in case the receiver is not in direct wireless range of the
transmitter.
This device and every other certified Z-Wave device can be used together with any other
certified Z-Wave device regardless of brand and origin as long as both are suited for the
same frequency range.
If a device supports secure communication it will communicate with other devices
secure as long as this device provides the same or a higher level of security.
Otherwise it will automatically turn into a lower level of security to maintain
backward compatibility.
For more information about Z-Wave technology, devices, white papers etc. please refer
to www.z-wave.info.
Product Description
ZXT-600 AC Master is a Z-Wave plus certified IR Bridge for split air conditioner control by receiving Z-Wave command and translating to Infrared command and flawlessly work with any Z-Wave compliant gateway.With its over 250 brands built-in code library and ever-green up to date cloud IR database supporting advanced code learning search, ZXT-600 can easily set up and smart control most of AC brands and models actively worldwide by Z-Wave gateway.The battery powered device will allow you to mount it anywhere you want such as wall, ceiling or put it on table and never compromise on the form factor. By supporting OTA function, gateway can enable ZXT-600 to update firmware if newest available.
Prepare for Installation / Reset
Please read the user manual before installing the product.
In order to include (add) a Z-Wave device to a network it must be in factory default
state. Please make sure to reset the device into factory default. You can do this by
performing an Exclusion operation as described below in the manual. Every Z-Wave
controller is able to perform this operation however it is recommended to use the primary
controller of the previous network to make sure the very device is excluded properly
from this network.
Reset to factory default
This device also allows to be reset without any involvement of a Z-Wave controller. This
procedure should only be used when the primary controller is inoperable.
Press and Hold PROG button for 3 seconds on AC Master, the Green Indicator will light up. DO NOT Release the PROG Button until Green Indicator flashes TWICE.
Remark : Please use this procedure only when the network primary controller is missing or otherwise inoperable.
Safety Warning for Batteries
The product contains batteries. Please remove the batteries when the device is not used.
Do not mix batteries of different charging level or different brands.
Installation
Apply Power to ZXT-600
– 2x AA batteries or micro USB “• ZXT-600 will detect the first applied power source to decide what Z-Wave device role it will be in after included into the Z-Wave gateway: battery= sleeping device (FLiRS mode). USB power = always awake device (Always Listening mode), refer to Z-Wave Glossary for more information.
– Once the ZXT-600 is included into a Z-Wave network, the working mode (sleeping or awake) cannot be changed, unless it is excluded and re-apply the power.
– ZXT-600 can be included and operated in any Z-Wave network with other Z-Wave certified devices from other manufacturers and/or other applications. All non-battery operated nodes within the network will act as repeaters regardless of Vendor to increase reliability of the network.

Mounting Location Tips
The ZXT-600 should be mounted on an inner wall about 5ft (1.5m) above the floor where it is readily affected by changes of the general room temperature with freely circulating air.
Before mounting, check the material and structure of the mounting location. If the location does not have the proper material or structure, the ZXT-600 can fall and cause an injury.
Avoid mounting above or near hot surfaces or equipment (e.g. TV, Heater, Refrigerator). Avoid mounting where it will be exposed to direct sunshine, drafts, or in a laundry room or other enclosed space.
Better to mount your device where it has no any obstacle or blocked object between the device and your AC Appliance.
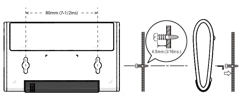
Mounting the ZXT-600
– Position ZXT-600 on wall, level and mark hole positions with pencil.
– Drill holes at marked positions, then tap in supplied wall anchors.
– Insert and tighten mounting screws as below figure

Inclusion/Exclusion
On factory default the device does not belong to any Z-Wave network. The device needs
to be added to an existing wireless network to communicate with the devices of this network.
This process is called Inclusion.
Devices can also be removed from a network. This process is called Exclusion.
Both processes are initiated by the primary controller of the Z-Wave network. This
controller is turned into exclusion respective inclusion mode. Inclusion and Exclusion is
then performed doing a special manual action right on the device.
Inclusion
When it is prompted to enter it, please triple click the PROG button within 1 second. Green Indicator flashes TWICE then stay off
Exclusion
When it is prompted to enter it, please triple click the PROG button within 1 second. Green Indicator flashes TWICE then stay off
Product Usage
IR Code Learning
1. Refer to your primary controller user manual, enter to the browser page that can input the Configuration parameter
2. Look up Below mapping table for learning, and decide the IR setting you intend to learn next.
3. Open the Gateway”’s Configuration Brower page input parameter number ““25″” and parameter value (according to below Mapping Table), then complete the Configuration process.
Then Green Indicator still turns ON for indicating the IR Code Learning Start
4. Aim the Original Air Conditioner Remote at AC Master according to below position within 1-3cm Press ““Power ON”“ button on the Original Air Conditioner Remote. If the Learning is failed, repeat Step 3 to step 4 To learn next IR code, repeat Step 2 to step 4.
Successful: Green Indicator flashes TWICE Unsuccessful: Red Indicator flashes TWICE.
5. Once you finished the IR Code Learning, please go to Configuration setting page on the Gateway browser and input parameter number ““27″” and parameter value ““000″” to select the dedicated AC code number ““000″” for learning.
Green Indicator flashes ONCE ever y time if receives a command from Gateway

Tips:
– Make sure your Original Remote is in Power OFF Status.
– Make sure your Original Remote set FAN Speed to AUTO and FAN SWING to AUTO/ON
– Press and Hold the Power Key on Original Remote UNTIL AC Master indicate Successful or Not.
– User need at least Learn the OFF (Parameter Value 0), and one Temperature Mode (Parameter Value 2 ~ 28) to complete the usage model.
– Keep away from Incandescent Light or Direct Sunlight during learning.
– Make sure IR Transmitter of your Original Remote alight with learning diode of AC Master, you may also slight adjust closer or further away the distance of two devices. Some of Remotes the IR transmitter in hidden behind lens and may not installed center of remote.
– Make sure the power is good on both devices, especially the Original remote. Use Fresh Batteries in both devices recommended.
IR Learning Mapping Table can you find in the Installation Guide by the product
Communication to a Sleeping device (Wakeup)
This device is battery operated and turned into deep sleep state most of the time
to save battery life time. Communication with the device is limited. In order to
communicate with the device, a static controller C is needed in the network.
This controller will maintain a mailbox for the battery operated devices and store
commands that can not be received during deep sleep state. Without such a controller,
communication may become impossible and/or the battery life time is significantly
decreased.
This device will wakeup regularly and announce the wakeup
state by sending out a so called Wakeup Notification. The controller can then
empty the mailbox. Therefore, the device needs to be configured with the desired
wakeup interval and the node ID of the controller. If the device was included by
a static controller this controller will usually perform all necessary
configurations. The wakeup interval is a tradeoff between maximal battery
life time and the desired responses of the device. To wakeup the device please perform
the following action:
Press the “PROG” button to wakeup the unit
Quick trouble shooting
Here are a few hints for network installation if things dont work as expected.
- Make sure a device is in factory reset state before including. In doubt exclude before include.
- If inclusion still fails, check if both devices use the same frequency.
- Remove all dead devices from associations. Otherwise you will see severe delays.
- Never use sleeping battery devices without a central controller.
- Dont poll FLIRS devices.
- Make sure to have enough mains powered device to benefit from the meshing
Association – one device controls an other device
Z-Wave devices control other Z-Wave devices. The relationship between one device
controlling another device is called association. In order to control a different
device, the controlling device needs to maintain a list of devices that will receive
controlling commands. These lists are called association groups and they are always
related to certain events (e.g. button pressed, sensor triggers, …). In case
the event happens all devices stored in the respective association group will
receive the same wireless command wireless command, typically a ‘Basic Set’ Command.
Association Groups:
Group NumberMaximum NodesDescription
| 1 | 1 | Z-Wave Plus Lifeline |
Configuration Parameters
Z-Wave products are supposed to work out of the box after inclusion, however
certain configuration can adapt the function better to user needs or unlock further
enhanced features.
IMPORTANT: Controllers may only allow configuring
signed values. In order to set values in the range 128 … 255 the value sent in
the application shall be the desired value minus 256. For example: To set a
parameter to 200 it may be needed to set a value of 200 minus 256 = minus 56.
In case of a two byte value the same logic applies: Values greater than 32768 may
needed to be given as negative values too.
Parameter 25: Learn IR Code
Learn IR Code, refer to learning mapping table
Size: 2 Byte, Default Value: 0
SettingDescription
| 0 – 32 | Storage Location |
Parameter 26: Check IR Code Learning Status (Read only)
Size: 1 Byte, Default Value: 0
SettingDescription
| 0 | Idle – IR Channel is idle |
| 1 | OK – the last learning operation was completed successfully |
| 2 | Learning – ZXT-600 is busy processing previous learning request |
| 3 | Full “– All locations are being used. |
| 4 | The last learning request was failed Note:The status value 0x01 and 0x04 will be reset to 0x00 after ZXT-600 receives a get command to this parameter. |
Parameter 27: Set IR Code Number from built-in code library
Refer to Code Finder Webpage
Size: 2 Byte, Default Value: 857
SettingDescription
| 0 – 65535 | IR Code Number |
Parameter 30: Set Auto Report condition Trigger by Room Temperature change
Auto report if room temperature is different from last report.
Size: 1 Byte, Default Value: 0
SettingDescription
| 0 | Disable |
| 1 | 1F (0.5C) |
| 2 | 2F (1C) |
| 3 | 3F (1.5C) |
| 4 | 4F (2C) |
| 5 | 5F (2.5C) |
| 6 | 6F (3C) |
| 7 | 7F (3.5C) |
| 8 | 8F (4C) |
Parameter 32: Set built-in IR Emitter Control
If there have two or more Air Conditioners with the same code set that are used in the same room, user can disable the built-in IR emitter and use the external IR emitter cable to control each air conditioner
Size: 1 Byte, Default Value: 255
SettingDescription
| 0 | Disable |
| 255 | Enable |
Parameter 33: Control AC SWING function
Size: 1 Byte, Default Value: 1
SettingDescription
| 0 | Swing OFF |
| 1 | Swing Auto |
| 0 | Swing OFF |
| 1 | Swing Auto |
Parameter 34: Set Auto Report Condition by Time Interval
Size: 1 Byte, Default Value: 8
SettingDescription
| 0 | Disable |
| 1 – 8 | Auto report by the following time interval in Hrs |
Parameter 37: Calibrate Temperature reading
Size: 1 Byte, Default Value: 0
SettingDescription
| 0 – 5 | Positive range 0″° – 5″°C |
| 251 – 255 | Negative Range – 1″°C – -5″°C |
Technical Data
| Dimensions | 128x78x22 mm |
| Weight | 84 gr |
| Hardware Platform | ZM5202 |
| EAN | 4896628184903 |
| IP Class | IP 20 |
| Voltage | 5 V |
| Battery Type | 2 * AA LR6 |
| Device Type | Thermostat – HVAC |
| Network Operation | Listening Sleeping Slave |
| Z-Wave Version | 6.61.00 |
| Certification ID | ZC10-17085735 |
| Z-Wave Product Id | 0x5254.0x0101.0x8490 |
| Sensors | Air Temperature |
| Color | White |
| Thermostat HVAC Systems Supported | |
| Firmware Updatable | Updatable by Consumer by RF |
| Thermostat Modes | AutoAwayCoolDry AirFan OnlyHeatResume |
| Frequency | Europe – 868,4 Mhz |
| Maximum transmission power | 5 mW |
Supported Command Classes
- Application Status
- Association Grp Info V3
- Association V2
- Basic
- Battery
- Configuration V2
- Device Reset Locally
- Firmware Update Md V3
- Manufacturer Specific V2
- Powerlevel
- Security
- Sensor Multilevel V7
- Thermostat Fan Mode V4
- Thermostat Mode V3
- Thermostat Setpoint V3
- Version V2
- Zwaveplus Info V2
Explanation of Z-Wave specific terms
- Controller — is a Z-Wave device with capabilities to manage the network.
Controllers are typically Gateways,Remote Controls or battery operated wall controllers. - Slave — is a Z-Wave device without capabilities to manage the network.
Slaves can be sensors, actuators and even remote controls. - Primary Controller — is the central organizer of the network. It must be
a controller. There can be only one primary controller in a Z-Wave network. - Inclusion — is the process of adding new Z-Wave devices into a network.
- Exclusion — is the process of removing Z-Wave devices from the network.
- Association — is a control relationship between a controlling device and
a controlled device. - Wakeup Notification — is a special wireless message issued by a Z-Wave
device to announces that is able to communicate. - Node Information Frame — is a special wireless message issued by a
Z-Wave device to announce its capabilities and functions.




















