MOVO MV-100-2 Mobility Scooter Canopy

Product Information
The Movo Evolution Canopy MV-100-2 is a preassembled canopy for outdoor use. It comes with a 1-year limited warranty and is available in various arch shapes. The product requires assembly before use.
Product Usage Instructions
- Read and understand the instructions before attempting to install the canopy.
- Keep a copy of the original purchase receipt.
- If the product is defective within the warranty period, return the product along with the original purchase receipt to your authorized dealer for part replacement only. No return for refund or credit will be accepted. Movo Evolution does not cover the costs associated with returning the product.
- Do not use the product for any unauthorized usage.
- Follow the fabric maintenance instructions provided.
- Assemble the product using the provided components and tools.
- Congratulations! You have finished assembling your Movo Evolution MV-100 roof. Don’t forget to visit www.movoevolution.com for complementary accessories.
Short-seat (under 20-inch) scooter users should not install part 01-021 and 01- 022. Page 32 of the manual contains specific advice on installing the roof on this type of seat.

For more information, visit www.movoevolution.com and refer to the FAQ / assembly section for a full video that will walk you through the steps.

MOVO WARRANTY
CONDITIONS AND LIMITATIONS :
Movo Evolution Canopy MV-100-2
1- year LIMITED WARRANTY: Please read and understand the instructions before attempting to install your new Movo Evolution canopy.
Warrants to the first retail purchaser that the Movo canopy is free from defects in materials and workman- ship for one (1) year from the date of original purchase. This warranty does not apply to damages caused by strong winds or hail, improper installation, misuse, or neglect, use of abrasive or chemical cleaners, overexposure to UV rays, accidents, lack of maintenance, unsuitable environment such as chlorine, alterations or abuse. Although the material used is very resistant, it can tear during installation if not done correctly and Movo Evolution will not assume any responsibility for such installation. In addition, wear and fading resulting from normal use are excluded from this warranty, as well as discoloration caused by over exposure to UV rays as well as the appearance of white line in the clear plastic.
WARRANTY CLAIM PROCEDURE
- Keep a copy of the original purchase receipt.
- If the product is defective within the warranty period, return the product along with the original purchase receipt to your authorized dealer. All returns are for part replacement only. No return for refund or credit will be accepted. Movo Evolution does not cover the costs associated with returning the product.
UNAUTHORIZED USAGE
- Do not use in high winds, extreme rain, hail, and other unusual weather events.
- Do not use on an electric vehicle with a maximum speed exceeding 25km/h.
- Do not use on other types of vehicles other than four-wheel or three-wheel electric scooters.
- Do not use at sub-freezing temperatures, below zero degrees celsius.
- Do not repeatedly fold and un-fold at an ambient temperature of less than 7 degrees Celsius, as it becomes more rigid.
- This canopy is not a substitute for a protective storage canvas.
- For some scooter models, the mirrors may need to be “folded-in” to maintain optimum steering control, as the canopy was designed at a width no larger than the average doorframe.
- Never use the product if it creates blind spots while driving. If necessary, readjust the canopy and the position of the seat to reach full visibility.
- Do not use if the canopy obscures the vehicle’s lights or reflectors. The user is responsible for its vehicle’s visibility.
- Do not fold or unfold the canopy with one hand. Always use two hands and lift both sides at the same time.
The person performing the assembly is responsible for ensuring that the canopy installation is correct as defined in the user guide or in the assembly video on the manufacturer’s website. It is essential to follow the steps to the letter.
Movo Evolution is not responsible for any adjustments, modifications, breakage or lack of stability caused by a poor quality hitch, shallow, too thin or without an adequate tightening mechanism.
It is strongly recommended to use a hitch under the seat that’s at least 6 inches deep to maximize canopy support and stability.
It is normal for the mica to be wrinkled after the initial assembly. Wrinkles will become less noticeable over time and with use.
FABRIC MAINTENANCE
It is strongly advised to use the MOVO maintenance kit offered with the Canopy Purchase, offering products that will help maintain condition without risk of damaging the product.
Do not use caustic, granular, or abrasive cleaners.
To keep the fabric in good condition and to delay the need for a deep, vigorous clean, the user should gently clean the fabric monthly with clean water to help prevent dirt from settling deep in the fabric.
Use a soft brush and lukewarm water with an appropriate fabric cleaner, Air dry only.
Never apply heat to the fabric. Always allow the fabric to dry completely before folding and storing it.
Always test the detergent on an inconspicuous area of the fabric before using it.
Mica may react to certain detergents. Always test the detergent on an inconspicuous area first.
movoevolution.com
Tool Required




Assembly
Adjust the seat to an adequate driving position.


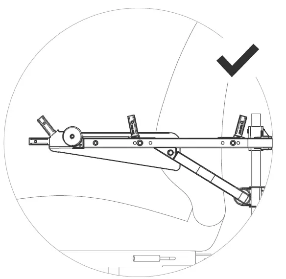
Slide 01-027 into the scooter’s hitch and secure it. Slide 01-020 over 01-027 and secure it. Make sure that the diagonal brace is facing the seat. 


Slide 01-023 onto 01-020. Orient the pivoting part so that the allen key holder faces always from the scooter. Slide 01-023 vertically and align it to the armrests.

Temporarily insert 99-001 to hold 01-023 in place while you tighten the two M5 x 10mm screws. Once the screws are secure, remove 99-001 before proceeding to the next step. 

Slide 01-022 into 01-021 then slide the assembly into 01-020. Make sure to push the plastic sleeve all the way down into 01-020. 

Adjust the height and angle of 01-021 so that 01-022 is pressing firmly near the top of the backrest. Do not press 01-022 against the headrest. Use three 99-001 pins to lock everything into position.




So far, 01-022 should be pressing against the backrest and 01-023 should be secured to the armrests using the 99-002 straps.

Refer to this diagram for the identification of the arches.

Slide arch 1 over the rear seals of 01-023 and make sure the zipper is facing the rear of the scooter. Assemble with two (2) M5 x 10mm screws. 

Slide arch 4 over the forward- most joints of 01-023 and make sure the zipper faces the floor and the MOVO logo is right side up. Assemble with two (2) M5 x 10mm screws.

Slide arch 3 over the diagonal joints of 01-023 and make sure the zipper is facing the rear of the scooter. Assemble with two (2) M5 x 10mm screws.

Before continuing, review the last few pages and make sure the zippers are oriented correctly. Then make sure that the head of the zippers are in the places indicated by a circle.

Unfold and lay the canvas on the roof frame. Make sure the gray textile part is facing the back and the transparent mica is on the front.

From inside the canvas, line up the zippers and slide them gently in the order shown below.

Locate the 3 snaps on each side of the canvas. Start by threading the hook at the back, then push in the two snaps. Repeat on the other side.

Lift the front section of the roof with a brisk motion, placing one hand under the front arch and one hand on the rear arch for more control.

The roof should be parallel to the ground and stable when driving.
(Users of short-seat scooters should refer to page 32 only)

Important for users of short-seat scooters. Without removing pins 99-001, unscrew the two M5 screws 01-023. Lift the lower tube with force and bring it as close as possible to the upper tube which is at the level of the armrests. Screw firmly in place.


Loosen the hitch and push 01-027 towards the front of the scooter. This will ensure that 01-022 will be better pressed against the backrest. Tighten.


Congratulations! You have finished assembling your Movo Evolution MV-100 roof. Don’t forget to visit www.movoevolution.com for complemental accessories.

















