USER MANUAL
IN 22143 E-scooter W-TEC Dalfin
SAFETY INSTRUCTIONS
- The scooter is designed to carry one person at the same time.
- Wear a helmet and other protective equipment, incl. proper boots.
- Do not ride on dangerous or ineligible roads.
- Before the first ride, try to control the scooter in the open spaces. If you are not sure, ask a more experienced person for advice.
- Avoid dangerous maneuvers or one-hand steering while riding.
- When riding, keep both feet on the footboard.
- Do not drive directly over an obstacle higher than 3 cm, otherwise, you can lose balance and cause yourself injury or damage to the product.
- On uneven or bumpy roads, slow down and ride with caution. Do not endanger yourself or others by careless riding.
- Before riding, it is necessary to set the correct handlebar height for your safety.
- Do not ride into the water, oil or on frozen surfaces.
- Do not immerse the scooter in water. The battery or motor will be destroyed.
- If possible, do not ride in poor weather conditions. Be extra cautious during the dark.
- Always make sure that you do not violate local regulations and laws before using the product.
The use of these and similar devices is not permitted everywhere. If in doubt, contact your local authorities. - Check that all parts are well assembled and the screws are not loosened. Ex. tighten them or contact a service center.
- Unauthorized modifications or maintenance will reduce the safety of the equipment.
- Improper use can lead to serious (fatal) injury or damage.
- Check the product regularly for wear. Replace worn parts immediately.
- Do not use a damaged product. Do not use the product if sharp edges appear.
- Follow the manual for maintenance and use. Do not disassemble the device yourself.
- Check the battery level before riding. If it is not fully charged, do not start riding.
- The device is for personal use only. Commercial use is not allowed.
- Be careful while riding. Never ride after drinking alcohol or under the influence of drugs. Do not carry anything on the device.
- Always keep the speed under control and be careful. Keep good vision around the area. Do not exceed speed or weight limits to avoid injury.
- Keep your feet relaxed and your knees slightly bent when riding on an uneven surface.
- In the event of an accident, do not leave and wait for assistance.
- When riding in a group, keep a sufficient distance to avoid a collision.
- Remember that your current height is greater when standing on the scooter than without it. Try to keep your balance and avoid too narrow places.
- Other activities (phoning, listening to music) can significantly reduce your riding attention. Don’t be distracted.
- Check the condition of the tires regularly. Replace worn out immediately.
- The breaks are hot after use, do not touch them with bare skin.
- Do not speed when riding down the hill. The braking distance is longer and you can lose control of the scooter.
- Weight limit: 100 kg
PRODUCT DESCRIPTION

| 1. Accelerator 2. Control panel 3. Horn 4. USB 5. Charging port 6. ON / OFF button for synchronization 7. Mechanism for deck removal | 8. Deck 9. Braking lights 10. Breaking disc 11. Motor 12. Front light 13. Breaking lever 14. Folding mechanism |
ACCESSORIES

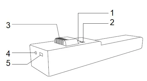
BATTERY DESCRIPTION
Battery status- 5V out switch
- Connector
- Charging port
- USB port
BATTERY REMOVAL

CONTROL PANEL

| 1. Speed unit km/h 2. Speed unit mile/h 3. Fault 4. Signal 5. Control panel battery 6. Temperature 7. Speed modes 8. Speed mode change | 9. Turn on/off button 10. Speed 11. Cruise control 12. Battery capacity 13. Light 14. Total distance 15. Light button |
You start the scooter with the on / off button. The scooter starts and enters standby mode.
Pairing the control panel and the scooter: After starting the scooter, press the ON / OFF button for synchronization to pair on the scooter and control panel for 6 seconds, and then press the buttons to change the mode 8 and lights 15 at the same time.
Changing speed units: The control panel must be switched off, press the mode change button 8 and then hold on / off 9 until the control panel turns on, then use the light button 15 to select km/h or miles/h.

Lights: To turn the lights on / off, press button 15, icon 13 is displayed.
Cruise control: To start cruise control, maintain a constant speed, 2 sound signals will sound within 5 seconds, then icon 11 will appear on the display and then you can release the accelerator. Press the accelerator or brake to turn off cruise control.
Overheating: If the 6 icons is displayed, the scooter is overheated, and you need to wait for it to cool down, after cooling down, the icon will disappear.
Fault: If icon 3 is displayed, contact service.
If the scooter is not used for 1 minute, the control panel switches to power saving mode, the scooter switches off after 5 minutes of inactivity. The control panel turns off after 10 minutes when the lights are on.
ASSEMBLY
Use a folding mechanism to unfold the handlebar and then attach the handlebars

ADJUSTMENTS
BRAKE ADJUSTMENT
Tight brake: If the brake is too tight, release the M5 hex bolt counterclockwise and release the braking cable. (make the braking cable end shorter)
Loose brake: If the brake is too loose, release the M5 hex bolt counterclockwise and tighten the braking cable. (make the braking cable end longer)

HANDLEBAR
If the handlebar is loose, use an M5 hex wrench to tighten the bolts on the folding mechanism.
BEFORE RIDING
Before riding, check the following:
- The functionality of front and rear brakes, lights, movement and will of the handlebars, etc.
- Brakes, check the condition of the pads, disc, brake cable, etc.
- Make sure that all bolts are properly tightened.
- Check for proper tire pressure (45 psi) and condition.
- Always wear personal protective equipment (helmet, protectors, etc.)
- Beginners and older people must check the speed mode, always use the slow (ECO) driving mode.
- Set the correct handlebar height.
- Make sure that the handlebars and the folding mechanism are properly secured.
- Check the battery status.
FOLDING AND TRANSPORT
To fold, release the scooter’s quick-release mechanism and hook the handlebar into the rear fender.
Then you can easily carry the scooter.


CHARGING
Open the charging port and insert the charging adapter. After charging up the scooter, remove the adapter and close the charging port.

BATTERY
6-month battery warranty – we guarantee that the battery’s nominal capacity does not fall below 70% of its total capacity within 6 months of the product’s sale.
For proper operation and safe use of the battery, follow the instructions in the manual. Stop using the battery immediately if the battery is damaged, leaks liquid or you smell the abnormal odor.
- Battery lifespan is limited. If you use a battery that exceeds normal lifespan, the charging frequency may increase, and the scooter range will be reduced.
- Do not open or throw the battery in a fire. Do not insert foreign objects into the battery.
- Do not touch the battery with metal objects. The battery may explode or be damaged.
- Use only the original charger.
- Follow local regulations and laws while driving.
- You can charge the battery continuously.
- The ideal battery charging temperature is +10 ° C to +30 ° C.
- If you use the battery for an extended period, its temperature will be higher. This is a normal battery condition.
- If you use the battery in a cold environment, the range is lower.
- Do not repair or modify the battery yourself.
USE
- Before use, make sure that all parts are properly assembled, tightened and not damaged.
- Check the brakes.
- Check that the folding mechanism is properly locked.
- Make sure the battery is properly charged.
- Make sure the tires are in good condition.
- Check the handlebar. It must be properly tightened.
- Get to know the surroundings, make sure that you do not endanger yourself and your surroundings.
- Do not drive on slippery surfaces.
- Wear personal protective equipment including a helmet and a sturdy shoe.
- Do not use if outdoor conditions are poor.
- Moisture reduces braking efficiency.
RIDING TECHNIQUE
- Know the scooter before first use and test your ability to control this product.
- Turn continuously and brake safely having enough free space.
- Practice your first ride in an open area without obstacles.
- Never let distract your mind during riding.
Foot position – put your foot on the board as close to the front part as possible. Let your other foot on the ground. Make sure the route is clean and free. To start riding, push yourself forwards (like on a non-motorized scooter). Push off with the foot that is on the ground. Immediately after pressing the throttle downwards, tilt your body forwards as a prevention from falling back while increasing your speed. Avoid excessive body pressing on the handlebars during speed changing. One foot is in the front and the second one is back. It is comfortable to place the feet like on a skateboard for optimal stability.
NOTE: Riding on a scooter can be dangerous. You use the product on your own responsibility and be familiar with all the safety precautions before riding.
Turning – it is the same as on a surf or snowboard. The handlebar should be parallel to the body.
Before turning look at the approaching direction to be sure the operation is safe.
Braking – shift your weight backward so that the braking is realized through your feet and not through the handlebar and steering system. Learn well to adjust the gravity center during stopping to avoid turning over or excessive wearing of the braking and steering system
CLEANING AND MAINTENANCE
- The scooter must be switched off, disconnected from the charger and the charging port must be covered before cleaning or maintenance.
- Clean the scooter with a damp cloth and a mild detergent.
- Do not use solvents or other aggressive cleaning agents.
- Keep the water out of the charging port.
- Never immerse the scooter.
- Do not use high-pressure cleaners.
- If the tire pressure is low, inflate it to:
- If you need to replace tires / inner tubes, please contact your specialist dealer or manufacturer.
- You can adjust the brake stiffness by loosening the M5 screw. Loosen the screw to the right, tighten it to the left.
- Check the function and condition of the brakes.
- Tighten or loosen the brake cable as required.
- Check worn parts.
STORAGE
- Store in a dry and shady place.
- Avoid storage if the room temperature exceeds 50 ° C.
- Charge the battery at least once a month. Battery life is lower in cold conditions.
TECHNICAL SPECIFICATION
| Dimensions | dxt xv (cm) – Unfolded | 118 x 42,5 x 122 |
| dxt xv (cm) – Folded | 118 x 42,5 x 47,5 | |
| Weight | kg | 16,9 |
| Max. weight limit | kg | 100 |
| Age | 16 – 50 | |
| Height | cm | 120 – 200 |
| Drive properties | Max. speed (km/h) | 25 |
| Max. slope (%) | 15 – 20 | |
| Surface | solid paths, paths with obstacles smaller than 1 cm, do not dive/cross water deeper than 3 cm | |
| Operating temperature | -10 – 40 | |
| Storage temperature | -20 – 45 | |
| Water resistance | IP54 | |
| Battery | Rated voltage (V) | 36 |
| Max. charging voltage (V) | 42 | |
| Rated power (Wh) | 360 |
| Motor parameters | Rated power (W) | 350 |
| Maximum power (W) | 600 | |
| Charger | Rated power (W) | 84 |
| Rated input voltage | 100 — 240 | |
| Rated output voltage (V) | 42 | |
| Rated current (A) | 2 | |
| Certification | CERoHs UL FCC | |
| Control panel | Battery capacity (Ah) | 1 |
| Charging current (A) | 1 | |
| Charging time (Hod.) | 2 | |
| Light (W) | 1,2 |
ENVIRONMENT PROTECTION
After the product lifespan expired or if the possible repairing is uneconomic, dispose of it according to the local laws and environmentally friendly in the nearest scrapyard.
By proper disposal, you will protect the environment and natural sources. Moreover, you can help protect human health. If you are not sure about incorrect disposing of, ask local authorities to avoid law violation or sanctions.
Don’t put the batteries among house waste but hand them into the recycling place.
TERMS AND CONDITIONS OF WARRANTY, WARRANTY CLAIMS
General Conditions of Warranty and Definition of Terms
All Warranty Conditions stated hereunder determine Warranty Coverage and Warranty Claim Procedure. Conditions of Warranty and Warranty Claims are governed by Act No. 89/2012 Coll. Civil Code, and Act No. 634/1992 Coll., Consumer Protection, as amended, also in cases that are not specified by these Warranty rules.
The seller is SEVEN SPORT s.r.o. with its registered office in Strakonická street 1151/2c, Prague 150 00, Company Registration Number: 26847264, registered in the Trade Register at Regional Court in Prague, Section C, Insert No. 116888.
According to valid legal regulations, it depends whether the Buyer is the End Customer or not.
“The Buyer who is the End Customer” or simply the “End Customer” is the legal entity that does not conclude and execute the Contract in order to run or promote his own trade or business activities.
“The Buyer who is not the End Customer” is a Businessman that buys Goods or uses services for the purpose of using the Goods or services for his own business activities. The Buyer confirms to the General Purchase Agreement and business conditions.
These Conditions of Warranty and Warranty Claims are an integral part of every Purchase Agreement made between the Seller and the Buyer. All Warranty Conditions are valid and binding unless otherwise specified in the Purchase Agreement, in the Amendment to this Contract or in another written agreement.
Warranty Conditions
Warranty Period
The Seller provides the Buyer a 24 months Warranty for Goods Quality unless otherwise specified in the Certificate of Warranty, Invoice, Bill of Delivery or other documents related to the Goods. The legal warranty period provided to the Consumer is not affected.
By the Warranty for Goods Quality, the Seller guarantees that the delivered Goods shall be, for a certain period of time, suitable for regular or contracted use, and that the Goods shall maintain its regular or contracted features.
The Warranty does not cover defects resulting from (if applicable):
- User’s fault, i.e. product damage caused by unqualified repair work, improper assembly, insufficient insertion of seat post into the frame, insufficient tightening of pedals and cranks
- Improper maintenance
- Mechanical damages
- Regular use (e.g. wearing out of rubber and plastic parts, moving mechanisms, joints, wear of brake pads/blocks, chain, tires, cassette/multi-wheel etc.)
- The unavoidable event, natural disaster
- Adjustments made by an unqualified person
- Improper maintenance, improper placement, damages caused by low or high temperature, water, inappropriate pressure, shocks, intentional changes in design or construction etc.
Warranty Claim Procedure
The Buyer is obliged to check the goods delivered by the Seller immediately after taking the responsibility for the Goods and its damages, i.e. immediately after its delivery. The Buyer must check the Goods so that he discovers all the defects that can be discovered by such check.
When making a Warranty Claim the Buyer is obliged, on request of the Seller, to prove the purchase and validity of the claim by the Invoice or Bill of Delivery that includes the product’s serial number, or eventually by the documents without the serial number. If the Buyer does not prove the validity of the Warranty Claim by these documents, the Seller has the right to reject the Warranty Claim.
If the Buyer gives notice of a defect that is not covered by the Warranty (e.g. in the case that the Warranty Conditions were not fulfilled or in the case of reporting the defect by mistake etc.), the Seller is eligible to require compensation for all the costs arising from the repair. The cost shall be calculated according to the valid pricelist of services and transport costs. If the Seller finds out (by testing) that the product is not damaged, the Warranty Claim is not accepted.
The Seller reserves the right to claim compensation for costs arising from the false Warranty Claim.
In case the Buyer makes a claim about the Goods that is legally covered by the Warranty provided by the Seller, the Seller shall fix the reported defects by means of repair or by the exchange of the damaged part or product for a new one. Based on the agreement of the Buyer, the Seller has the right to exchange the defected Goods for fully compatible Goods of the same or better technical characteristics. The Seller is entitled to choose the form of the Warranty Claim Procedures described in this paragraph.
The Seller shall settle the Warranty Claim within 30 days after the delivery of the defective Goods unless a longer period has been agreed upon. The day when the repaired or exchanged Goods is handed over to the Buyer is considered to be the day of the Warranty Claim settlement. When the Seller is not able to settle the Warranty Claim within the agreed period due to the specific nature of the Goods defect, he and the Buyer shall make an agreement about an alternative solution. In case such an agreement is not made, the seller is obliged to provide the Buyer with financial compensation in the form of a refund.
CZ
SEVEN SPORT s.r.o.
Registered Office: Strakonická 1151/2c, Praha 5, 150 00, ČR
Headquaters:
Dělnická 957, Vítkov, 749 01
Warranty & Service: Čermenská 486, Vítkov 749 01
CRN: 26847264
VAT ID: CZ26847264
Phone: +420 556 300 970
E-mail: [email protected]
Battery status
BEFORE RIDING

















