RYOBI P29014 18 Volt Cordless Bug Zapper


- A – UV light button
- B – Area light button
- C – LED indicators
- D – Handle
- E – Bug tray

- A – Latches
- B – Battery pack
- C – Battery port

- A – Handle
- B – Hole
- C – Tab

- A – UV light button
- B – Area light button
- C – LED indicators

- Bug tray


- A – Upper housing
- B – Light bulb
- C – Base
IMPORTANT SAFETY INSTRUCTIONS
WARNING! Read all safety warnings, instructions, illustrations and specifications provided with this product. Failure to follow all instructions listed below may result in electric shock, fire and/or serious injury.
BUG ZAPPER USE AND CARE
- Disconnect the product from the power supply when not in use, before servicing, when changing bulbs, cleaning, and similar actions.
- Do not insert foreign objects into this product.
- Store products indoors when not in use – out of reach of children.
- Do not clean this product with a water spray or similar method.
- Do not permit children to use this product. It is not a toy.
- If wrapped or in contact with fabrics, the product’s light produces sufficient heat to melt some fabrics.
- This product is intended for household use only.
BATTERY TOOL USE AND CARE
- Know your product. Read operator’s manual carefully. Learn its applications and limitations, as well as the specific potential hazards related to this product. Following this rule will reduce the risk of electric shock, fire, or serious injury.
- Prevent unintentional starting. Ensure the switch is in the off-position before connecting to battery pack, picking up or carrying the appliance. Carrying the appliance with your finger on the switch or energizing appliance that have the switch on invites accidents.
- Disconnect the battery pack from the appliance be-fore making any adjustments, changing accessories, or storing appliance. Such preventive safety measures reduce the risk of starting the appliance accidentally.
- Recharge only with the charger specified by the manufacturer. A charger that is suitable for one type of battery pack may create a risk of fire when used with another battery pack.
- Use appliances only with specifically designated battery packs. Use of any other battery packs may create a risk of injury and fire.
- When battery pack is not in use, keep it away from other metal objects, like paper clips, coins, keys, nails, screws or other small metal objects, that can make a connection from one terminal to another. Shorting the battery terminals together may cause burns or a fire.
- Under abusive conditions, liquid may be ejected from the battery; avoid contact. If contact accidentally occurs, flush with water. If liquid contacts eyes, additionally seek medical help. Liquid ejected from the battery may cause irritation or burns.
- Do not use a battery pack or appliance that is dam-aged or modified. Damaged or modified batteries may exhibit unpredictable behavior resulting in fire, explosion or risk of injury.
- Do not expose a battery pack or appliance to fire or excessive temperature. Exposure to fire or temperature above 130°C may cause explosion.
- Follow all charging instructions and do not charge the battery pack or appliance outside of the temperature range specified in the instructions. Charging improperly or at temperatures outside of the specified range may damage the battery and increase the risk of fire.
- Have servicing performed by a qualified repair person using only identical replacement parts. This will ensure that the safety of the product is maintained.
- Do not modify or attempt to repair the appliance or the battery pack except as indicated in the instructions for use and care.
- Battery tools do not have to be plugged into an electrical outlet; therefore, they are always in operating condition. Be aware of possible hazards when not using your battery tool or when changing accessories. Following this rule will reduce the risk of electric shock, fire, or serious personal injury.
- Do not place the product or their batteries near fire or heat. This will reduce the risk of explosion and possibly injury.
- Do not crush, drop or damage battery pack. Do not use a battery pack or charger that has been dropped or received a sharp blow. A damaged battery is subject to explosion. Properly dispose of a dropped or damaged battery immediately.
- Batteries can explode in the presence of a source of ignition, such as a pilot light. To reduce the risk of serious personal injury, never use any cordless product in the presence of open flame. An exploded battery can propel debris and chemicals. If exposed, flush with water immediately.
- Do not charge product battery in a damp or wet location. Following this rule will reduce the risk of electric shock.
- Under extreme usage or temperature conditions, battery leakage may occur. If liquid comes in contact with your skin, wash immediately with soap and water, then neutralize with lemon juice or vinegar. If liquid gets into your eyes, flush them with clean water for at least 10 minutes, then seek immediate medical attention. Following this rule will reduce the risk of serious personal injury.
- Do not incinerate the battery even if it is severely damaged. The batteries can explode in a fire.
- Save these instructions. Refer to them frequently and use them to instruct others who may use this tool. If you loan someone this tool, loan them these instructions also to prevent misuse of the product and possible injury.
SAVE THESE INSTRUCTIONS
SYMBOLS
| The following signal words and meanings are intended to explain the levels of risk associated with this product. | ||
| SYMBOL | SIGNAL | MEANING |
![]() | DANGER: | Indicates a hazardous situation, which, if not avoided, will result in death or serious injury. |
![]() | WARNING: | Indicates a hazardous situation, which, if not avoided, could result in death or serious injury. |
![]() | CAUTION: | Indicates a hazardous situation, that, if not avoided, may result in minor or moderate injury. |
![]() | NOTICE: | (Without Safety Alert Symbol) Indicates information considered important, but not related to a potential injury (e.g. messages relating to property damage). |
Some of the following symbols may be used on this product. Please study them and learn their meaning. Proper interpretation of these symbols will allow you to operate the product better and safer.
![]() | Safety Alert | Indicates a potential personal injury hazard. |
![]() | Read Operator’s Manual | To reduce the risk of injury, user must read and understand operator’s manual before using this product. |
![]() | Wet Conditions Alert | Do not expose to rain or use in damp locations. |
![]() | Electric Shock | To reduce the risk of electrocution or electric shock, keep away from water. |
![]() | Recycle Symbol | This product uses lithium-ion (Li-ion) batteries. Local, state or federal laws may prohibit disposal of batteries in ordinary trash. Consult your local waste authority for information regarding available recycling and/or disposal options. |
| V | Volts | Voltage |
FEATURES
PRODUCT SPECIFICATIONS
- Grid voltage……………………………………………………..2550 V
- UV LED light……………………………………………….10.6 Watts
- Area light lumens……………………………9 (low), 18 (medium), and 30 (high)
ASSEMBLY
WARNING: Do not use this product if it is not completely assembled or if any parts appear to be missing or damaged. Use of a product that is not properly and completely assembled or with damaged or missing parts could result in serious personal injury.
Do not attempt to modify this product or create accessories or attachments not recommended for use with this product. Any such alteration or modification is misuse and could result in a hazardous condition leading to possible serious personal injury.
If any parts are damaged or missing, please call 1-800-860-4050 for assistance.
OPERATION
WARNING:
- Do not allow familiarity with tools to make you careless. Remember that a careless fraction of a second is suf-ficient to inflict serious injury.
- Do not use any attachments or accessories not recom-mended by the manufacturer of this tool. The use of at-tachments or accessories not recommended can result in serious personal injury.
- Keep the bug zapper away from combustible materials. If wrapped or in contact with fabrics, the light may produce sufficient heat to melt some fabrics.
- To reduce the risk of fire, remove insects and empty bug tray frequently.
- Do not insert foreign objects into this product. Doing so could damage the product and/or result in an electric shock.
APPLICATIONS
You may use this product for the purpose listed below:
- Eliminating mosquitos and other flying insects
- Illuminating areas requiring additional light
INSTALLING/REMOVING BATTERY PACK See Figure 1.
- Insert the battery pack into the product as shown.
- Make sure the latches on each side of the battery pack snap into place and the battery pack is secured before beginning operation.
WARNING: Battery tools are always in operating condition. Therefore, unit should always be OFF with the battery pack removed when not in use. Failure to follow these instructions could result in serious personal injury.
WARNING: Always remove battery pack from your product when you are assembling parts, making adjustments, cleaning, or when not in use. Removing battery pack will prevent accidental starting that could cause serious personal injury.
BEFORE FIRST USE See Figures 2 and 6
Attach handle:
- Remove the battery pack.
- Loop the unattached end of the handle around the top of the bug zapper.
- Insert the round tab through the wide end of the hole in the handle.
- Pull the handle down until the tab is inside the narrow end of the hole and the handle is secure.
Remove and discard packaging material:
- Remove the battery pack.
- Twist the upper housing counterclockwise to loosen it.
- Remove the upper housing from the base.
- Remove the packaging material from around the bulb. Discard material.
- Attach upper housing to the base and turn the housing clockwise to tighten.
USING THE AREA LIGHT See Figure 3.
The area light may be used with or without powering the UV light. After inserting a battery pack, the area light is in the OFF position until the area light button is pressed.
To use the area light:
- Press the area light button to cycle between High, Medium, Low and Off.
USING THE UV LIGHT See Figure 3.
The UV Light is used to attract and kill mosquitos and other flying insects. The UV light can be set to run for up to 6 hours.
NOTE: Area light use is not required when using the UV light. The two features are independent of each other.
To use the UV light:
- Press the UV light button to cycle between 2 hours, 4 hours, 6 hours, and off as indicated by the LEDs above the UV light button.
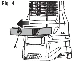
OPERATING TIPS See Figures 4 – 5.
- For best results, hang the product 6 to 7 ft. above the ground.
- Dead insects and debris will accumulate in the bug tray. Remove insects and empty bug tray frequently. To clean the tray, pull it away from the product and dump the waste into a trash receptacle. If necessary, use a damp cloth to clean the inside of the tray.
NOTE: Be sure to wash your hands thoroughly with soap and water after handling the bug tray. - Periodically, remove the battery pack and use a soft brush or forced air to remove dead insects or debris from the product.
- Remove the battery pack and store product indoors during severe weather. This product can withstand moderate rainfall, but it should not be left outdoors during severe weather events.
MAINTENANCE
WARNING:
- To avoid serious personal injury, always remove the battery pack from the product when cleaning or performing any maintenance.
- When servicing, use only identical replacement parts. Use of any other parts could create a hazard or cause product damage.
NOTICE: Periodically inspect the entire product for damaged, missing, or loose parts such as screws, nuts, bolts, caps, etc. Tighten securely all fasteners and caps and do not operate this product until all missing or damaged parts are replaced. Please contact customer service or a qualified service center for assistance.
GENERAL MAINTENANCE
Avoid using solvents when cleaning plastic parts. Most plastics are susceptible to damage from various types of commercial solvents and may be damaged by their use. Use clean cloths to remove dirt, dust, oil, grease, etc.
WARNING: Do not at any time let brake fluids, gasoline, penetrating oils, etc., come in contact with plastic parts. Chemicals can damage, weaken, or destroy plastic which may result in serious personal injury.
BULB REPLACEMENT See Figure 6.
- Remove the battery pack.
- Twist the upper housing counterclockwise to loosen it.
- Remove the upper housing from the base.
- Remove the old light bulb and replace with an identical replacement bulb (p/n 099244001022)
- Attach upper housing to the base and turn the housing clockwise to tighten.
STORING THE BUG ZAPPER
Store indoors in a dry, locked-up place, out of the reach of children, with the battery pack removed. Keep away from corrosive agents such as garden chemicals and de-icing salts.
This product has a Three-year Limited Warranty for personal, family, or old use (90 days for business or commercial use). For warranty details, visit www.ryobitools.com
or call (toll free) 1-800-860-4050.

























