480° Rotation Car Mount with Wireless Charging
( Car Mount Installation Guide)
Take out the car mount and installation frame from the box together.- Make sure the back of the touchscreen is clean and dry.

- Remove the lining and unlock the suction cup.

- Place both the car mount and installation frame on the top-left screen, and the included installation frame helps you easily align the car mount.
- Press the suction cup firmly against the back of the screen and lock it in place.

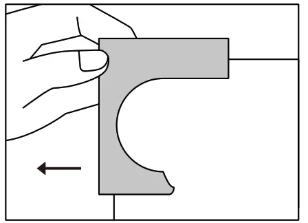
- Remove the installation frame by sliding it to the left.
- Plug in the included cables and connect them to any USB-C or USB-A port in your car.
( Clamp Size Adjustment Guide )
- Press the button on the top of the car mount to release the side clamps.

- Place your mobile and press the clamps to fit. Gently take out your phone and put it back again, make sure the clamps are not too tight.
‘IMPORTANT:
Please press the rear end of the clamps. make sure your phone doesn’t slip off.
FCC Statement
The equipment has been tested and found to comply with the limits tot a Class 8 data] device. pursuant to part 18 of the FCC Rules. These limes are designed to provide reasonable protection.,., against harmful interference in a residential installation. This equipment generates. uses and can radiate radio frequency energy and. d not totaled and used in accordance with the instructions. may cause herald interference to radio communications. However. there is no guarantee Nat interference will not occur in a particular installation. b this equipment does cause herald interference to radio or television reception. which can be determined by turning the win: front off and on. the user is encouraged to arrest the interference by one or more of the Idlowng maestros
- Reorient 01 and relocate the receiving antenna.
- Increase the separation between the °outman* and receiver.
- Connect the equipment into an outlet on a circuit dfierem from that to which the receiver is connected.
- Consult the dealer or an experienced radio/ technician for help.
FCC Radiation Exposure Statement
This device complies with FCC Malabon exposure limes set lath for an uncoriudled environment and it also complies with Pen 18 of the FCC AF Ades. The requiem must be Installed and operated in accordance wen provided nsobcticns End the antenna(s) used for the transmitter must be installed to provide a separation distance of at teem IS a from al parsons and must not be co-boated or operating In conjunction with any other antenna or vanammer. End-users and installers must be provided with antenna installation Instructions aid consider renting the nocdlocaton statement.
This Device Complies with Part 18 of the FCC Rules
Tips
* Keep the device dry, do not put it in water or any other liquid, and do not get it wet.
* Use the charger at temperatures between -10° C and 600 C.
*Do not disassemble the charger.
* Do not place magnetic cards, magnetic recording media, and precision machines too close to the wireless charging area.
* Do not allow dust or other things to accumulate on the product and the C-type input port.

Take out the car mount and installation frame from the box together.






















