J BURROWS JBSLTCF10 Wireless Charging Car Mount Instruction Manual
Product Overview



Telescopic Extension Pole (Length): 73mm-108mm
The vent clip works best with 7mm gap in between slats and slats up-to 5mm in thickness
Product Features
- Smart touch buttons and LED indicator lights on both sides.
- Built-in wireless charging transmitter, supporting Qi wireless charging for all Qi-enabled mobile
- Built-in low-noise smart cooling Operates when a phone is installed, cooling the wireless charger and mobile during operation.
- Adjustable cradle with anti-slip silicone pads suitable for different phone
Installation
Caution
To prevent the mobile phone falling from the mount and causing damage, the mount must be securely installed before inserting the mobile phone onto the wireless charger.
Mount on Windshield/ Dashboard
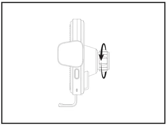
- Release the angle locking knob from the socket at the back of the wireless charger by turning it counterclockwise.

- Insert the angle locking knob onto the ball joint of the windshield/ dashboard mount. Insert the ball joint along with the angle locking knob to the socket on the back of the wireless charger. (Ball joint must be completely inserted into the socket).

- Tighten the junction by turning the angle locking knob clockwise. (Do not overturn the knob as that might damage the thread on the socket).

- Remove the protection film on the suction cup. Clean the mounting area from grease and dust. Lift up the lever on the windshield/ dashboard mount, then push the suction cup firmly against the windshield/ dashboard and press down the lever firmly to secure the position on windshield /dashboard.

- Loosen the angle locking knob by turning it counterclockwise to adjust the angle of the wireless charger to the desired angle. Then tighten the angle locking knob to secure the position.
Turn the telescopic knob and the pivot counterclockwise to loosen it. Adjust the windshield/ dashboard mount to a desired angle and extension length. Then tighten the knob by turning it clockwise.
Mount on Air Vent
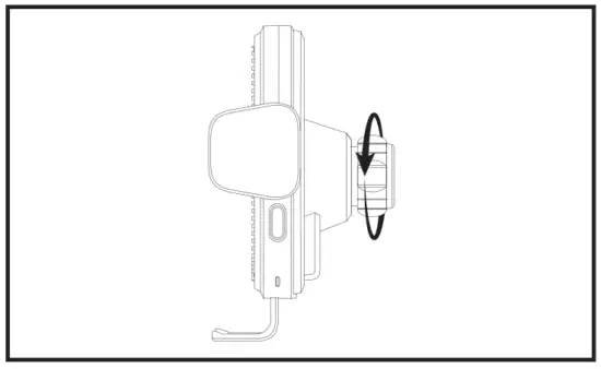
- Release the angle locking knob from the socket at the back of the wireless charger by turning it counterclockwise.

- Insert the angle locking knob onto the ball joint of the air vent mount. Insert the ball joint along with the angle locking knob to the socket on the back of the wireless charger. (Ball joint must be completely inserted into the socket).

- Tighten the junction by turning the angle locking knob clockwise. (Do not overturn the knob as that might damage the thread on the socket).

- Release the vent mount clip by applying pressure on the end of the clips. Insert the vent mount clip into the air vent slat and adjust the open-angle of the kickstand to secure the mounting. Vent mount can be applied on air vent slats with either horizontal or vertical orientation.


- Loosen the angle locking knob by turning it counterclockwise to adjust the angle of the wireless charger to the desired angle. Then tighten the angle locking knob to secure the position.

Charging Operation
- To power on the wireless charger, connect the USB Type C connectors to the port at the bottom of the wireless charger. Connect the USB-A connectors to a USB car charger (sold separately).
- Pull down the adjustable feet to lengthen the area for the mobile device if necessary.
- Tap on the either side of the lock button to release the motorized side arms. Place your mobile device on the charger, the motorized side arms will lock automatically and wireless charging starts.
- To release the mobile phone from the wireless charger, press lock button on either side of the wireless charger to open the motorized side arms.
The wireless charger can store extra electric energy as temporary battery when it is connected to the power source. The stored energy can be used for controlling the adjustable side arms up to 2 times when the power source is disconnected.
Note: Please make sure your mobile device is Qi enabled. Please do not put a magnetic strip or chip card (credit card) on the charging pad to avoid damage caused by charging signal.
Please keep the back of mobile phone/phone case free from metal objects that might damage the wireless charger during charging.
LED Mode
Mode | Light status |
| Power on | Indicator light flashes blue & green simultaneously |
| Standby mode | Lock button remains in green |
| Charging mode | Lock button remains in blue |
| FOD (foreign object detection) warning“ | Indicator light flashes blue and green six times as a reminder |
*When there is metal or magnet objects close to the wireless charger.
Specification
- Model: JBSLTCF10
- Officeworks Product Code: JBSLTCF10
- Qi Wireless Charger Output: 5W – 7.5W – 10W – 15W
- Qi Charging Distance: ≤4mm
- USB Type C Power Input: 5V
2A Max., 9V-2A Max. (USB power adapter Input is required)
Note: Fast wireless charging (10W, 15W) requires a quick car charger marked with QC2.0/3.0 (Not Included).
Package Contents
- Wireless charger x 1
- Windshield/Dashboard mount x 1
- Angle locking knob x 1
- Vent mount x 1
- USB Type C cable (100cm) x 1
- Instruction manual x 1
- Quick start guide x 1
WARNING
- Do not connect this cable to products other than JBSLTCF10 Wireless Charging Car Mount. Connecting this cable to other devices might cause damage to both cable and the device.
- Do not use in extreme heat and/or humidity to prevent damage to the charging pad and fan unit.
- Do not place foreign/metal objects onto the unit.
Product Warranty
Valid for Australian Customers Only
Officeworks Ltd warrants that this product will be free from defects and work as intended for 8 years from the date of purchase by the original customer.
If the product has any defects or does not work as specified during the Warranty Period, Officeworks will, at its election and at its expense, repair or replace the product.to be of acceptable quality and the failure does not amount to a major failure.
This warranty does not apply:
- to cosmetic damage;
- to damage caused by consumables used in connection with the product;
- where the product has not been used in accordance with all provided instructions;
- to damage arising from fair wear and tear;
- where the product has not been subject to reasonable use;
- where the product has been intentionally or negligently damaged; and/or if the customer has attempted to repair the product.
To make a claim under this warranty, please return your product with your receipt or proof of purchase to your nearest Officeworks store or contact 1300 633 423.
This warranty is provided in addition to any rights you may be entitled to under the Competition & Consumer Act 2010. Our goods come with guarantees that cannot be excluded under the Australian Consumer Law. You are entitled to a replacement or refund for a major failure and compensation for any other reasonably foreseeable loss or damage. You are also entitled to have the goods repaired or replaced if the goods fail to be of acceptable quality and the failure does not amount to a major failure.

Qi is a trademark of the Wireless Power Consortium.
Qi (pronounced “chee”) is an open interface standard that defines wireless power transfer using inductive charging. For best results, use the included power adaptor.
OFFICEWORKS LTD
236-262 EAST BOUNDARY ROAD
EAST BENTLEIGH VIC 3165 AUSTRALIA
MADE IN CHINA





























