A 4310 4x120W / 4x240W Class-D Amplifier
User Manual
PUBLIC ADDRESS SYSTEM
A4310 A4314 4x120W / 4x240W CLASS-D AMPLIFIER
Please follow the instructions in this manual to obtain the optimum results from this unit.
We also recommend that you keep this manual handy for future reference.
SAFETY PRECAUTIONS
- Be sure to read the instructions in this section carefully before use.
- Make sure to observe the instructions in this manual as the conventions of safety symbols and messages regarded as very important precautions are included.
- We also recommend you keep this instruction manual handy for future reference.
Safety Symbol and Message Conventions
Safety symbols and messages described below are used in this manual to prevent bodily injury and property damage which could result from mishandling. Before operating your product. read this manual first and understand the safety symbols and messages so you are thoroughly aware of the potential safety
WARNING
Indicates a potentially hazardous situation which. if mishandled, could result in death or serious personal injury.
CAUTION
Indicates a potentially hazardous situation which, if mishandled. could result in moderate or minor personal injury. and/or property damage.
WARNING
When Installing the Unit
- Do not expose the unit to rain or an environment where it may be splashed by water or other liquids. as doing so may result in fire or electric shock.
- Use the unit only with the voltage specified on the unit.Using a voltage higher than that which is specified may result in fire or electric shock.
- Do not out.lunk otherwise damage nor modify the power supply cord. In addition. avoid using the power cord in close proximity to heaters. and never place heavy objects – including the unit itself – on the power cord. as doing so may result in fire or electric shock.
- Be sure to replace the unit’s terminal cover after connection completion. Because high voltage is applied to the speaker terminals. never touch these terminals to avoid electric shock.
- Be sure to ground to the safety ground (earth) terminal to avoid electric shock. Never ground to a gas pipe as a catastrophic disaster may result.
- Avoid installing or mounting the unit in unstable locations. such as on a rickety table or a slanted surface. Doing so may result in the unit falling down.causing personal injury and /or property damage.
- Should the following irregularity be found during use. immediately switch off the power. disconnect the power supply plug from the AC outlet and contact y our nearest Redback dealer. Make no further attempt to operate the unit in this condition as this may cause fire or electric shock.
- If you detect smoke or a strange smell coming from the unit.
- If water or any metallic object gets into the unit
- If the unit falls. or the unit case breaks
- If the power supply cord is damaged (exposure of the core. disconnection. etc.)
- If it is malfunctioning (no tone sounds.)
- To prevent a fire or electric shock. never open nor remove the unit case as there are high voltage components inside the unit.
- Refer all servicing to your nearest Redback dealer.
- Do not place cups. bowls, or other containers of liquid or metallic objects on top of the unit. If they accidentally spill into the unit, this may cause a fire or electric shock.
- Do not insert nor drop metallic objects or flammable materials in the ventilation slots of the unit’s cover. as this may result in fire or electric shock.
- Never plug in nor remove the power supply plug with wet hands. as doing so may cause electric shock.
- When unplugging the power supply cord. be sure to grasp the power supply plug: never pull on the cord itself. Operating the unit with a damaged power supply cord may cause a fire or electric shock.
- When moving the unit. be sure to remove its power supply cord from the wall outlet. Moving the unit with the power cord connected to the outlet may cause damage to the power cord. resulting in fire or electric shock.
- When removing the power cord. be sure to hold its plug to pull. Do not block the ventilation slots in the unit’s cover. Doing so may cause heat to build up inside the unit and result in fire.
- Avoid installing the unit in humid or dusty locations. in locations exposed to the direct sunlight. near the heaters. or in locations generating sooty smoke or steam as doing otherwise may result in fire or electric shock
- Due to product upgrades. while some of the features and specification in the user manual does not match the actual functions. sorry for any inconvenience and thanks for your kind understanding!
- Do not place heavy objects on the unit as this may cause it to fall or break which may result in personal injury and/or property damage. In addition. the object itself may fall off and cause injury and/or damage.
- Make sure that the volume ontrol is set to minimum position before power is switched on. Loud noise produced at high volume when power is switched on can impair hearing.
- Do not operate the unit for an extended period of time with the sound distorting. This is an indication of a malfunction, which in turn can cause heat to generate and result in a fire. Contact your Redback dealer as to the clean-ing. If dust is allowed to accumulate in the unit over a long period of time. a fire or damage to the unit may result.
- If dust accumulates on the power supply plug or in the wall AC outlet. a fire may result. Clean it peri-odically. In addition. insert the plug in the wall outlet securely.
- Switch off the power, and unplug the power supply plug from the AC outlet for safety purposes when cleaning or leaving the unit unused for 10 days or more. Doing otherwise may cause a fire or electric shock.
An all-pole mains switch with a contact separation of at least 3 mm in each pole shall be incorporated in the electrical installation of the building.
PRODUCT OVERVIEW
The D series digital amplifier is rated from 120W to 500W with balanced signal inputs(H5.08-3 European-style connector) and 100V power outputs (I-15.08-2 European-style connector).
FEATURES
- One channel high efficiency class D power amplifier
- Wide voltage (-190-240V 50/60Hz) to adjust to the work scope.
- With DC24V backup (battery) function.
- One channel power amplifier in 1U height.
- RMS power output of 240W, 350W and 500W.
- Built in high efficient Class D power amplifier.
- 100V speaker output interface.
- Built-in active bandpass filter, effectively filter out unwanted music signal.
- With remote control on/off switch function.
- With remote monitor amplifier working status function.
- LED indicators for signal, peak, protection and power.
- 100V horn output interface.
- Power amplifier 24V power port with supply voltage range ( 20V-25.6V) protection, avoid making battery long-term feeding failure or breakdown of internal circuit of high voltage equipment.
- Built-in short circuit, overload, high temperature protection.
NOMENCLATURE AND FUNCTIONS
4.1 FRONT PANEL

- CH1/CH2/CH3/CH4 Volume control of the channel
- SIG Signal Indicator
- PEAK Clip Indicator
- PROT Protection Indicator
- POWER SWITCH Up: turn on the power Down: turn off the power
- POWER Power Indicator
4.2 REAR PANEL
- 240V 50Hz Power input
- CH11CH2/CH3/CH4 Spared (battery) power interface
- Cooling fan
- CH1/CH2JCH31CH4 100V speaker output
- CH1/CH2/CH3/CH4 Balanced line input by phoenix connector
- CH1/CH21CH3/CH4 Rj45 control port for status monitoring and remote power control
MACHINE OPERATION
• Function
Amplifier Function
The role of amplifiers is to enlarge the audio signal from audio sources, such as MIC, computer and MP3 etc. to boost speaker or pure amplifier to work.
Constant Voltage Amplifier
The output form of constant voltage amplifier output is constant voltage. It requires a certain load of rated voltage. Constant voltage amplifier connects with speakers by the way of multiple speakers in parallel form, as long as the total power does not exceed the amplifier total power, there can be many speakers in a wire. Constant voltage amplifier output voltage is in fixed form, in fact, the audio amplifier output voltage is subject to change, such as in a moment the constant voltage amplifier output is 100V, in this moment, amplifier connects with a speaker, the power amplifier output is 100V, connects with two three, or more speakers, the power amplifier output is still 100V, of course, this is in the situation of enough power for the amplifier. This constant voltage amplifier characteristics is very suitable for school to use, for example, in a school,there are 24 classes, most students are in classroom, turn off the speakers, the speaker and the entire broadcasting system is disconnected, it is because we use the constant voltage amplifier, a speaker is disconnected, and it will not affect the voltage in the entire system line, so it will not affect the broadcast in other classes. Constant voltage amplifier and speaker connections must be parallel. In the public address system, the distance between speaker and amplifier may be more far away, in shopping malls, machine room may be on the first floor, and as far as possible.
• Read Before Using The Amplifier
Volume Control
The volume depends on the performance of the speaker, position and some other factors. Pls avoid to use the amplifier in the status of high volume for a long time.
Choice Of The Audio Source
In order to play the best performance of this device, please select the balanced signal sources after processing by the preamplifier. Local input sensitivity is set to be 0dB (0.77V).
Connection Method
Please do not power on until all connections are completed. The audio cable connection need to be fixed properly, otherwise it will reduce the sound quality, produce noise, or even damage the device. Constant Voltage speakers are paralleled connected with the device (constant voltage amplifier). In a supermarket, there is dozens or hundreds of speakers after an amplifier, these speakers are on a wire. See wiring diagram of the device for the connection method, the load with constant voltage speaker (100V) or all of the speakers, the power is not greater than the power of the amplifier’s rated output power.
• Key operation on the panel
Connect power line AC 190-240V
Turn the power switch button. after connecting the device to AC power. the front panel power indicators. protection indicators and remote power indicators and remote protection indicators lit at the same time. after about 3 seconds the light turns off. The amplifier built-in protection relay closed. power amplifier and the output connection is regular. After device enters to the working status. it has completed the device local power on operation. Press the power switch. after power off. power indicators are off. Device power off operation is completed.
After the device enter to working status. input balanced audio source signal in the rear panel.adjust the volume potentiometer to select the appropriate volume. At this point, It has completed the basic operation of the device.
• Remote operation
- Connect DC +24V power supply. blue power indicator and red protection etc. according to the marked graph of the remote terminal.
- Connecting the remote network cable.
- Input DC +24 V power supply, then the front panel power indicator light, and remote power indicator. protection indicator lights at the same time, after about 3 seconds the protection lights off, power amplifier is active and connected to the output. At this point. the device is in working status.
- Remote port operation is prior than panel operations, namely when the front panel power switch is off, the device can still be in power on status.
- Cut off the input DC+24V power, then it can be remoted. Note: The remote power indicator and power indicator on front panel is with the same function, remote protection indicator and the protection indicator on front panel is with the same function.
• Select the input channel
Connecting “INPUT” at CH1, music signal source of balanced input 775mV,OdB at audio cable, after connecting speaker with output terminal, then turn up volume knob, you could hear the music. And the operation of CH1, Ch2,CH3, Ch4 input method is the same.
• DC24V backup power (battery) power supply operation
In the rear panel of the device DC24V backup power (battery) input port, “+” connect with red positive battery termination, “-” connect with negative battery termination; connecting the wires well as per requirements, connected with 24V DC power supply, then it can be normal operation to use the device.
• Function Operation of the Panel
Turning master volume control knob on the panel to adjust the volume. Turning clock-wise slowly, volume gets higher; anti-clockwise, volume gets lower until zero level.
• Indicator instruction of the panel
- – OWER” Blue power indicator, If this signal light is on, the power source is connected.
- ” SIN” Green signal indicator ,When input audio source and turn on master volume control knob, the indicator is gleaming. Turning up the volume, the indicator becomes more bright,which means the signal output is greater.
- “PEAK” Orange topping indicator ,When input audio source exceeds input standard voltage,turn up the master volume control to the max level and turn on the voltage limita-tion function. At 100V output of constant voltage, if the indicator lightens, it means the amplifier is at clip state. It is proposed that the amplifier should not work in clip state for a long time or it will be easily damaged.
- “PROT” Red protection indicator ,When the amplifier is in the protection state of short-circuit, overloading, overheating or fault, the indicator will lighten and cut off the output at same time.
Attention: Under condition of overloading or unventilated environment, the amplifier will get overheating. If the amplifier operates in such kind of state for a long time, to protect the amplifier and speaker, it will automatically trigger thermal protection circuit and cut off the output of amplifier or the power. After the temperature inside lowers to normal one, it will recover automatically.
CONNECTIONS
Speaker connections
Total impedance
Speaker connection: 
- Loosen the pressure screw.
- Put the speaker cable under the wire clamp pad.
- Tighten the pressure screw and make sure the connection is good.
NOTE: 100V output must be connected in parallel with the speakers, and should be connected with the constant voltage speakers, constant voltage speaker is with built-in transformer, there marked input voltage in back; if it connects with the constant resistance speakers, it will be easy to damage the speakers.
When use the device, please do not directly touch the 100V speaker output interface of the exposed metal parts in the rear panel to avoid electrical shock.
Attention:
- Connect cable with the speaker, then with the host.
- Speaker Selection: Constant Voltage 100V Speaker.
- Please use black and red wire for the speaker line, connect black wire to speakers terminal; the red wire connect with speakers’ 100V marked at back, the other end connect with the” 100V “terminal in the rear panel.
- Avoid to operate the amplifier in full power state for a long time.
- Do not connect the two speaker wires by short circuit way, to avoid damage the equipment.
APPLICATIONS


When connecting, put the red cable to “+ ” terminal at the host, white to “- ” terminal, and the shielded wire to the GND terminal. The same connection to the output terminal of the pre-audio source processor.
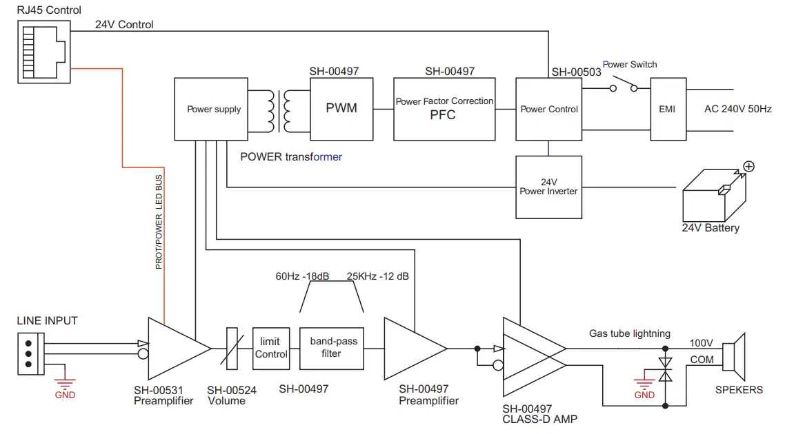
BLOCK DIAGRAM

SPECIFICITIONS
| MODEL | A4310 | A4314 |
| RATED POWDR OUTPUT | 4x120W | 4x240W |
| SPDADER OUTPUTS | 100V | |
| INPUT SENSITIVITY AND IMPEDANDCE | ±385mV/20K Q.Balanced H5.08 European-style connector input | |
| OVERLOAD SOURCE ELECTROMOTIVE FORCE | >11dB,Balanced H5.08 European-style connector input | |
| Frequency response | 80Hz-18KHz(+1dB,-3dB) | |
| S/N RATIO | ≥ 85dB | |
| THD | ≤ 0.5% at 1KHz.1/3 rated power | |
| CONTROLS | Remote power control,volume control and status monitor | |
| INDICTORS | Signal,peak,protection and power | |
| PROTECTION | High temp,overload & short-circuit | |
| POWDR CONSUMPTION | 4X144W | 4X288W |
| POWER SUPPLY | ˜240V 50Hz | |
| DIMENSIONS | 484X390X44 | |
| WEIGHT | 8.5Kg | 9Kg |





















