MIPRO ACT-515 True Wireless Diversity Receiver
IMPORTANT SAFETY INSTRUCTIONS
- Read these instructions.
- Keep these instructions.
- Heed all warnings.
- Follow all instructions.
- Do not use this apparatus near water.
- Clean only with a dry cloth.
- Do not block any ventilation openings. Install in accordance with the manufacturer’s instructions.
- Do not install near any heat sources such as radiators, heat registers, stoves, or other apparatus (including amplifiers) that produce heat.
- Do not defeat the safety purpose of the polarised or ground plug: A polarised plug has two blades with one wider than the other. The wide blade is provided for your safety. When the provided plug does not fit into your outlet, consult an electrician for the replacement of the obsolete outlet.
- Protect the power cord from being walked on or pinched particularly at plug, convenience receptacles, and the point where they exit from the apparatus.
- Only use attachments/accessories specified by the manufacturer.
- Use only “”th a cart, stand, tripod, bracket, o, table specified by the manufacturer, or sold with the apparatus. When a cart is used, use caution when moving the cart/apparatus combination to avoid injury from tip-over.
- Unplug this apparatus during lightning storms or when unused for long periods of time.
- Refer all servicing to qualified service personnel. Servicing is required when the apparatus has been damaged in any way, such as power-supply cord or plug is damaged, liquid has been spilled or objects have fallen into the apparatus, the apparatus has been exposed to rain or moisture, does not operate normally, or has been dropped.
- To reduce the risk of fire or electric shock, do not expose this apparatus to rain or moisture.
- The apparatus should not be exposed to dripping or splashing and no objects filled with liquids, should be placed on the apparatus.
- Use only with the battery which specified by the manufacturer.
- The power supply cord set is to be the main disconnected device.
WARNING
- FOR OUTDOOR USE:
To reduce the risk of fire or electric shock, do not expose this apparatus to rain or moisture.
UNDER WET LOCATION:
The apparatus should not be exposed to dripping or splashing and no objects filled with liquids, such as vases should be placed on the apparatus.
3. SERVICE INSTRUCTIONS:
CAUTION
These servicing instructions are for use by qualified service personnel only. To reduce the risk of electric shock, do not perform any servicing other than that contained in the operating instructions unless you are qualified to do so.
Caution
- This symbol indicates that dangerous voltage constituting a risk of electric shock is present within this unit.
- This symbol indicates that there are important operating and maintenance instructions in the literature accompanying this unit.
FC & IC – ID
THIS DEVICE COMPLIES WITH PART 15 OF THE FCC RULES AND RSS-210 ISSUE2 OF CANADA. OPERATION IS SUBJECT TO THE FOLLOWING TWO CONDITIONS:
- This device may not cause interference.
- This device must accept any interference, including interference that may cause undesired operation of the device. This equipment complies with FCC RF radiation exposure limits set forth for an uncontrolled environment.
Disposal
Dispose of any unusable devices or batteries responsibly and in accordance with any applicable regulations. Disposing of used batteries with domestic waste is to be avoided!Batteries / NiCad cells often contain heavy metals such as cadmium(Cd), mercury(Hg), and lead{Pb) that makes them unsuitable for disposal with domestic waste. You may return spent batteries/ accumulators free of charge to recycling centres or anywhere else batteries/accumulators are sold.By doing so, you contribute to the conservation of our environment!
Part Names. Fig. 1
- ACT-515 Single-Channel

- ACT-525 Dual-Channel

- ACT-545 Quad-Channel

- ACT-545 Quad-Channel
- Power Switch
- LCD Screen
- Channel Selection Button
- ACT Sync Button
- Rotary Knob
- B/A Antenna Connector
- Balanced Audio Output XLR Connector
- GND LIFT/GND Switch: Switch to GND, ground pin 1 of all the XLR connectors. Switch to LIFT, lifts ground pin 1 of all the XLR connector. (default to GND)
- Volume Level Switch: Balanced: -6dB, OdB, +16dB, selectable; Unbalanced:-6dB, OdB, +10dB, selectable.
- Mixed Balanced Audio Output XLR Connector
- Mixed Unbalanced Audio Output 6.3 0 Phone Jack Connector
- Dante Interface or AVB Interface (optional)
- Network Interface Connector
- Cooling Fan
- DC Input Jack: the center electrode connects positive voltage
- Unbalanced Audio Output 6.3 0 Phone Jack Connector
Receiver Installation. Fig. 2
- Connect an antenna to each antenna connector(i)on the rear panel.
- Power Connection: Connect the power supply to the DC input jackand plug the other end into an AC power source.
- Audio Output Connection:
- Each channel signal output can be connected to the mixer or amplifier’s MIC IN jack by an XLR Male to XLR Male microphone cable. Fig. 2
- 3-pin XLR output wiring diagram,as Fig. 3 shows.

- The mixed audio signals of CH1 ~ CH4 from a receiver’s balanced output XLR connector W can be connected to the balanced input jack of a mixer or amplifier. Another way is to connect from a receiver’s unbalanced output 6.3 mm connector GI to the LINE IN jack of a mixer or amplifier.
- Use an XLR to 6.3 mm jack cable to plug into the LINE IN jack of a mixer or amplifier. Switch the Volume Level Switch Cl) to +10dB.
- Unbalanced Output Connection: When a receiver and a mixer/amplifier is under short distance or the connectors of receiver/mixer/amplifier are “PHONE” type, use a 6.3 mm jack to 6.3 mm jack audio cable to connect from the unbalanced output jack of the receiver to the LINE IN jack of a mixer/amplifier.
- When the audio output is connected to the MIC IN jack of a mixer or amplifier, switch the Volume Switch 0 at 0dB. When connected to LINE IN, switch to + 16dB for a balanced output XLR connector and switch to +10dB for an unbalanced output 6.3 mm connector. Switch to -6dB if the maximum output volume of an amplifier is distorted.
- Antenna Connection: antenna connectors provide 8-volt DC bias for MIPRO antenna boosters. If the antenna cable is longer than 10 meters, it is recommended to add an antenna booster to ensure optimal reception.
Receiver Operation
- Before turning on the receiver, ensure all transmitters are powered off and the mixer or amplifier’s volume control is minimized. When the receiver is turned on and the VFD screen glows, it is working normally.
- RF meter level glows when the transmitter is powered on. Once the audio signal is received from the transmitter, the AF audio meter level glows in accord with signal strength. The system is abnormal if the RF indicator or AF meter does not glow, then adjustment or repair might be required.
- The microphone volume is adjusted at the amplifier or mixer. No adjustment is needed at the receiver.
Tips for Receiver Installation
- Receivers can be installed on an EIA standard 19-inch rack case. Fig. 4

- Rackmount kit (optional). Fig. 5

- For improving reception, an optional rear-to-front antenna cable installation through rackmount screw holes is highly recommended. Fig. 6
- For improving the reception range, install the receiver at least 1 meter above the ground and away from EMI / RFI “noise” sources. Also, place the transmitter at least 1 meter away from the receiving antenna. Fig. 7

- Proper installation of antennas enhances the operating efficiency of the receiver. The most important rule is to minimize the distance between the receiving antenna and transmitter for the best reception quality.
- Use MIPRO’s antennas to ensure proper receiving sensitivity.
- The antenna connector provides 8V DC bias output. Short circuits should be avoided.
- Install MIPRO’s directional antennas and boosters if an extended reception distance is required.
- Use the antenna distributor in the multiple channel wireless systems to simplify the antenna installation and improve receiving efficiency.
- For multiple compatible systems operation, it is recommended to select MIPRO’s factory preset interference-free channels within the same group to ensure optimum performance.
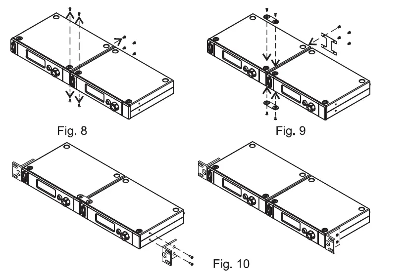
- Rackmount two units side-by-side:
- Remove top and bottom screws,as Fig. 8.

- Screw top, bottom and back plates to joint two receivers, as Fig. 9
- Rackmount with an optional rack-mount kit, as Fig. 10.
- Remove top and bottom screws,as Fig. 8.
LCD Screen
- LCD Screen displays functions and parameters. Fig. 11:

- RF Signal Meter
- Diversity NB Antenna
- Battery Meter
- Group Cursor
- Group Cursor
- PC Address Cursor
- Squelch Meter
- Audio Signal Meter
- Panel Lock Icon
- Interference Indicator
- Working Frequency
- LCD Screen displays functions and parameters. Fig. 11:
- The Functions and Parameters: Use Rotary Knob 0 to set functions through the LCD Screen. 4 functions can be programmed. Fig. 12

- Programmable Parameters: GROUP Setting. Fig. 13:

- Press the rotary button to select parameters. GRP cursor blinks to denote it can be changed readily.
- Turn the knob right to increase or left to decrease a GRP number.
- Press the knob again, the GRP number stops blinking and saves the new group number automatically.
- CHANNEL Setting. Fig. 14:

- Press the rotary button to select parameters. CH cursor blinks to denote it can be changed readily.
- Turn the knob right to increase or left to decrease a CH number.
- Press the knob again, CH number stops blinking and saves the new channel number automatically.
- The last group enables the user to select and save up to 16 frequencies.
- When GRP shows the last group number, the CH cursor starts blinking. Press the knob to enter the frequency setting. The current frequency number blinks to denote the parameter can be changed readily.
- Turn the knob right to increase or left to decrease an FRQ number.
- The frequency value is programmed by 1 MHz and 25kHz step.
- After changing the parameter, press the knob again, FRQ number stops blinking and saves the new frequency value automatically.
- Only frequencies in the last group can be programmed. Other groups cannot be programmed.
PC ADDRESS Setting. Fig. 15:
- The receiver has an ACT-BUS interface. Install MIPRO hardware and software for PC remote-control and monitor up to 64 MIPRO receiver channels simultaneously.
- Address numbers need to be pre-programmed in advance from01 – 64 before interfacing for network monitoring and control. However, to ensure networking is working properly, all address numbers need to be different from each other to avoid address conflicts.
- Press the rotary knob to select parameters. Add cursor blinks to denote it can be changed readily.
- Turn the knob right to increase or left to decrease a new address number.
SQUELCH Setting. Fig. 16:
- Press the rotary knob to select parameters. SQ cursor blinks to denote it can be changed readily.
- Turn the knob right to increase indicator grids and decreases the receiving sensitivity. Turn left to decrease indicator grids and increases sensitivity.
- Press the knob again, SQ cursor stops blinking and saves the SQ value automatically.
Lock & Unlock Receiver Panel. Fig. 17
- Press Channel Selection Button@to set the panel lock status for each channel.
- To Lock: Press and hold the knob for 3 seconds until i6lii icon e appears. The display panel is locked and the parameters are not allowed to be changed.
- To Unlock: Press and hold the knob for 3 seconds until 1!11 icon disappears.
- Do not press other buttons during setting lock status.

ACT Sync Setting. Fig. 19:
- Press the ACT button, “5 :J n [” appears on the LCD screen and ACT Sync can be operated. If the transmitter was not synchronized within 10 seconds, the word
“FR I LE d” appears on the LCD screen. - Ensure the transmitter is powered on. Align the ACT IR port of both transmitter and receiver within 30 cm.
- Once the sync is completed and successfully, the ACT function will stop automatically and GRP parameters & full grid of RF meter fj are displayed on the LCD screen. The LCD on the transmitter also displays the same group and channel of the receiver simultaneously.
- Unchangeable Setting:
- (displays the battery meter in percentage (%) indication of remaining battery life when receiving the transmitter signal. Replace with new, fresh batteries when battery indicators fall to 10% (1 indicator remaining), as shown in Fig. 20.To know the percentage indication of battery life. Please refer to the user guide of each transmitter.

- Error Message: “ERR01” indicates an internal data error.
- (displays the battery meter in percentage (%) indication of remaining battery life when receiving the transmitter signal. Replace with new, fresh batteries when battery indicators fall to 10% (1 indicator remaining), as shown in Fig. 20.To know the percentage indication of battery life. Please refer to the user guide of each transmitter.
Notes
- Design and specifications are subject to change without prior notice. Refer to the actual product in the event of product discrepancy.
- The frequency range and maximum deviation comply with the regulations of different countries.
Computer Network-interfaced Operation
- This receiver has advanced computer network interfaced with MIPRO DV.
- MIPRO DV Wiring Instructions. Fig. 21:
- Use supplied hardware cable for serial connection to MIPRO receivers and PC network interface connector.
- Next, use a USB connector to link the receivers’ input interface connector via MIPRO DVU to a computer USB PORT.
- Up to 64 receiver channels can be connected, remotely controlled and monitored.
- The network cable length can be connected up to 300 meters, but the longer it is, the transmission quality will be more unstable. The ideal cable length for optimal transmission quality is less than 100 meters.
Dante Network Operation (For optional Dante interface)
- Dante Network. Fig. 22:
- Connect Dante RJ45 port on the device to the Ethernet switch via cat. 5 / cat. 5e or cat. 6 cables to construct Dante Network.
- The Ethernet switch needs to be connected with a DHCP server (e.g. router) to provide DHCP function.
- Software Operating Instructions: Install Dante Controller on PC to perform audio stream routing and monitoring.
- The user guide of Dante Controller can be downloaded at the Audinate website: https://www.audinate.com/products/software/dante-controller
IEEE 802.3 AVB Network Operation (For optional AVB interface)
- AVB Network. Fig. 23:
- Connect the AVB RJ45 port on the device to the Ethernet switch via cat. 5 / cat. Se or cat. 6 cable to construct AVB Network.
- This Ethernet switch should be able to support IEEE 802.1 AVB.
- Software Operating Instructions: Install AVB Controller on PC to perform audio stream routing and monitoring.
- For the user guides of the AVB Controller, please refer to the software supplier.



































