Regal Rasato XL Security Check Spam Protection
Instruction Manual
servicegvcm-gruppe.de
Aufbauanleitung/ Instruction Manual
Artikel: VCM Regal “Rasato XL”
L=210, H=1516, B=144
L=210 Regal Rasato XL Security Check Spam Protection



Attention: The fastening material for wall mounting included in the scope of delivery is only suitable for solid brick masonry
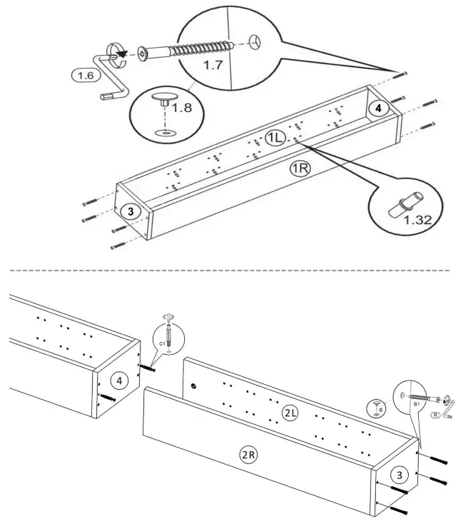
| 1L + 1R | 734×144 | 2 |
| 2L+ 2R | 734×144 | 2 |
| 3 | 210×144 | 2 |
| 4 | 210×144 | 1 |
| 5 | 178×130 | 8 |
| 6 | 758×206 | 2 |
![]()

















