
BME express Regal 2 OH 2 File Shelf Instruction Manual

Regal 2 OH 2
Important:
Read carefully before assembling/keep and store Instruction for reference
Warning notice
Intended use:
Please make sure that you only use your furniture for the purpose it was designed for. Correct use and regular maintenance are essential for ensuring your furniture remains in working order for the long-term.
Area of use:
The storage furniture you have purchased is suitable for use in general private living quarters. It is not suit- able for areas that are wet, outside or used for commercial purposes.
WARNING

Risk of swallowing and choking:
Small parts and packaging material may be swallowed.
WARNING! Bags and film coverings are not toys! Please keep away from babies and small children! Do not put them over your head, risk of suffocation!
PRECAUTION,

risk of injury:
Small children must keep away from the assembly area. They must refrain from climbing up on the furniture.
General information
ATTENTION
Direct sunlight: results in discoloration.

Protective covers:
Protective covers, e.g. felt pads, prevent damage to floors that are easily scratched (e.g. parquet).

ATTENTION,
Temperature:
Do not place hot or cold objects directly on the surface. Use the appropriate protection, e.g. saucer.

PRECAUTION,
this piece of furniture can tip over.
To prevent this it must be secured to the wall or ceiling with brackets. The type of bracket depends on the quality of the wall and/or ceiling (e.g. concrete, plaster, brick, wood) and must be mounted by a specialist.

Max. load:
15 kg

Assembly information
Damages during assembly:
These can be avoided if you use a clean soft surface (e.g. carpet). Only place parts on a soft surface when unpacking or during the assembly. Make sure that larger parts can- not tip over.

People:
Number of people required for the assembly.

Assembly time:
Approximate time in hours.

Tools required:

Components/ small parts:


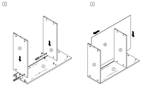
Assembling instruction









Wall-fixinf recommended

Care

Important:
Read carefully before assembling/keep and store Instruction for reference

Warning notice
Intended use:
Please make sure that you only use your furniture for the purpose it was designed for. Correct use and regular maintenance are essential for ensuring your furniture remains in working order for the long-term.
Area Of use:
The storage furniture you have purchased is suitable for use in general private living quarters. It is not suitable for areas that are wet, outside or used for commercial purposes.

WARNING
Risk of swallowing and choking:
Small parts and pack- aging material may be swallowed.

WARNING! Bags and film coverings are not toys! Please keep away from babies and small children! Do not put them over your head, risk of suffocation!
PRECAUTION, risk of injury: Small children must keep away from the assembly area. They must refrain from climbing up on the furniture.

ATTENTION
Direct sunlight: results in discoloration.

Protective covers:
Protective covers, e.g. felt pads, prevent damage to floors that are easily scratched (e.g. parquet).

ATTENTION,
temperature:
Do not place hot or cold objects directly on the surface. Use the appropriate protection, e.g. saucer.

PRECAUTION,
this piece of furniture can tip over.
To prevent this it must be secured to the wall or ceiling with brackets. The type of bracket depends on the quality of the wall and/or ceiling (e.g. concrete, plaster, brick, wood) and must be mounted by a specialist.

Max. load:
15 kg

Damages during assembly:
These can be avoided if you use a clean soft surface (e.g. carpet).
Only place parts on a soft surface when un- packing or during the assembly. Make sure that larger parts can- not tip over.

People:
Number of people required for the assembly.

Assembly time:
Approximate time in hours.

Tools required:

Assembly information
Components/ small parts:


Assembling instruction







Wall-fixinf recommended


Read More About This Manual & Download PDF:















