IDEAL 3005 A4 Format Mini Guillotine User Manual
Operating Instructions
Guarantee agreements
Thank you for choosing an IDEAL device. IDEAL grants a guarantee on its products for a period of two years from the purchase date.
- If defects due to faulty materials and workmanship occur within this guarantee period, IDEAL will repair or replace the device at its expense.
- IDEAL will only repair or replace the device, if convincing proof is provided, for example by a receipt and if the claim is made within the guarantee period.
- The guarantee is not given on wearing parts or service parts.
- The guarantee is not valid if the device was not set up, run and serviced right (as according to the devices manual).
Safety precautions
Please read these operating instructions before putting the machine into operation and observe the safety precautions. The operating instructions must always be available
Children must not operate the machine!|

Do not reach beneath the blade!
Never leave the blade unattended!
Do not cut hard materials or materials which may splinter!
Danger! Risk of injury!
- Do not put your fingers inside of the product when you exchange cutting stick and/or blade.
- Lock the blade lever A (A) when you move the product to another place.
- Take the carry handle N when you move the product. Product could hurt you if you hold moving parts when you carry it.
- Place this product at where children could not reach it.
- Set and use this product at flat and stable surface

The machine is designed for cutting stacks of paper to a specified size. This machine is constructed for “one-man operation” only!
Do not trim the part binded by glue since glue could adhere to the blade and it could lead that the product would not work.
Remove thick cover pages, since it could cause the blade broken.
Remove plastic films since they could give a damage to the blade.
Precautions
Cutting waved paper can cause difficulties and measurement differences.- Do not insert papers which exceeds the cutting height of 5.5 mm since it could cause paper jam.
- In case there is paper jam inside, please pull it out by tweezers.
- Do not force to pull parts since it could cause the product broken.
- Insert the backgauge as far as it goes in before closing the feed table.
- Blade and cutting stick are consumer able parts. If it becomes tough to rim and continuously force to trim, it may cause trouble or broken parts.
- Magnets are contained in the feed table. Do not close a magnet card and/or precision equipment.
- To avoid direct sunlight and high humidity in custody.
- Rub with a dry cloth. Use a neutral detergent, not but thinner, benzine, alcohol etc.
- Danger of explosion if battery is incorrectly replaced. Replace only with the same or equivalent type (AAA).
- Do not recharge, short, disassemble, or heat the batteries, or dispose of in a fire.
- Dispose of batteries in the proper manner, according to federal, state, and local regulations.
- Battery chemicals can cause a rash. If the batteries leak, clean the battery compartment with a cloth. If chemicals touch your skin, wash immediately.
- Do not use a mixture of old and new batteries.
- Do not mix alkaline, standard (carbon-zinc), and rechargable batteries
- Batteries shall not be exposed to excessive heat such as sunshine, fire or the like
Installation

Front side
- Blade lever
- Blade lever lock
- Clamp
- Blade (inside the clamp)
- Front cover
- Cutting stick
- Feed table
- Backgauge
- Optical cutting line indicator
- Side lay
- witch for optical cutting line indicator
- Hole for cutting stick pushed out
Before using


- Two (2) AAA size batteries are required. (not included in delivery).
- Push to the side and open the cover of the battery box S.
- Insert batteries by checking the polarity ( A).

- The optical cutting line indicator shows the cutting edge only and is not an exact indicator. To avoid differences in size, perform test cuts
- Perform test cuts since there is a possibility that oil of blade could be transferred to papers in the first time.
Operation
Using the optical cutting line indicator
- Cutting line I is not visible if blade lever A is in lower position. If the blade lever is in upper position and paper is inserted the cutting line I(red line) is clearly visible.
- Switch K “AUTO ON”: Cutting Line is automatically lighted up when feed table G is opened. Cutting line goes automatically off when feed table is closed.

- Switch K “OFF”: Cutting line is completely switched off.

- On the right side the cutting light I is visible over a length of 10 cm.
- There is a possibility that the cutting line cannot be seen well in extremely bright place.
- Exchange batteries if the cutting line becomes dark.
- Switch off the cutting line after using the cutter, to avoid the consumption of the battery.
- Remove the batteries in case the cutter is not used for a long time.
- Position of trimming (B) is at the rear edge of the cutting line (A = width)

Back gauge adjustments
There are 3 possibilities to adjust the backgauge 8.
- The backgauge can be adjusted manually on the sizes B5, A5 and A4 by preset locking positions on the left hand side (A – D). The corresponding positions are indicated by arrows .




- The backgauge can be adjusted manually by a line on the feed table G on A5. Before the backgauge must be turned by 180˚ (E).
- The backgauge can be adjusted manually using a scale (in mm) on the side lay (E).

Cutting
- Open the feed table G and move the blade lever A in the top postion (A).

- Place the paper to the side lay J and to the backgauge H (B).

- If the paper is exactly positioned at both gauges, pull the blade lever down until the paper is cut (C). The paper is automatically pressed during the cutting process.

- Bring the blade lever to the highest position. Remove the paper by pushing through the stack from front to back (D).

- If the bottom sheet does not cut, twist or turn the cutting stick (see page 32)
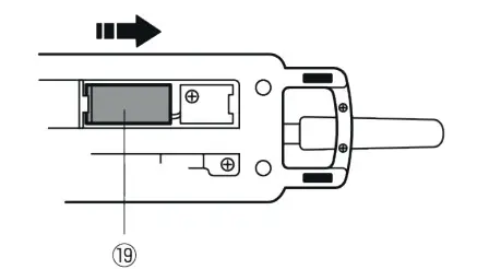
Cutting stick
Turning the cutting stick
- Bring the blade lever A to the highest position (A).

Remove the screw 18 (A) and open the side cover17 (B).
Danger! Risk of injury!
- Slide the cutting stick for example with a screwdriver about 2 cm through the opening provided L and remove it in the arrow direction (C).

- Cutting stick can be used for 4 times (D).Rotate or turn the cutting stick according to an unused area. Place the cutting stick back inside.

- Assemble the side cover back and perform test cuts.
- When the last sheet is not completely cut through, although the cutting stick has been turned, the blade is blunt. Contact Service Team:
- www.ideal.de Þ “Service”[email protected]
Technical Information

This machine is approved by independent safety laboratories. 60950-1:2006+A11+A1+A12+A2 AfPS GS 2019:01 PAK BGI 721/02.11
N The company Krug + Priester has the
following certifications:

- Quality management system according toDIN EN ISO 9001:2015
- Environmental management system according to DIN EN ISO 14001:2015
- Energy management system according to
DIN EN ISO 50001:2018

Please remember to respect the local regulations: hand in the non-working electrical equipment’s to an appropriate waste disposal Centre. The packaging material is recyclable. Dispose of the packaging in an environmentally friendly manner and make it available for the recyclable material collection-service. Thank you!
Document Shredders

Trimmers and Guillotines
Krug & Priester GmbH & Co. KG
Simon-Schweitzer-Str. 34
D-72336 Balingen (Germany)
www.krug-priester.com
9700128 IDEAL 09-2014 27.06.2022 zm

































