IDEAL 4705
KRUG+PARIESTER
Guillotines
Operating Instructions
Safety precautions
Please ensure to read this operating manual befor starting the machine for the first time and please strictly follow the safety instructions mentioned herein. This manual must be available at any time.
No operation by children!
Never leave the blade unattended!
Do not extract or transport the blade without protection! (See page 16 and 18).
Danger! Risk of injury!
Do not cut hard materials or materials which may splinter.
The machine is designed for cutting stacks of paper to a specified size.
This machine is constructed for “one-man operation” only!
Warning! Clips or similar damage the cutting blade.

Operating the machine without safetydevice is forbidden!
- Movable front safety guard (C)
- rear screwed safety guard (M)
- and cover (K)
Close the front safety guard (1.) and release the blade lock (2.). Lower the blade lever using both hands (3.).
After each cutting operation the blade lever
(A) has to be returned to top position until the blade lever is locked.
The blade locking device (B) secures the blade in its top position. A cutting operation can only be made when the hand guard (C) is in the lowest position and the locking
device (B) is released.
Danger!
Do not place hands or fingers under the blade if the blade lever is not locked.
Risk of injury!
Installation
Unpack the stand (accessory) and assemble according to the enclosed separate instructions.
2 strong people are required to lift the machine onto the stand. Beware of fingers!
Risk of injury!
Place the cutter correctly onto the machine stand. Fit the 4 washers and tighten the 4 hexagon nuts with a spanner.
Screw on the backgauge crank (F) and the handle (J) found in the tool set (W).
Operation

Operating elements
| A – Blade lever B – Blade lock C – Front safety guard D – Paper clamp E – Blade adjustment F – Backgauge crank G – Backgauge | H – Side lay left I – Measurement indication J – Handle for blade lever K – Cover L – Cutting stick M – Rear safety guard |

It is not allowed to operate the machine if the operating and safety instructions have not been understood. Please check the safety devices upon their function and completeness before working with.
- All covers have to be mounted (C, K and M).
- The release for cutting is allowed only if the front cover (C) is closed. Both hands must be used to pull down the blade lever.
- The front cover should not close by itself. If it does and tighten the hexagonal recess screw (N).

The measurement is set with the backgauge crank (F). Proceed to position→from the rear. The measurement is shown on the scale (I) just below the indicator and can be read in mm/cm or inch.
Pull out the handle to avoid the measurement being wrongly adjusted.
The blade lever (A) is locked in its top position. Lift the front guard (C) and place the pile of paper onto the machine making sure it is positioned exactly against the ackgauge
(G) and side lay (H) on the left.
Turn the hand wheel of the paper clamp (D) to the right and pull it with a short jerk. The pile of paper is now fixed. Bring down the hand guard (C).
Release the blade lock (B) and move the blade lever (A) down using both hands.
After cutting the paper move the blade lever (A) back to its top position until the blade lever is locked. Turn the hand wheel of the paper clamp (D) to the left. Lift up the hand guard (C) and remove the paper from the machine.
Blade and cutting stick replacement

If the cutting quality decreases:
• Check the cutting depth (see page 21).
• Check the cutting stick (see page 14).
• Replace or re-grind the blade (see page 13 – 22).
The blade cannot be ground if the blade height is less than 83 mm / 3,29 inches.
A new blade must be used.
Purchase the new blade from Krug & Priester,
D -72336 Balingen only.
The blade may only be ground by a qualified workshop or from the manufacturer
Krug & Priester, D -72336 Balingen.
Danger! Risk of injury
The blade is extremely sharp. Do not dismount or transport the blade without protection. Changing the blade may only be performed by trained staff.
Changing the blade must be done from the front of the machine:
Lower the blade (A) to the cutting stick (L) with the blade lever, unscrew the blade screw (N) with the special wrench and attachable extension pipe (S) (tools in the tool set).
Move the blade lever (A) up and secure it.
Check the cutting stick:
Lift the cutting stick by hand and pull it out (1.).
If needed the cutting stick can be turned or exchanged. (The cutting stick can be used eight times).
Turn the hand-wheel to the right until the clamp is completely closed (3).
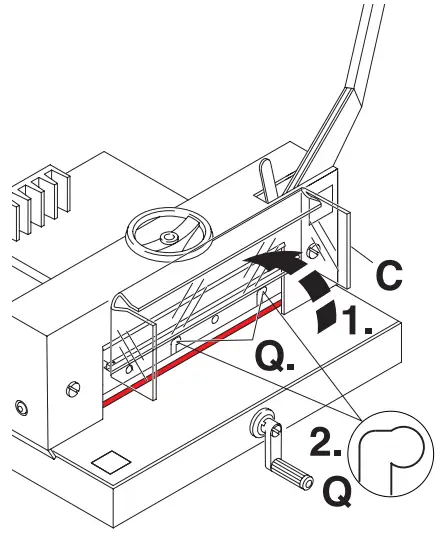
Lift front guard (C) (1.) and remove 2 blade screws on the elongated holes (Q) (2.)
Attach the blade changing tool (R) to the blade and screw tightly (1.).
Remove the remaining blade screws (2.).
Turn the grips on the blade changing tool one complete turn (1.).
Push the blade and blade changing tool (A) to the left and lower to remove (2.) Place the blade into the blade carrier (B) and screw it into place (3.).
Take the exchange blade carefully out of the blade box and screw it to the blade changing tool (A).
- The headless screws must not overlap the blade! (B).
- blade must be covered! (C).
Danger! Risk of injury
Place the blade to be exchanged, using the blade changing tool, into the blade carrier and push to the top and to the right.(1.) (see picture A) while doing so push both springs back.
It is only necessary to push back the springs if a polished blade is to be exchanged (see picture B).

Push the blade changing tool to the top with your hand (1.). First, lightly tighten the middle blade screw with your other hand (2.) and then lightly tighten the left screw (3.).
Remove the blade changing tool (R) (unscrew the handles).
Lightly tighten the 2 blade screws on the elongated holes (1.).
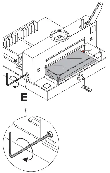
Turn the knob for blade depth adjustment (E) completely to the right (-).
Lower the blade (A) to the cutting stick (L) with the blade lever, lightly tighten the right blade screw (N) with the special wrench and. attachable extension pipe (S).
Check the cutting depth: Open the clamp and turn the hand-weel to the left (1.).
Remove all tools and place 1 sheet of paper along the entire cutting length.
- Lower the blade lever as far as it will go (2.).
- Press the blade holder (3.) lightly and turn the knob for blade depth adjustment (E) to the left (+) until the paper is cut along the entire width. (1 turn = 1,75 mm)
Danger! Blade must always be covered by the clamping bar. Risk of injury! (see picture below on the left).

Tighten the blade screw (N) with the special wrench and attachable extension pipe (S).
Move the blade lever (A) up and secure it. Lift front guard (C). Tighten the remaining 4 screws.
Maintenance and cleaning
Maintenance work may only be performed by trained staff.

From time to time all movable parts have to be lubricated (use special grease for cutting machines). All paper and dust should be removed, as well as and grease.
= Greasing points on the machine.

The blade lever (A) should never fall automatically. If necessary tighten the hexagon screw. Remove the cover (K), remove the two screws (P) on the cover (1.).
Loosen the screw on the hand wheel (2.) and remove it (3.). Release the blade lock (4.) and move the blade lever slightly to the left (5.).
Remove the cover (6.).
If required:
Turn the screw for blade depth adjustment (E) to the right. If the setting on the adjustment screw is altered then it must be turned back to its original position or the blade depth adjustment must be readjusted. (see page 21)
Possible malfuntions
Machine does not function!
Cut cannot be made.
- Close the front cover (C) (1.)
- Release the blade lock (2.) and pull down the hand lever (A) with both hands (3.).
Does not cut through the last sheet:
- Turn or turn around the cutting stick (L), (see page 14).
If required re-adjust the blade by turning the blade adjustment (E) to the left (+). (See page 21)
Cutting quality decreases or cutting is very difficult to make.
(Blade is blunt)
- change the blade (see page 13 – 22).
www.krug-priester.com
[email protected]
Did none of the specified solutions help you with your problem?
→ Contact: Service
www.krug-priester.com
[email protected]
No.
No. 9000 126
HSS-Blade
No. 9000 021 No. 9000 126
![]() | Blade No. 9000 021 |
![]() | Cutting stick (6 pieces) No. 9000 222 |
![]() | Blade changing tool¹ No. 9000 523¹ |
![]() | Grease tube¹ No. 9000 625¹ |
![]() | Brush¹ No. 9001 828¹ |
![]() | Stand No. 4700 1100 |

This machine is approved by independent safety laboratories.
The company is certified under the DIN EN ISO 9001:2015 and DIN EN ISO 14001 quality standards.
The exact technical specifications can be found on the technical specifications sticker on the machine.
To claim under guarantee, the machine must still carry its original identification label. Subject to alterations without notice.
Technical data

The company Krug + Priester has the following certifications:
- Quality management system according to DIN EN ISO 9001:2015
- Environmental management system according to DIN EN ISO 14001:2015
- Energy management system according to DIN EN ISO 50001:2018
Remarks:…………………..
IDEAL
Made in Germany
Document Shredders

Krug & Priester GmbH & Co. KG
Simon-Schweitzer-Str. 34
D-72336 Balingen (Germany)
www.krug-priester.com
9700144 IDEAL 01-2014 27.06.2022 zm





















