Wampat W02D2081L Modern Farmhouse Coffee Table, Square Wood Center Table with Storage

Thank you for choosing our products,please read the instructions carefully before installation,and please keep the instructions properly
Tips and tricks
- Do not attempt to move this furniture without first removing all equipment
- Death or serious injury may occur when children climb on audio and/or video equipment furniture. A remote control or toys placed on the furnishing may encourage a child to climb on the furnishing and as a result the furnishing may tip over onto the child.
- Please contact us using the details shown for further advice
WARNING fany parts are missing or damaged, do not return the damaged item to your dealer; contact Customer
Service. Never use damaged parts!
WHAT’S IN THE BOX

TOOLS

This illustration shows how the CAM fastening System works.

INSTALLATION
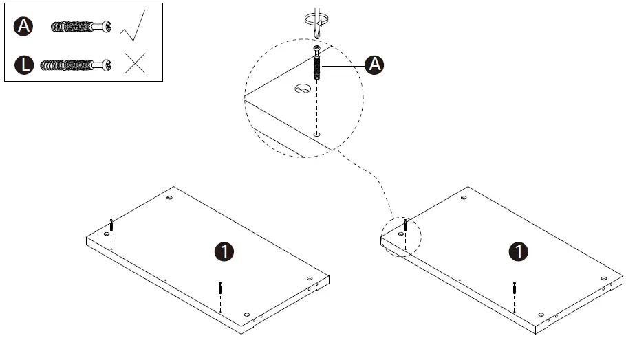
Step 1

Screw parts (A) into panels (1).

Step 2

Screw parts (L) into panel (2).

Step 3

- Insert dowel (M) into panel (2)
- then attach panel 3) to panel (2),
- Insert and secure cam locks (B) to panel (3) to lock it

Step 4

- Insert dowels (C) into panels (2,3),
- then attach panels (1) to panes (2.3),
- Insert and secure cam locks (B) to panels (2,3) to lock it.

Step 5

Screw arts (L) into panels (4,5).

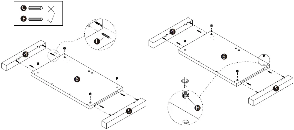
STEP 6

- Insert dowels (F) into panels (6),
- then attach panels (4,5) to panels (6),
- Insert and secure cam locks (H) to panels (6) to lock it

Step 7

- Screw parts (A) into panels (6),
- Screw parts (L) into panels (4,5),
- Secure pins () into panels(4,5).

Step 8

- Insert dowels (C) into panel (6),
- Insert dowels (F) into panels (4,5),
- then attach panels (1,2,3) to panels (4,5,6),
- Insert and secure cam locks (B) to panels (2,3) to lock it,
- Insert and secure cam locks (H) to panels (1) to lock it.

Step 9

- Insert dowels (C) into panels (2,3),
- Insert dowels (F) into panels (1),
- then attach panels (4,5,6) to panes (1,2,3,
- Insert and secure cam locks (B) to panels (2,3) to lock it,
- Insert and secure cam locks (H) to panels (1) to lock it.

Step 10

- Screw parts (A) into panel (7),
- then attach panel (7) to panes (6),
- Insert and secure cam locks (H)to panels (6) to lock it,
- Attach parts (0) to panels (4,5).

Step 11

- Screw parts (K) to panels (7,8) using parts(E).

Step 12

- Screw parts (G) to panels (6,8) using parts(D).

Step 13

Final Assembly
Dear customer:
Thanks for your purchase in our store.
Any questions, please contact us via Support @ s-wampat.com with below details:
- Purchase platform & order number
- Model number & Instruction version#
- The detailed photo (faulty part, damage part, if some parts are missing, please circle it/them on the manual instruction) and send to us
We’ll reply as soon as we receive your message (usually within 24 hours).



















