User Manual

Model Number: HG61X0543
You need
1 2 persons are needed

2 Take 15 minutes

| Technical Specifications | |
| Brand | JAXPETY |
| Size | 100*60*44.5cm |

Hardware List
| M6 X12mm | Ø15 X10mm |
| ||||
| A | 6PCS | B | 16PCS | C | 4PCS | D | 1PC |
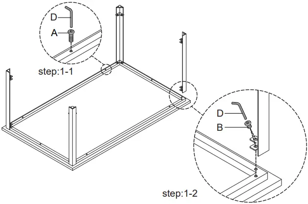
PRODUCT ASSEMBLY
Check the package contents before getting started !
STEP 1

STEP 2


Scan ! To find more surprise!




















