LNC A05099D 15.7-in Matte Black with Textured Glass Modern Contemporary Post Light

Product Information
- Item Number: A05099D
- Maximum Wattage: Type T, Max 60W per bulb
- Voltage: 120V
- Contact Number: +1 850 296 2377
- Working Hours: Mon – Fri 9:00 – 16:00 EST
- Email: [email protected]
Product Usage Instructions
- We suggest installation by a licensed electrician.
- Please read the instruction carefully and save them as you may need them at a later time.
- Before you start, NEVER attempt any work without shutting off the electricity until the work is done.
- Ensure the mounting surface is clean, dry, flat, strong enough, and 1/4 larger than the canopy on all sides. Correct any gaps exceeding 3/16 as required.
- Make sure that the ceiling or wall can support the weight of the lamp before installation.
- Ensure the voltage you are using is 120V. The maximum wattage is Type T, Max 60W per bulb.
- Keep the lamp away from acidic and alkaline substances to avoid damaging the surface of the lamp.
- When replacing bulbs, turn off or unplug the lamp and wait until it is cool as bulbs get hot quickly.
- The safety instructions in this manual do not cover all possible conditions. Use common sense, caution, and care when using any electrical products.
Assembly & Installation Instructions
- Carefully remove the fixture from the carton and check that all parts and accessories are included.
- Turn off the power before starting the installation.
- Make the assembly by screwing the glass shade (D) to the socket (F) as shown in the illustration.
- Connect wires according to the provided chart. Note that the ground wire is a bare copper wire and should not be connected to other wires.
- Refer to the illustration for connecting the ground wires properly.
- Follow the instructions for connecting black or red supply wire and white supply wire to the outlet box ground and fixture ground.
- Use the provided cupped washer for proper installation.
Item Number: A05099D
WARNING (To reduce the risk of fire, electric shock, or personal injury):
- We suggest installation by a licensed electrician.
- Please read the instruction carefully and save it as you may need it at a later time.
- Before you start, NEVER attempt any work without shutting off the electricity until the work is done.
- Go to the main fuse, or circuit breaker, box in your home.
- Place the main power switch in the “OFF” position.
- Place the wall switch in the “OFF” position.
- The mounting surface should be clean, dry, flat, strong enough and 1/4” larger than the canopy on all sides. Any gaps between the mounting surface and canopy exceeding 3/16” should be corrected as required.
- Make sure that the ceiling or wall can stand the weight of the lamp before installation.
- Make sure the voltage you are using is 120V. The maximum wattage is Type T, Max 60W per bulb.
- Keep the lamp away from acidic and alkaline substances in case of damaging the surface of the lamp.
- When replacing bulbs, you should turn off or unplug the lamp and you must wait until it is cool as bulbs get hot quickly.
- The safety instructions appearing in this manual are not meant to cover all possible conditions that may occur. It must be understood that common sense, caution and care must be used with any electrical products.
IMAGE FOR FINISHED PRODUCT
TOOLS REQUIRED
(NOT INCLUDED):
Before starting assembly and installation please prepare the needed tools as below picture
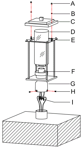
PARTS INCLUDING
- (A) Ball nut (2)
- (B) Gasket (2)
- (C) Cover (1)
- (D) Glass shade (1)
- (E) Frame (1)
- (F) Socket (1)
- (G) Post cap (1)
- (H) Screw (3)

ACCESSORIES ENCLOSED
- Plastic wire connector (3)
ASSEMBLY & INSTALLATION INSTRUCTIONS:
- Carefully remove the fixture from the carton and check that all parts and accessories are included as shown in the above illustration.
- Turn off power
- Before you start the installation, NEVER attempt any work without shutting off the electricity until the work is done.
- Go to the main fuse, or circuit breaker, box in your home.
- Place the main power switch in the “OFF” position.
- Place the wall switch in the “OFF” position.
- Make assembly

Step A1 »
- Unscrew gaskets (B) and ball nuts (A) from cover (C) and frame (E), then set them aside for later installation.
- Remove glass shade (D) from socket (F).
Step A2 »
- Install the bulb (Not included) (Please do not exceed the maximum wattage recommended on the socket.)
- Screw glass shade (D) to socket (F) as shown in the illustration.
- Step A3 » Attach cover (C) to frame (E) with the previously remove gaskets (B) and ball nuts (A) as shown in the illustration. Hand tighten until snug.
- Step A4 »Make wire connections
- Connect wires as below wires connection shown. PLEASE NOTE THAT GROUND WIRE IS BARE COPPER WIRE, NEVER CONNECT OTHER WIRES TO GROUND WIRES.
Connect ground wires according to the below chart
Twist wires together with plastic wire connectors (G) until tightly joined, and wrap each connector with approved electrical tape. Be sure that no wire strands.
- Step A5 » 1) Insert screws (H) into holes of the post cap (G) as shown in the illustration.
- Please do not fully tighten screws (H) in this step
- Carefully tuck all wires into the outlet box, and then put the lamp down until cover the outlet box.
- Screw screws (H) tightly to fix the lamp.
- Check everything is installed properly, then you could turn on the light. Enjoy!
ORDERING PARTS
Keep this sheet for future reference in case you need to order replacement parts. All parts for this fixture can be ordered from the place of purchase. Be sure to use exact wording from illustrations when ordering parts.
CLEANING
- To clean, wipe the fixture with a soft cloth. Clean glass with a mild cleaner (such as mild and non-abrasive soap). Do not use abrasive materials such as scouring pads or powders, steel wool, or abrasive paper.
- +1 850 296 2377 Working hours: Mon – Fri 9:00 – 16:00 EST [email protected]





















