
17L 1800W
Programmable
Microwave
Instruction manual

Model • FB865
Safety Tips
To reduce the risk of fire, electric shock, injury to persons or exposure to excessive microwave oven energy when using your appliance, follow basic precautions, including the following:
PRECAUTIONS TO AVOID POSSIBLE EXPOSURE TO MICROWAVE ENERGY
Do not attempt to operate this oven with the door open, since this can result in harmful exposure to microwave energy. It is important not to break or tamper with the safety interlocks.
Do not place any object between the oven front face and the door or allow soil or cleaner residue to accumulate on sealing surfaces.
Warning: If the door or door seals are is damaged, the oven must not be operated until it has been repaired by a competent person.
- Position on a flat, stable surface.
- A service agent/qualified technician should carry out installation and any repairs if required. Do not remove any components on this product.
- Consult Local and National Standards to comply with the
following:
– Health and Safety at Work Legislation
– BS EN Codes of Practice
– Fire Precautions
– IEE Wiring Regulations
– Building Regulations
• Warning: Liquids and other foods must not be heated in sealed containers since they are liable to explode. - Warning: It is hazardous for anyone other than a competent person to carry out any service or repair operation that involves the removal of a cover that gives protection against exposure to microwave energy.
- Only use utensils suitable for use in microwave ovens.
- The oven should be cleaned regularly and any food deposits should be removed.
- When heating food in plastic or paper containers, keep an eye on the oven due to the possibility of ignition.
- If smoke is observed, switch off or unplug the appliance and keep the door closed in order to stifle any flames.
- Do not overcook food.
- Do not use the oven cavity for storage purposes. Do not store items, such as bread, cookies, etc. inside the oven.
- Remove wire twist-ties and metal handles from paper or plastic containers/bags before placing them in the oven.
- Install or locate this oven only in accordance with the installation instructions provided.
- Eggs in the shell and whole hard-boiled eggs should not be heated in microwave ovens since they may explode, even after microwave heating has ended.
- Use this appliance only for its intended uses as described in the manual. Do not use corrosive chemicals or vapors in this appliance. This oven is specially designed to heat. It is not designed for industrial or laboratory use.
- Do not store or use this appliance outdoors.
- Do not use this oven near water, in a wet basement, or near a swimming pool.
- The temperature of accessible surfaces may be high when the appliance is operating. The surfaces are liable to get hot during use. Keep the cord away from the heated surface, and do not cover any vents on the oven.
- Do not let the cord hang over the edge of the table or counter.
Failure to maintain the oven in a clean condition could lead to deterioration of the surface that could adversely affect the life of the appliance and possibly result in a hazardous situation. - Warning: The contents of feeding bottles baby food jars shall be stirred or shaken and the temperature checked before consumption, in order to avoid burns.
- Warning: Microwave heating of beverages result in delayed eruptive boiling, therefore care must be taken when handling the container.
- Liquids such as water, coffee, and tea can overheat beyond the boiling point without appearing to be boiling.
- Always switch off and disconnect the power supply to the unit before cleaning or carrying out maintenance.
- Keep all packaging away from children. Dispose of the packaging in accordance to the regulations of local authorities.
- If the power cord is damaged, it must be replaced by a BUFFALO agent or a recommended qualified technician in order to avoid a hazard.
- This appliance is not intended for use by persons (including children) with reduced physical, sensory or mental capabilities, or lack of experience or knowledge unless they have been given supervision or instruction concerning the use of the appliance by a person responsible for their safety.
- Children should be supervised to ensure that they do not play with the appliance.
- Do not operate the oven when empty.
- The microwave oven shall not be placed in a cabinet unless it has been tested in a cabinet.
- The appliance is not intended to be operated by means of an external timer or separate remote-control system.
- Do not use jet/pressure washers to clean the appliance.
- Buffalo recommends that this appliance should be periodically tested (at least annually) by a Competent Person. Testing should include, but not be limited to: Visual Inspection, Polarity Test, Earth Continuity, Insulation Continuity, and Functional Testing.
- Buffalo recommends that this product is connected to a circuit protected by an appropriate RCD (Residual Current Device).
Introduction
Please take a few moments to carefully read through this manual. Correct maintenance and operation of this machine will provide the best possible performance from your BUFFALO product.
Pack Contents
The following is included:
• Microwave Oven
• Instruction manual
BUFFALO prides itself on quality and service, ensuring that at the time of packaging the contents are
supplied fully functional and free of damage.
Should you find any damage as a result of transit, please contact your BUFFALO dealer immediately.
Installation
- Remove all packaging materials. Make sure that all protective plastic film and coatings are thoroughly
removed from all surfaces.
Warning: Check for any of the following damage that may have occurred:
• Misaligned or bent door, damaged door seals/sealing surface, broken/loose door hinges, dents in the oven interior.
• DO NOT operate the oven if any damage is found. Call a BUFFALO agent or qualified Technician. - Position the oven on a flat, stable, and heat-resistant surface. For sufficient ventilation, allow a minimum of 30cm of space above the oven, 10cm at the back and sides.
Note: Do not cover or block any openings on the appliance, or remove the feet. - Place the oven as far away from radios and TV as possible as operation of the appliance may cause interference to your radio or TV reception.

Stacking the appliance
Note: To save space, a maximum of 2 appliances can be stacked together. For details, please follow below instructions.
- Loosen the screws that fix the mounting plates. Then remove the mounting plates and re-tighten the
screws in place (Step A). - Remove the 4 screws as shown in Step B.
- Locate the mounting plates to the joined parts of the 2 ovens, then fix with the screws just removed (Step C).

Utensils
See the instructions in this chapter for utensils to use/avoid with microwaving. If in doubt, please check
the manufacturer’s instructions if your utensil is microwave-safe or not.
Materials you can use in a microwave oven
| Utensils (Not Included) | Remarks |
| Browning dish | Follow manufacturer’s instructions. The bottom of the browning dish must be placed smoothly on the ceramic board. Incorrect usage may the ceramic board to break. |
| Dinnerware | Microwave-safe only. Follow manufacturer’s instructions. Do not use cracked or chipped dishes. |
| Glass jars | Always remove the lid. Use only to heat food until just warm. Most glass jars are not heat resistant and may break. |
| Glassware | Heat-resistant oven glassware only. Make sure there is no metallic trim. Do not use cracked or chipped dishes. |
| Oven cooking bags | Follow manufacturer’s instructions. Do not dose with a metal tie. Make slits to allow steam to escape. |
| Paper plates and cups | Use for short-term cooking/warming only. Do not leave the oven unattended while cooking. |
| Paper towels | Use to cover food for reheating and absorbing fat. Use with supervision for short-term cooking only. |
| Parchment paper | Use as a cover to prevent splattering or a wrap for steaming. |
| Plastic | Microwave-safe only. Follow the manufacturer’s instructions. Should be labeled “Microwave Safe”. Some plastic containers soften, as the food inside gets hot. “Boiling bags” and tightly closed plastic bags should be slit, pierced or vented as directed by the package. |
| Plastic wrap | Microwave-safe only. Use to cover food during cooking to retain moisture. Do not allow plastic wrap to touch food. |
| Thermometers | Microwave-safe only (meat and candy thermometers) |
| Wax Paper | Use a cover to prevent splattering and to help retain moisture |
Materials to be avoided in a microwave oven
| Utensils (Not Included) | Remarks |
| Aluminum tray | May cause arcing. Transfer food into microwave-safe dish |
| Food carton with metal handle | May cause arcing. Transfer food into microwave-safe dish |
| Metal or metal-trimmed utensils | Metal shields the food from microwave energy. Metal trim may cause arcing |
| Metal twist ties | May cause arcing and could cause a fire in the oven |
| Paper bags | May cause a fire in the oven |
| Plastic foam | The plastic foam may melt or contaminate the liquid inside when exposed to high temperature |
| Wood | Wood will dry out when used in the microwave oven and may split or crack |
Materials to be avoided in a microwave oven
| Utensils (Not Included) | Remarks |
| Aluminum tray | May cause arcing. Transfer food into microwave-safe dish |
| Food carton with metal handle | May cause arcing. Transfer food into microwave-safe dish |
| Metal or metal-trimmed utensils | Metal shields the food from microwave energy. Metal trim may cause arcing |
| Metal twist ties | May cause arcing and could cause a fire in the oven |
| Paper bags | May cause a fire in the oven |
| Plastic foam | The plastic foam may melt or contaminate the liquid inside when exposed to high temperature |
| Wood | Wood will dry out when used in the microwave oven and may split or crack |
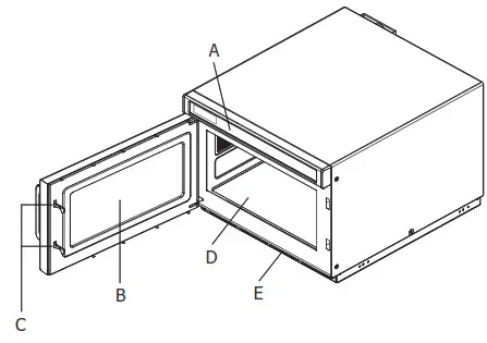
Knowing your appliance
![]() | A) Control panel B) Observation window C) Safety interlock system D) Ceramic board E) Filter Note: 1. DO NOT press the ceramic board forcibly. 2. Take and put utensils gently to avoid damage to the ceramic board. 3. After use, DO NOT touch the ceramic board with your hand to avoid high-temperature scalding. |
Control panel
(1) Defrost button
(2) Power level button
(3) Time Entry Button
(4) X2 Button
(5) X3 Button
(6) Number buttons
(7) Stop/Reset Button
(8) Start Button
Appendix A: User Options
Bold values in the table below are the default settings.
| Option | Setting | Description |
1 EOC Tone | OP:10 | 3 seconds beep |
| 0711 | Continuous beep | |
| OP:12 | 5 quick beeps, repeating | |
2 | 0P:20 | Beep” Off |
| OP:21 | Low | |
| OP:22 | Medium | |
| 0723 | High | |
3 | O730 | Key beep Off |
| OP:31 | Key beep On | |
4 | O740 | 15 seconds |
| O74 1 | 30 seconds | |
| OP:42 | 60 seconds | |
| OP:43 | 120 seconds | |
5 | O750 | On-die-My Diode |
| OP:51 | On-the-fly Enabled | |
6 | OP:60 | Door reed Disabled |
| OP:61 | Door reset Enable | |
7 | OP:70 | 60 Minute Maximum cook time |
| 0771 | 10 Minute Maximum cook time | |
8 | OPEC | Koval Programmmg Disable |
| OP:111 | Manual Programming Enabled | |
9 | OP:90 | Single Digit Mode -10 programs |
| 0791 | Double-Digit Mode – 100 programs | |
0 | O700 | Off – Never Crsplay “Clean filter |
| O701 | Weekly – Display every 7 days | |
| OP:02 | Monthly – Display every 30 days | |
| 0703 | Quarterly – Cadet every 90 days |
Appendix B: Default Cooking Time
The oven will be shipped with the following Preset Cook Time unless otherwise noted in the product Specification.
| Number Button | Display (Time in Minute) | Power |
| 1 | 0:10 | 100% |
| 2 | 0:20 | 100% |
| 3 | 0:30 | 100% |
| 4 | 0:45 | 100% |
| 5 | 1:00 | 100% |
| 6 | 1:30 | 100% |
| 7 | 2:00 | 100% |
| 8 | 2:30 | 100% |
| 9 | 3:00 | 100% |
| 0 | 3:30 | 100% |
Operation
- Power up
When the oven is electrified for the first time, “——-” is shown. If the button is pressed, the oven will
change to idle mode.
Note: Under idle mode, pressing any button will have no response. - Idle Mode
1. Entry: The oven will enter idle mode after a set of seconds have expired in Ready Mode without a
keyboard pressed or the door opened and closed. The number of seconds is determined by the keyboard
Timeout Window, set by User Option 4.
2. During idle mode, the display is blank. And there will be no oven activity. - Ready Mode
In this mode, the oven is ready to begin either a manual or preset cooking cycle.
1. Opening and closing the door while in Idle Mode will put the oven into Ready Mode.
2. During Ready Mode, “READY” is shown.
3. From the Ready Mode, the oven can go to almost all of the other modes. - Door Open Mode
1. When the door is open, the oven will enter Door Open Mode.
2. During this mode, the display is blank.
• Note: If the door is open during the cooking state, “DOOR” and “OPEN” will be shown successively. Then the remaining cooking time will be shown. And the fan and oven lamp will work.
3. When the door is closed, the oven will enter Ready Mode.
• Note: When the door is open, if User Option OP:60 is selected and the oven was running a manual
or preset cook cycle, the oven will enter Pause Mode. In all other cases, the oven will return to Door
Open Mode with User Option OP:61 selected. Opening and then closing the door will clear out any
information about a Manual or Preset Program which was running. - Pause ModeThis mode enables the user to temporarily stop the cooking cycle so as to inspect or stir food.
1. While in Manual Cook Mode or Preset Program Cook Mode, if the door is open and then closed, or if
is pressed, the oven will enter Pause Mode.
2. While paused, the display will show the remaining cooking time.
3. Pause Mode will return to Idle Mode in the exact fashion as Ready Mode, depending on User Option 4
setting. Additionally, if the button is pressed, the oven will immediately enter Ready Mode. Or if button is pressed, the oven will continue to run the cooking cycle. - Manual Cook Mode
The user can manually set cooking time and power level while in this mode.
1. While in Ready Mode, press the button to enter Manual Cook Mode. The display will show“00:00”.
2. Press the number buttons to set the cooking time as needed.
3. Press the button. The display will show “%POWER”.
4. Press the number buttons to set the power level, and the corresponding power level will be shown. If to
set the full power level, just press “1” and “0” successively. Then the display will show”%POWER”. If no power is chosen, 100% power will be the default.
5. Press to start manual cooking.
6. Remaining cooking time is displayed. The fan and oven lamp will work.
7. When the cooking program finishes, the oven will enter the End of Cook Cycle Mode. - End of Cook Cycle Mod1. After a Manual Cook Mode or a Preset Program Cook Mode finishes, the oven will enter End of Cook Cycle Mode.
2. During this mode, “DONE” is shown.
3. If User Option OP:11 or OP:12 is selected, the oven will continue to sound until the user acknowledges this by either opening and then closing the door OR pressing. If User Option OP:10 is selected, after 3 seconds of beeping, the oven will enter Ready Mode. - Preset Program Cook Mode
1. This mode allows cooking through a one-button-touch operation. While in Ready Mode, press one of the number buttons to run a Preset Program for relative cooking time.
2. The remaining cooking time is shown. If it is multi-stage cooking, the total remaining cooking time is displayed.
3. When the cooking program finishes, the oven will enter the End of Cook Cycle Mode. - On the Fly Cooking
1. While the oven is cooking if User Option OP:51 is selected, pressing a number button will enable a
preset cooking program to start automatically.
2. The display shows the remaining cooking time.
3. When the cooking program finishes, the oven will enter the End of Cook Cycle Mode. - Defrost Function
1. In Ready Mode, Press “ ” button. The display will show“00:00”
2. Press the number buttons to set the defrosting time as needed. The maximum time is 99 minutes and 99 seconds.
3. Pres0s to start manual defrosting. The default power level is 20%.
4. The remaining cooking time is displayed.
5. When the cooking program finishes, the oven will enter the End of Cook Cycle Mode. - Programming Mode
This mode allows the user to set the cook time and power level to the preset programs of the number
buttons.
1. Open the door. Then press the number button “1” for 5 seconds. The buzzer will sound once and
enter Programming Mode.
2. “PROGRAM” is shown.
3. Press the desired number button to set the program. 2 seconds later, the preset time associated with
that number button will be shown.
4. Now you can press the number buttons to set the desired cooking time.
5. Press the button. The display will show “%POWER”. Now press the number buttons to set the power level, and the corresponding power level will be shown. If to set the full power level, just press “1”
and “0” successively. Then the display will show ”%POWER”. If no power is chosen, 100% power will be
the default.
6. After setting cooking time and power, press to save. When saved, “PROGRAM” is shown.
• Note: If all the cooking time exceeds the maximum time allowed by User Option 7, when pressing
to save the program, the buzzer will sound 3 times to indicate the time is not valid. Then the
display will turn back to show “PROGRAM”. The time set before will have no change.
7. Close the door, the oven will turn back to Ready Mode.
• Note: If pressing during setting, the oven will turn to Door Open Mode. The program that is not
saved will be lost. If there is a program saved as a memory program, pressing the related number button
will start the saved program. If no program is saved, the buzzer will alarm when pressing number buttons and thus it will not work.For example, if desired to set a program as a memory program, with a power level 70% and cooking time of 1 minute and 25 seconds, please follow the below operations: Step1: Open the door. Then press the number button “1” for 5 seconds, “PROGRAM” is shown. Step2: Press the number button, e.g. “3′; the display will show “P:03″. After 2 seconds, the preset cooking time ” :30″ is shown. Step3: Press number buttons “I”, “2” and “5” to set the cooking time. Step4: Press “at button first. Then press “7” to set the power level 70%. The display will show “1:25 70”. The setting is now finished. Step5: Press 0°. S to save. “PROGRAM” is shown again. When to use the program next time, just TART press the number button “3”, the related program will start automatically. Note:
• If the power supply is cut off, the saved program will not be lost.
• If the program needs to reset, just repeat the above steps.
• If pressing at the last step, it will return to the Door Open Mode. All settings will not be saved. - Double/Triple cooking time
By using the “X2” / “X3” button, the user can easily set the doubled/tripled cooking time for a particular food item.
1. In Ready mode, press“X2” / “X3” button first, then within 5 seconds press a number button (0-9) to
start cooking with the doubled/tripled cooking time; OR, press a number button (0-9) to start cooking
first, then within 5 seconds press the “X2” / “X3” button to start cooking with the doubled/tripled cooking
time.
2. When pressing “X2” / “X3”, the display will show “DOUBLE” / “TRIPLE”. When pressing number
buttons, the doubled/tripled cooking time will be shown.
• For example, press the number button “5” (whose preset time is 1 minute) first. Then press “X2” / “X3”,
the total cooking time will change to 1:00 x 2/3 = 2/3 (that is, 2 minutes or 3 minutes).
3. When the cooking program finishes, the oven will enter the End of Cook Cycle Mode. - Stage Cooking Program
This function allows the user to cook food items a combination of various Power Levels. Three stages can be set at most.
1. After setting cook time and power for the first stage, press to set the second stage. Then the same step to
2. Press to save.
| Example: If desired to set a 3-stage cooking cycle as a memory program (The first stage is with a cook time of 1 minute and 25 seconds and power level 70%; the second stage with a cook time of 5 minutes and 40 seconds and power level 50%; the third stage with a cook time of 1 minute and 30 seconds and power level 20%), please follow below operations: | |
| Step: | Open the door. Then press the number button “1” for 5 seconds, “PROGRAM” is shown. |
| Step2: | Press the number button, e.g. “3”, the display will show “P:03″. After 2 seconds, the preset cooking time ” :30″ is shown. |
| Step3: | Press number buttons “1”, “2” and “5” to set the cooking time. “1:25” is shown. |
| Step4: | Press the FeWER button first. Then press “7” to set the power level 70%. “1:25 70” is shown. Now the first stage is finished. |
| Step5: | Press may. “STAGE-2” is shown. |
| Step6: | Press number buttons “5”, “4”, “0” to set the cooking time. “5:40” is shown. |
| Step7: | Press the PMER button first. Then press “5” to set the power level 50%. “5:40 50” is shown. Now the second stage is finished. |
| SteP8: | Press TIME. “STAGE-3” is shown. |
| Step9 | Press number buttons “1”, “3”, “0” to set the cooking time. “1:30” is shown. |
| Step10 | Press “ER button first. Then press “2” to set the power level 20%. “1:30 20” is shown. Now Lea the third stage is finished. |
| SteP11: | Press Club to save. “PROGRAM” is shown again. When to use the program next time, just Ma press the number button “3”, the program will start automatically. |
14. “CLEAN FILTER” reminding function
- If User Option OP:01 is selected and the set time expires, the oven will remind the user to clean the filter.
• Note: The oven must be powered up. - The display will show “CLEAN FILTER”. At this time, pressing a button or opening the door will put the oven into Ready Mode.
- If not desired to clean the filter, just press the button and hold for 3 seconds to clear out the reminder information. Otherwise, the oven will keep reminding constantly during Idle Mode.
15. User Option Mode This allows the user to choose between various ways for the oven to operate.
1. Open the door and press “2” for 5 seconds to enter User option mode.
2. The display shows “OP: – -”.
3. Press any number button to enter the related mode setting.
• For example: Setting the voice of the buzzer to medium. Press “2”, “OP:22” is shown. If you want to change, keep pressing “2”, the display will show “OP:20”, “OP:21”, ”OP:22”, ”OP:23”, “OP:20”…..in the cycle. - Press to save the current setting. After saving, “OP: – -” is displayed again.
Notes:
• During setting, press to enter Door Open Mode. Close the door to enter Ready Mode.
• If the button is not pressed at the last step, the program cannot be saved but returns to the previous state.
16. Factory-default setting
In ready mode, press and “0” to check the factory-default setting. The buzzer sounds once and the
the display will show “CHECK”.
• If it is in the factory default setting, the display will show “11”.
• If NOT in the factory default setting, the display will show “00”.
• If desired to restore the default setting, press again. The display will show “CLEAR” first, then
“CHECK” and finally “11” . Now the factory default settings are restored.
Note: Be careful of the operations as it will restore all the factory-default settings.
Note: Should the restoration of default settings fail, please just repeat the above operations.
Cleaning, Care & Maintenance
• Warning: Switch off and disconnect from the power supply before cleaning and maintenance.
• Always keep the oven clean!
• Clean the door frame, seal, and neighboring parts carefully with a damp cloth when dirty.
Cleaning the door and oven front face
• For best performance and to maintain a high degree of safety, the inner door panel and oven front face should be free of food or grease build-up.
• Wipe these parts with a mild detergent, rinse and wipe dry. Never use abrasive powders or pads.
Cleaning the control panel and plastic parts
• Do not apply a detergent or an alkaline liquid spray to the control panel and plastic parts, as this may cause damage to these parts.
• Use a dry cloth (not a soaked cloth) to clean these parts.
• Do not allow the control panel to become wet.
Cleaning the oven interior
• After use be sure to remove spilled liquids, spattered oil, and food debris as quickly as possible.
• If the oven is used when dirty, efficiency drops, and the dirt gets stuck on the oven surface. This may cause bad odors.
• Clean the interior with a cloth soaked in luke-warm water with a mild detergent dissolved in it, then
rinse the soap off with a damp cloth.
Remove any odors in the oven interior by microwaving a cup of water with the
juice of 1 lemon for 5 minutes. Wipe the oven clean with a soft dry cloth.
Caution:
Personal Injury Hazard! It is hazardous for anyone other than a competent person to carry out any service or repair operation that involves the removal of a cover that gives protection against exposure to microwave energy.
Caution:
Do Not wipe plastic and painted sections of the oven with bleach, thinners, or other cleaning agents, as this may cause these parts to dissolve or distort.
Caution: For the removable oil baffle and filter, always ensure to:
• Clean them in time!
• Install them correctly after cleaning and before use of the oven.
Cleaning the oil baffle
The oven is featured with a removable oil baffle for easy and thorough cleaning. The baffle is located
underneath the interior ceiling of the oven.
• To remove the baffle, hold the two buckles in front of the oil baffle. Exert strength
following the direction of the arrows and pull downwards after you have pulled out
the buckles.
• Clean the baffle with a mild detergent, rinse and wipe dry.
• To install the oil baffle, hold it slant and insert a pin on the rear into the positioning hole on the oven back wall first, then push the other side to insert all other pins into the positioning holes.

Cleaning the filter
The oven is featured with a removable filter for easy and thorough cleaning.
• Loosen the fixing nails (Step A), then remove the filter (Step B).
• Clean the filter with a soft brush.
• Locate the filter in place and fix it with the nails (Step C).
Troubleshooting
If your BUFFALO appliance develops a fault, please check the following table before making a call to the Helpline or your BUFFALO dealer.
Fault | Probable Cause | Solution |
| The unit is not working | The unit is not switched on | Check the unit is plugged in correctly and switched on |
| Plug and lead are damaged | Call BUFFALO agent or qualified technician | |
| Fuse in the plug has blown | Replace the plug fuse | |
| Power supply | Check power supply | |
| Internal wiring fault | Call BUFFALO agent or qualified technician | |
| The door is not closed properly | Close door securely | |
| Arcing/Sparking | Metallic or other inappropriate materials are being used in food preparation | Remove metal objects. Use microwave-safe utensils only |
| Spilled food remains inside the oven | Clean the interior of the oven | |
| The oven is operated when empty | Do not operate the oven when empty. It is very dangerous | |
| Microwave oven interfering with TV reception | Radio and TV reception interferes when then the appliance is operating | It is normal |
| Steam accumulating on the door and hot air out of vents | In cooking, steam may come out of food. Most will get out of vents but some may accumulate in cool places like the oven door | It is normal |
| Dim oven light | In low power microwave cooking, oven light may become dim | It is normal |
| Intermittent microwave output | Stop microwave output for 75 seconds, then the microwave output will return to 100% | |
Technical Specifications
| Model | Voltage | Power | Microwave Output | Oven Capacity | Operation Frequency | Dimensions h x w x d (mm) | Weight (kg) |
| FB865 | 230-240V,v 50Hz | 3000W | 1800W | 17L | 2450MHz | 340 x 420 x 563 | 31.6 |
| FE143-E | 230″ 50Hz |
Electrical Wiring
This appliance is supplied with a 3 pin BS1363 plug and lead.
The plug is to be connected to a suitable mains socket.
This appliance is wired as follows:
• Live wire (colored brown) to the terminal marked L
• Neutral wire (colored blue) to the terminal marked N
• Earth wire (colored green/yellow) to terminal marked E
This appliance must be earthed.
If in doubt consult a qualified electrician.
Electrical isolation points must be kept clear of any obstructions. In the event of any emergency disconnection being required they must be readily accessible.
Compliance
The WEEE logo on this product or its documentation indicates that the product must not be disposed of as household waste. To help prevent possible harm to human health and/or the environment, the product must be disposed of in an approved and environmentally safe recycling process. For further information on how to dispose of this product correctly, contact the product supplier, or the local authority responsible for waste disposal in your area.
BUFFALO parts have undergone strict product testing in order to comply with regulatory standards and specifications set by international, independent, and federal authorities BUFFALO products have been approved to carry the following symbol:

![]()
All rights reserved. No part of these instructions may be produced or transmitted in any form or by any means, electronic,
mechanical, photocopying, recording or otherwise, without the prior written permission of BUFFALO.
Every effort is made to ensure all details are correct at the time of going to press, however, BUFFALO reserves the right to
change specifications without notice.
DECLARATION OF CONFORMITY
• Conformiteitsverklaring
Equipment Type
Model
Application of Council Directives(s)
Toepassing van Europese Richtlijn(en)
Producer Name
Producer Address
1. Programmable Commercial Microwave – 17Ltr
1800watt – UK & IE
2. Programmable Commercial Microwave – 17Ltr
1800watt – EU (not IE)
1. FB865
2. FE143-E
Low Voltage Directive (LVD) 2014/35/EU – recast of
2006/95/EC
60335-1:2012 + A11:2014 +A13:2017
60335-2-90:2006 +A1:2010
62233:2008
Electro-Magnetic Compatibility (EMC) Directive
2014/30/EU – recast of 2004/108/EC
55011:2016 +A1:2017
55014-2:2015
55032:2015
55035:2017
61000-3-2:2014
61000-3-11:2000
Restriction of Hazardous Substances Directive (RoHS)
2015/863 amending Annex II to Directive 2011/65/EU
Buffalo
| Fourth Way, Avonmouth, Bristol, BS11 8TB United Kingdom | 42 North Point Business Park New Mallow Road Cork Ireland |
I, the undersigned, hereby declare that the equipment specified above conforms to the above Directive(s) and Standard(s).
Date
Signature
Firma
Full Name
Nome completo
Position
| the 7 January 2020 |
![]() |
| Ashley Hooper |
| Technical & Quality Manager |

| UK | |
| Eire | +44 (0)845 146 2887 |
| NL | 040 — 2628080 |
| FR | 01 60 34 28 80 |
| BE-NL | 0800-29129 |
| BE-FR | 0800-29229 |
| DE | 0800 – 1860806 |
| IT | N/A |
| ES | 901-100 133 |
| PT | [email protected] |


http://www.buffalo-appliances.com/
FB865_FE143-E_UK_A5_v1_20201102




















