HEAVY-DUTY COMMERCIAL
MICROWAVE WITH TOUCH CONTROLS
Installation and Operating Instruction Manual
Visit www.wincous.com for manuals

For California Customers
WARNING: Cancer and Reproductive Harm –www.P65Warnings.ca.gov
| Model | Voltage | Power | Amperage | Plug Type | Overall Dimensions | Product Weight | ||
| Length | Depth | Height | ||||||
| EMW-1800AT | 208/230V-60Hz-1Ph | 1800W | 18A | NEMA 6-20P | 22-5/8″ (574mm) | 20-3/e (526mm) | 14-1/2″ (368mm) | 71.2 lbs 32.3 kgs |
| Interior Dimensions | ||||||||
| EMW-2100BT | 2100W | Length | Depth | Height | ||||
| 14-1/8″ (360mm) | 16-1/8″ (409mm) | 8-7/8″ (225mm) | ||||||
Form No. EMW-1800AT & EMW-2100BT Manual – 09/21
BEFORE OPERATING ANY EQUIPMENT, READ AND FAMILIARIZE YOURSELF WITH THESE USE AND SAFETY INSTRUCTIONS
Congratulations on your purchase of this SPECTRUM commercial equipment. When used as intended, and with proper care and maintenance, you are sure to experience years of reliable operation from this equipment. To ensure best results, it is important that you read and follow the instructions in this manual carefully. It is important to keep these instructions in a safe place for future reference.
Important For Future Reference
PLEASE COMPLETE THIS INFORMATION AND RETAIN THIS MANUAL FOR THE LIFE OF THE EQUIPMENT. FOR WARRANTY SERVICE AND/OR PARTS, THIS INFORMATION IS REQUIRED.
MODEL NUMBER
WARNING: IMPROPER INSTALLATION, ADJUSTMENT, ALTERATION, SERVICE, OR MAINTENANCE CAN CAUSE PROPERTY DAMAGE, INJURY, OR DEATH. READ THE INSTALLATION, OPERATION, AND MAINTENANCE INSTRUCTIONS THOROUGHLY BEFORE INSTALLING OR SERVICING THIS EQUIPMENT.
CAUTION: THESE MODELS ARE DESIGNED, BUILT, AND SOLD FOR COMMERCIAL USE ONLY. IF THESE MODELS ARE POSITIONED SO THE GENERAL PUBLIC CAN USE THE EQUIPMENT, MAKE SURE THAT CAUTION SIGNS, WARNINGS, AND OPERATING INSTRUCTIONS ARE CLEARLY POSTED NEAR EACH UNIT SO THAT ANYONE USING THE EQUIPMENT WILL USE IT CORRECTLY AND NOT INJURE THEMSELVES OR HARM THE EQUIPMENT.
WARNING: A FACTORY-AUTHORIZED SERVICE PROVIDER SHOULD HANDLE ALL MAINTENANCE
AND REPAIR. BEFORE DOING ANY MAINTENANCE OR REPAIR, FOLLOW THE SERVICE SETUP ARRANGEMENT ON PAGE 17.
Introduction
Congratulations on the purchase of your SPECTRUM™ Commercial Equipment. Please take time to carefully read through this manual to ensure the machine is operated and maintained properly, to ensure the best possible performance from the product for many years. SPECTRUM will not accept liability for the following if:
- The instructions in this manual have not been followed correct
- Non-authorized personnel has tampered with the machine.
- Non-original spare parts are used.
- The machine has not been handled and cleaned correctly.
- There is any use damage to the unit.
Immediately Inspect for Shipping Damage
All containers should be examined for damage before and during unloading. The freight carrier has assumed responsibility for its
safe transit and delivery. If equipment is received damaged, either apparent or concealed, a claim must be made with the delivering carrier.
A. Apparent damage or loss must be noted on the freight bill at the time of delivery. It must then be signed by the carrier representative (Driver). If this is not done, the carrier may refuse the claim. The carrier can supply the necessary forms.
B. If concealed damage or loss is not apparent until after the equipment is uncrated, a request for inspection must be made to the carrier within 15 days. The carrier should arrange an inspection. Be certain to keep all contents and packaging material.
Package Contents
All units come with an Operating Instruction Manual and the following:
- SPECTRUM™ Heavy Duty Commercial Microwave with Touch Controls SPECTRUM prides itself on quality and service, ensuring that at the time of packing, all products are supplied fully functional and free of damage. Should you find any damage as a result of freight, please contact your SPECTRUM dealer immediately.
Unpacking the Equipment
DISPOSE OF ALL PACKAGING MATERIALS IN AN ENVIRONMENTALLY RESPONSIBLE MANNER.
- Remove all packing materials and tape, as well as any protective plastic and cardboard, from the unit.
- Clean any glue residue leftover from the plastic or tape.
- Place the unit in the desired position and height.
Installation and start-up must be performed by a qualified installer who has thoroughly read, understands and follows these instructions.
PLEASE KEEP THIS MANUAL IN A SAFE PLACE FOR FUTURE USE!
NOTE
Please remember that this manual and the warning labels do not replace the need to be alert, to properly train and supervise operators, and to use common sense when using this equipment.
Important Safeguards
To ensure safe installation and operation, please carefully read and understand the following statements. Unless the operator is adequately trained and supervised there is a possibility of serious injury. Owners of this equipment bear the responsibility to make certain that this equipment is used properly and safely, and to strictly follow all of the instructions contained in this manual and the requirements of local, state or federal law. Owners should not permit anyone to touch this equipment unless they are over 18 years old, are adequately trained and supervised, and have read and understood this manual. Owners should also ensure that no customers, visitors or other unauthorized personnel come in contact with this equipment. It is the responsibility of the owner and the operator to remain alert to any hazards posed by the function of this equipment.
If there is ever uncertainty about a particular task or the proper method of operating this equipment, ask an experienced supervisor.
Warnings
This manual contains a number of precautions to follow to help promote safe use of this equipment.
WARNING
DO NOT TOUCH HOT LIQUID OR HEATING SURFACES WHILE THE UNIT IS HEATING UP OR OPERATING.
FOR YOUR SAFETY
Do not store or use gasoline or other flammable vapors and liquids in the vicinity of this or any other appliance.
WARNING
Improper installation, adjustment, alteration, service or maintenance can cause property damage, injury or death. Read this installation, operating and maintenance instructions thoroughly before installing or servicing this equipment.
TO PURCHASER
Contact your local gas supplier and ask for instructions in the event the user smells gas. This information should be posted in a prominent location.
Warning
Improper installation, adjustment, alteration, service or maintenance can cause property damage, injury or death. Read the installation, operation, and maintenance instructions thoroughly before installing or servicing this equipment.
Caution Before Using Appliance
- Read all instructions carefully. Do not use this appliance for anything other than its intended use.
- Do not touch surfaces that may be hot – be sure to always use handles or knobs.
- Unplug from outlet when not in use, prior to installing or removing parts, and before cleaning. Allow for the device to cool first.
- To protect against the risk of electrical shock, do not immerse the appliance, cord or plug in water or other liquids.
WARNING
Electrical Shock Hazard Keep water and other liquids from entering the inside of the unit. Liquid inside the unit could cause an electrical shock.
Do not spray water or cleaning products. Liquid could contact the electrical components and cause a short circuit or an electrical shock. Do not use unit power cord is damaged or has been modified. - DO NOT operate this device or any other electrical equipment with a damaged cord or plug, or after the unit malfunctions,
is dropped or damaged in any manner. Return to the nearest WINCO Authorized Service Center for examination, repair, and/ or adjustment. - The use of accessory attachments not recommended by WINCO may cause fire, electric shock or injury.
- Not intended for outdoor installation.
- DO NOT let the cord hang over the edge of a table or counter, or touch hot surfaces.
- DO NOT place on or near a hot gas or electric burner or in a heated oven.
- This appliance should always be on a stable and steady countertop or table when legs are in use.
WARNING
Fire Hazard.
Correct installation precautions, procedures and regulations must be followed. Operation and safety training is necessary for all users of this equipment. - This appliance is not intended for use by individuals (including children) with reduced or impaired physical, sensory, or mental capabilities, or lack of experience or knowledge unless they have been given proper supervision or instruction concerning the use of this appliance by a person responsible for their safety.
- Children should be supervised at all times to ensure that they do not play with this appliance.
- Clean the unit with caution – do not clean when unit is plugged in or when hot.
- Do not place metal objects such as knives, forks or spoons in the heater as it may damage the unit, and may also result in injury.
- Do not store any item on top of this unit when in operation.
- Never place materials such as paper, cardboard, plastic, etc. on or under this unit.
Proper Grounding
This machine is provided with a three-pronged grounding plug. The outlet to which this plug is connected must be properly grounded. If the receptacle is not the proper grounding type, contact an electrician. DO NOT, under any circumstances, cut or remove the third ground prong from the power cord or use any adapter plug.

USE A GROUNDED OUTLET DO NOT ADD AN ADAPTOR TO THE PLUG
PRECAUTIONS – AVOID POSSIBLE EXPOSURE TO EXCESSIVE MICROWAVE ENERGY
- DO NOT attempt to operate this microwave oven with its door open, since open door operation can result in harmful and
dangerous exposure to microwave energy. It is important not to defeat or tamper with the safety interlocks. - DO NOT place any object between the front face of the oven and its door, or allow debris or residue to accumulate on sealing surfaces.
- DO NOT operate the oven if it is damaged. It is especially important that the oven door closes properly and completely, and that there is no damage to the: a. Door (bent)
b. Hinges and latches (broken or loose)
c. Door seals and sealing surfaces - The oven should NOT be adjusted or repaired by anyone except properly qualified service personnel.
Radio Interference
Microwave operation may cause interference to radio, television, or a similar oven. Reduce or eliminate interference by doing the following:
- Clean door and sealing surfaces of oven according to instructions in Care and Cleaning section.
- Place radio, television, etc. as far as possible from oven.
- Use a properly installed antenna on radio, television, etc., to obtain a stronger signal reception.
Cooking Containers
Tightly-closed containers could explode. Closed containers should be opened and plastic pouches should be pierced before cooking.
There may be certain non-metallic containers that are not safe to use for microwaving. If in doubt, you can test the containers in question following the procedure below.
Utensil Test:
- Fill a microwave-safe container with 1 cup of cold water (250ml) along with the utensil in question.
- Cook on maximum power for 1 minute.
- Carefully feel the container. If the empty utensil is warm, do not use it for microwave cooking.
- Do not exceed 1 minute of cooking time.
Materials to Avoid
- Aluminum tray
- Food containers with metal handle or metal trimmed utensils
- Metal twist ties
- Paper bags
- Plastic foam
- Wood
Additional Warnings
To avoid personal injury or property damage, observe the following:
- DO NOT attempt to deep fat fry in the oven. Fat can overheat and be extremely hazardous to handle.
- DO NOT cook or reheat eggs in shell or with an unbroken yolk using microwave energy. Doing so may build up pressure and cause the egg to erupt. Pierce the yolk with a fork or knife before cooking.
- Pierce the skin of potatoes, tomatoes, and similar foods before cooking with microwave energy. When the skin is pierced, steam escapes evenly.
- DO NOT operate equipment without load or food in oven cavity.
- Use only popcorn in packages designated for microwave use. Popping time varies based on oven wattage. DO NOT continue to heat after popping has stopped: popcorn will scorch or burn. DO NOT leave oven unattended.
- DO NOT use regular cooking thermometers in oven. Most cooking thermometers contain mercury and will cause an electrical arc, malfunction, or damage to the oven.
- DO NOT use metal utensils or containers in the oven.
- NEVER use paper, plastic or combustible materials inside the oven to facilitate cooking.
- When cooking with paper, plastic, or other combustible materials, follow the manufacturer’s recommendations on product use.
- DO NOT use paper towels that contain nylon or other synthetic fibers. Heated synthetics could melt and cause the paper to ignite.
- DO NOT heat sealed containers or plastic bags in the oven. Food or liquid could expand quickly and cause a container or bag to break. Pierce or open container or bag prior to heating.
- To avoid pacemaker malfunction, consult a physician or pacemaker manufacturer about the effects of microwave energy on pacemakers.
- Clean the oven regularly and remove food deposits.
- To avoid surface deterioration, keep the oven in clean condition.Infrequent cleaning could adversely affect the life of the appliance and possibly result in a hazardous situation.
Warning: Liquids
Liquids such as water, coffee, or tea are able to be overheated beyond the boiling point without appearing to be boiling due to surface tension of the liquid. Visible bubbling or boiling when the container is removed from the microwave oven is not always present.
WARNING
Burn Hazard.
Liquids such as water, coffee, or tea are able to be overheated beyond the boiling point without appearing to be boiling due to the surface tension of the liquid. Please take extreme caution.
THIS COULD RESULT IN VERY HOT LIQUIDS SUDDENLY BOILING OVER WHEN A SPOON OR OTHER UTENSIL IS INSERTED INTO THE LIQUID.
To reduce the risk of injury to persons:
- DO NOT overheat the liquid.
- Stir the liquid both before and halfway through heating it.
- DO NOT use straight-sided containers with narrow necks.
- After heating, allow the container to stand in the microwave oven for a short time before removing the container.
- Use extreme care when inserting a spoon or other utensil into the container.
Safety
A WINCO Approved Service Technician should carry out repairs if necessary. DO NOT remove any components or service panels on this product.
If the power cord is damaged, it must be replaced by a WINCO Approved Service Technician in order to avoid a hazard.
Installation
Unpacking The Microwave & Countertop Installation
- Inspect the oven for damage, including dents or cracks in the door or inside the oven cavity.
- Remove all materials from oven interior.
- Remove all plastic wrap and packaging material prior to use.
Note: Do not press the ceramic board forcibly. Take and put items gently during the operation in order to avoid damaging the ceramic board. After using, do not touch the ceramic board in order to avoid burns. - DO NOT install next to or above a source of heat (such as oven or fryer). This could cause the microwave oven to operate improperly and could shorten the life of the electrical parts.
- Install the oven on a level countertop surface.
Note: DO NOT install next to radios or TVs. Operation of microwave may cause interference.
Note: See Fig. 1 for clearance requirements. Never dismantle the appliance’s feet, nor block the air intake and exhaust opening. - The outlet should be located so that the plug is accessible when the oven is in place.
• Plug the oven into a receptacle that matches the voltage and frequency on the oven’s rating plate.
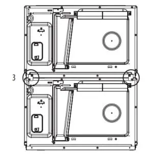
Stacking Microwaves
IMPORTANT
Do not stack more than 2 (two) microwaves.
- Remove installation plate on microwaves and reinstall screws.
- Remove the screws located on the sides of microwave.
- Align the installation plates and connect the two units with screws removed in Step 2.


Operation
IMPORTANT
Prior to the first operation or to calling for service, please read this section carefully. The operation of a commercial microwave differs from that of a conventional household microwave.
Place and remove items gently during the operation in order to avoid damage the ceramic board.
After using, do not touch the ceramic board in order to avoid burns.
| NUMBER KEYS | DISPLAY | OPTIONS (Factory Settings Bold) |
| 1 END OF CYCLE BEEP | OP:10 | 3 second beep. |
| OP:11 | Continuous beep until door is opened. | |
| OP:12 | 5 beep bursts until door is opened. | |
| 2 KEY BEEP VOLUME | OP:20 | Eliminates beep. |
| OP:21 | Sets volume to low. | |
| OP:22 | Sets volume to medium. | |
| OP:23 | Sets volume to high. | |
| 3 KEY BEEP | OP:30 | Prevents beep when Number Key is pressed. |
| OP:31 | Allows beep when Number Key is pressed. | |
| 4 ACTIVE DISPLAY | OP:40 | 15 seconds |
| OP:41 | 30 seconds | |
| OP:42 | 1 minute | |
| OP:43 | 2 minutes | |
| 5 ON-THE-FLY COOKING | OP:50 | Prevents different pre-programmed Number Key to be activated during cooking. |
| OP:S1 | Allows different pre-programmed Number Key to be activated during cooking. | |
| 6 RESET TO READY MODE | OP:60 | Opening oven door does not reset oven back to ready mode. |
| OP:61 | Opening oven door resets oven back to ready mode. | |
| 7 MAXIMUM HEATING TIME | OP:70 | Allows 60 minutes of heating time. |
| OP:71 | Allows 10 minutes of heating time. | |
| 8 MANUAL OPERATION | OP:80 | Allows use of preprogrammed Number Key only. |
| OP:81 | Allows use of manual time entry and preprogrammed Number Key. | |
| 9 DOUBLE DIGIT OPERATION | OP:90 | Single Digit Mode-10 programs |
| OP:91 | Double-Digit Mode-100 programs |
- POWER UP
“——-“ displays when the oven is powered up for the first time. If the [STOP] button is pressed, the oven will change to Idle Mode.
Note: In Idle Mode, no key can be pressed. - IDLE MODE
a. The oven will enter Idle mode after a set number of seconds have gone by in Ready Mode without a user keyboard press or a door open and close. The number of seconds is determined by the keyboard Timeout Window, set by User Option 4.
b. During Idle Mode, the screen displays “ECO”. There will be no oven activity.
c. By opening and closing the oven door, the user can exit Idle Mode and go into Ready Mode. - READY MODE
a. In this mode, the oven is ready to either begin a manual or preset cook cycle.
b. Opening and closing the door while the oven is in Idle Mode will put the oven into Ready Mode.
c. During Ready Mode, “READY” displays.
d. From the Ready Mode, the oven can go to almost all of the other modes. - DOOR OPEN MODE
a. While door of the oven is open, the oven shall be in “Door Open Mode”. If the door is open during cooking state “DOOR” and “OPEN” will display in order once only. Then the screen will display the remaining cooking time. And the fan and oven lamp work.
b. When door is closed, if User Option OP:60 is selected and oven was running a manual or preset cook cycle, oven shall enter Pause Mode.
c. In all other cases, the oven shall return to “Door Open Mode” with User Option OP:61 set. Opening and closing the door will clear out any information about a Manual or Preset Program which was running. - PAUSE MODE
a. This mode allows users to temporarily stop the cooking cycle to inspect or stir the food item.
b. While in Manual Cook Mode, or Preset Program Cook Mode, if the door is opened or closed, or if the [STOP] button is pressed, the oven will enter Pause Mode.
c. While paused the screen will display the remaining cooking time.
d. Pause Mode will expire back to Idle Mode in the exact same fashion as Ready Mode, depending upon User Option 4.
e. If [STOP] button is pressed, the oven will immediately go into Ready Mode. If [START] is pressed, the oven will go into working mode. - MANUAL COOK ENTRY MODE
a. This mode allows for a user to manually enter a cooking time and power level.
b. While in Ready Mode, pressing the [TIME ENTRY] button on the keypad will put the oven into Manual Cook Entry Mode. If User Option OP:80 is selected, pressing the [TIME ENTRY] is invalid.
c. During this mode, “00:00” displays. Input the time you need.
d. Press the [Hold 0%], [Defrost 20%], [Medium 50%], or [Med-Hi 70%] keys to select power level, and the screen will display the related power. If the same key is pressed twice, the power will change to PL10 (Power Level 10, or full power). If no power is chosen, PL10 is the default.
e. During the setting process, press [START] button to enter Manual Cook Entry Mode and begin cooking. Press the [STOP] key to enter Ready Mode. - MANUAL COOK MODE
a. This mode allows for cooking of food items. While in Manual Cook Entry Mode, pressing the [START] button will cause the oven to begin in Manual Cook Mode.
b. In this mode, cooking time displays, the fan operates, and the oven light is on.
c. When the cooking program completes, the oven will enter End of Cook Cycle Mode. If you press the [STOP] button under this mode, the oven will enter Pause Mode. - END OF COOK CYCLE MODE
a. After time has expired in Manual Cook Mode or a Preset Program Cook Mode, the oven will enter into the End of Cook Cycle Mode.
b. During this mode, “DONE” displays on the screen.
c. If either User Option “OP:11” or “OP:12” is selected, the oven will continue to sound until the user acknowledges by either opening and closing the door or pressing the [STOP] key. If User Option “OP:10” is selected, after the 3-second beep, the oven will display “DONE”. After the beep, the oven will display “READY”. The oven will enter Idle Mode without any operation after a period of time. - PRESET PROGRAM COOK MODE
a. This mode allows for cooking of food items through a one pad touch operation. While in Ready Mode, pressing one of the ten-digit keys on
the keyboard will cause the oven to run the Preset Program associated with that key.
b. The screen will display the remaining cooking time. If it is multi-stage cooking, the total remaining cooking time will display, not a particular stage cooking time.
c. When the cooking program finishes, the oven will enter End of Cook Cycle Mode. If the user presses the [STOP] button while in this mode, the oven will enter Pause Mode. - ON-THE-FLY COOKING
a. While the oven is operating, if User Option “OP:51” is selected, pressing a Number Key will automatically start the preset cooking program associated with the selected number key.
b. The screen will display the remaining cooking time.
c. When the cooking program completes, the oven will enter End of Cook Cycle Mode. - PROGRAMMING MODE
This mode allows the user to assign cooking times and power levels to the keypad number keys. Note: Set the time first, then choose the power.
a. Open the door and press the Number 1 key for 5 seconds. The buzzer will sound once to indicate Programming Mode has been activated.
b. The screen will display “PROGRAM” and new desired time can be inputted.
c. Press [Hold 0%], [Defrost 20%], [Medium 50%], or [Med-Hi 70%] to input the power level. The screen will display the related power. If the same button is pressed twice, the power will change to PL10. If no power is chosen, PL10 serves as the default.
d. If [X2] is pressed, the screen will display “CF:08”, default factor of 80%. To change cooking factor, press desired number key for new factor.
e. After setting the time and power, press [START] to save the cooking program. The screen display will show PROGRAM”.
f. If the total cooking time entered exceeds the maximum time allowed in User Option 7, when the [START] key is pressed to save the program, the buzzer will sound three times briefly, and the screen will display “PROGRAM” to indicate that the program is unacceptable.
g. Close the door and the oven will return to Ready Mode. Pressing the [STOP] button during the setting process will turn the oven to Door Open Mode. Programs not saved will be lost.
Programming Example:
Power level PL7 and cooking time is 1 minute and 25 seconds.
Step 1: Open the oven door and press Number Key “1” for 5 seconds. The screen will display “PROGRAM”.
Step 2: Press Number Key “3”, the screen will display “P:03″. After two seconds, the screen will display the related time ” 30″.
Step 3: Press the Number Keys “1”, “2”, and “5” to input the cooking time.
Step 4: Press the [Med-Hi 70%] button; “1:25 70” will display. Setting is complete.
Step 5: Press [START] to save. When the program is used the next time, only pressing “3” will start the related program will.
Notes:
1. If the electricity supply is interrupted, the saved programs will not be lost.
2. If the program need to reset , just repeat the above steps.
3. Pressing [STOP] returns the oven to the Door Open Mode and cancels the entered settings. - DOUBLE QUANTITY COOKING
a. The [X2] pad allows two quantities of the same food item to be cooked at once.
b. Press the [X2] key and then Preset Program Number(s) 0-9 within 5 seconds. The oven will begin cooking per the quantity preset cooking time.
c. Press [X2], and the screen will display “DOUBLE”. Press the preprogrammed number key, and the LED will display the cooking time for two quantities.
For example: If the number “5” key is programmed to cook for 1 minute, when first pressing [X2] and then pressing the number “5”, the oven will automatically set the cooking time to 1:48 (1:00 cook cycle x 1.8 “X2” cook factor = 1:48).
d. When the cooking program completes, the oven will enter End of Cook Cycle Mode. - STAGE COOKING PROGRAMMING
a. This allows users to cook food items at a combination of various Power Levels.
b. A maximum of three stages can be set. After setting the power and time for the first stage, press [TIME ENTRY] to set the second stage.
Repeat to set the third stage.
c. When setting the second or third stage, press [TIME ENTRY]. The screen will display “STAGE-2” or “STAGE-3” respectively.
d. Press [START] to begin cooking.
PROGRAMMING EXAMPLE:
Stage 1: 1:25 at 70% power
Stage 2: 5:40 at 50% power
a. Open oven door and press “1” key for 5 seconds. The screen displays “PROGRAM”.
b. Press number key “3”. The program will be saved in “3”.
c. Press “1”, “2”, “5” to input the cooking time. “1:25” displays.
d. Press [Med-Hi 70%]. “1:25 70” displays.
e. The first stage is complete.
f. Press [TIME ENTRY]. The LED will display “STAGE-2”.
g. Press “5”, “4”, “0” to input the cooking time. “5:40” displays.
h. Press [Medium 50%]. “5:40 50” displays.
i. The second stage is complete.
j. Press [START] to save the program. To use this program, press “3”. The oven will start operating for 7:05 (1:25 at 70% power, and 5:40 at 50% power). - USER OPTION MODE
a. This allows the user to choose various operation methods.
b. Open the oven door and press “2” for 5 seconds. The buzzer sounds once to indicate User Option Mode is activated.
c. The LED will display “OP: –“.
d. Press any number key to enter related mode setting. Please refer to the chart below for options.
1. Example: to set the buzzer of key beep volume to “Medium,” press “2”. “OP:22” will display on the screen.
2. To change, continue pressing “2”. The LED will cycle “OP:20”, “OP:21”, “OP:22”, “OP:23”, etc.
3. Press [START] to save the current setting. After the setting has been saved, “OP: –“ will display again.
4. During the programming process, press [STOP] to enter Door Open Mode. Closing the door will have the oven enter Ready Mode.
5. If [START] is not pressed as the last step, the program will not be saved. - SERVICE MODE
a. Open the oven door and press “3” key for 5 seconds to enter service mode. The screen will display “SERVICE”.
b. To check the times of closing or opening of the door, press the “3” key to display the times.
c. Press “1” key for Tubes Hours.
d. Press “2” key for Tubes Cycles.
e. Press “3” key for Door Cycles.
f. Press “4” key and [START] to clear service information. - FACTORY-DEFAULT SETTING
This operation will restore all configures to factory-default setting.
a. Press [START] and “0”, the buzzer sounds once, and the screen will display “CHECK”.
b. If it is in the factory-default setting, the screen will display “11”, after three seconds, the oven will turn to the ready mode. Press [STOP] to cancel the display.
c. If not in factory-default setting, the screen will display “00”, press [START] to reset to factory-default setting. The screen will display “CLEAR”, the buzzer sounds once, and screen will display “11” or “00”. If you do not press [START] when screen displays “00”, setting will cancel.
Care & Cleaning Instructions
WARNING
TO AVOID ELECTRICAL SHOCK, WHICH CAN CAUSE SEVERE PERSONAL INJURY OR DEATH, UNPLUG POWER CORD OR OPEN CIRCUIT BREAKER TO OVEN BEFORE CLEANING OR REMOVING LIGHT BULB. DO NOT POWER SPRAY, AND DO NOT USE METAL PANS.
ALWAYS KEEP THE OVEN CLEAN.
Cleaning the mixer and mixer cover
Clean the mixer cover regularly to prevent debris from falling onto food.
- Remove mixer cover by pressing on the two openings and pulling down slightly.
- Clean the mixer and mixer cover of food or grease build-up.
- To reinstall, align the 3 pegs on cover to the holes in the microwave back interior. Lift the cover and push until mixer cover
is secured to microwave.
Cleaning the filter
Clean the filter regularly to prevent unit from over heating.
- Remove screws and filter.
- Clean and reinstall.

Cleaning glass view window, inner door panel, and oven front face
For best performance and to maintain the high degree of safety, the inner door panel and oven front face should be free of food or grease build-up. Wipe these parts with a mild detergent, rinse and wipe dry.
Never use abrasive powders or pads.
Cleaning the control panel and plastic parts
Do not apply a detergent or an alkaline liquid spray to the control panel and plastic parts, as this may cause damage to these parts.
Use a dry cloth (not a soaked cloth) to clean these parts.
Cleaning the oven interior
After using be sure to clean up spilled liquids, spattered oil and food debris as quickly as possible. If the oven is used when dirty, food debris may stick onto the oven surface and cause bad odors. Clean the interior with a cloth soaked in lukewarm water with a mild detergent dissolved in it, then rinse the soap off with a damp cloth.
IMPORTANT
- DO NOT use abrasive cleansers or cleaners containing ammonia or citrus. These can damage the finish.
- NEVER pour water into microwave oven bottom.
- DO NOT use water pressure type cleaning systems.
- DO NOT wipe plastic and painted sections of the oven with bleach, thinners or other cleaning agents, as this may cause these parts to dissolve or distort/change shape.
Troubleshooting
If your equipment does not operate, please check the following prior to placing a service call.
| ISSUE | MIGHT BE CAUSED BY | RECOMMENDED SOLUTION |
| Oven will not start | Electrical cord for oven is not plugged in | Plug cord into outlet correctly |
| Door is open | Close the door and try again | |
| Wrong operation is set | Check instructions | |
| Fuse blown or circuit breaker is open | Replace fuse (should be repaired by authorized servicer) or reset breaker | |
| Malfunctioning outlet | Test outlet with other electrical appliances | |
| Arcing or sparking | Materials to be avoided in microwave oven were used | Use microwave-safe cookware only |
| The oven is operated when empty | DO NOT operate with cavity empty | |
| Spilled food remains in the cavity | Clean cavity with a wet towel | |
| Dim oven light | Cooking at low power level | This is normal |
| Steam forms on oven door | When cooking foods in a microwave, steam is generated | This is normal |
| Hot air expelled from vents | Food cooking in a microwave may release heat | This is normal |
| Unevenly cooked foods | Materials to be avoided in microwave oven were used | Use microwave-safe cookware only |
| Food is not defrosted completely | Completely defrost food prior to using oven | |
| Cooking time, power level, are not suitable | Use correct cooking time and power level | |
| Food is not turned or stirred | Turn or stir food. Follow food distributor’s instructions if necessary | |
| Overcooked foods | Cooking time, power level, are not suitable | Use correct cooking time and power level |
| Undercooked foods | Materials to be avoided in microwave oven were used | Use microwave-safe cookware only |
| Food is not defrosted completely | Completely defrost food prior to using oven | |
| Oven ventilation ports are restricted | Check to see that oven ventilation ports are not restricted | |
| Cooking time, power level, are not suitable | Use correct cooking time and power level | |
| Improper defrosting | Materials to be avoided in microwave oven were used | Use microwave-safe cookware only |
| Cooking time, power level, are not suitable | Use correct cooking time and power level | |
| Food is not turned or stirred | Turn or stir food. Follow food distributor’s instructions if necessary | |
| Fan continues after food is done and door open | Unit keeps fan on to cool the electronics | This is normal |
Exploded View

Parts List
| # | Description | EMW-1800AT | I EMW-210013T |
| 1 | Stirrer Fan Assembly | EMWT-P116 | |
| 2 | Thermostat 120 | EMWT-P103 | |
| 3 | Filament Lamp | EMWT-P105 | |
| 4 | Door Assembly | EMWT-P120 | |
| 5 | Control Panel Assembly | EMWT-P117 | |
| 6 | Synchronous Motor | EMWT-P101 | |
| 7 | Fan Assembly | EMWT-P106 | |
| 8 | H.V. Fuse | EMWT-P114 | |
| 9 | H.V.Transformer | EMWT-P104 | |
| 10 | H.V.Capacitor | EMWT-P109 | I EMWT-P110 |
| 11 | H.V.Diode | EMWT-P111 | |
| 12 | Thermostat 150 | EMWT-P113 | |
| 13 | Magnetron | EMWT-P102 | |
| 14 | Power cord | EMWT-P115 | |
| 15 | Handle Assembly | EMWT-P122 | |
| 16 | Door Panel | EMWT-P121 | |
| 17 | Membrane Switch | EMWT-P119 | |
| 18 | PCB | EMWT-P118 | |
| 19 | Microswitch Interlock | EMWT-P108 | |
| 20 | Microswitch Monitor | EMWT-P107 | |
| 21 | Fuse | EMWT-P112 | |
Please contact factory for special order parts not listed.
Service and Repair
There are no user serviceable parts within this appliance.
To avoid serious injury or damage, never attempt to repair the unit or replace a damaged power cord yourself.
Inquiries and sales must first go through our Warranty Service Department. To initiate warranty service contact: [email protected] or call: 973-295-3899
DO NOT send unit to WINCO without first contacting our customer service department.
See “Limited Warranty” section on page 18 for details.
Limited Warranty
WINCO® warrants to the original purchaser of new equipment that said equipment, when installed in accordance with our instructions within North America and subjected to normal use, is free from defects in material or workmanship for a period of 1 year. The labor warranty is one year from original installation or 18 months from actual factory shipment date, whichever date occurs first.
THIS WARRANTY IS IN LIEU OF ALL OTHER WARRANTIES, WHETHER EXPRESSED OR IMPLIED. WINCO EXPRESSLY DISCLAIMS ANY IMPLIED WARRANTY OF MERCHANTABILITY OR EXPRESSED OR IMPLIED WARRANTY OF FITNESS FOR A PARTICULAR PURPOSE.
This warranty is given only to the first purchaser from a retail dealer. No warranty is given to subsequent transferees.
Warranty does not cover product failures caused by: failure to maintain, neglect, abuse, damage due to excess water, fire, normal wear, improper set up and use. Periodic maintenance is not covered.
This warranty is not in force until such time as a properly completed and digitally signed Installation/Warranty Registration has been received by WINCO within 30 days from the date of installation.Z
WARRANTY SERVICE
To initiate warranty service contact: [email protected] or call: 973-295-3899
DO NOT send unit to WINCO® without first contacting our customer service department.
Please provide or have the following information available:
- Model & Serial Number (located on the silver identification tag, on side or rear of unit)
- Date of Purchase
- Purchase Dealer
- Operator / Installation Contact Information
- Business Name & Business Address
- Contact Name & Contact Telephone Number
REGISTER ONLINE AT: http://www.wincous.com
Proof of purchase is required to extend warranty more than 1 year from date of shipment from the factory.
THE FOREGOING WARRANTY PROVISIONS ARE A COMPLETE AND EXCLUSIVE STATEMENT BETWEEN THE BUYER AND SELLER.
WINCO® NEITHER ASSUMES NOR AUTHORIZES ANY PERSONS TO ASSUME FOR IT ANY OTHER OBLIGATION OR LIABILITY IN
CONNECTION WITH SAID EQUIPMENT.
Examples of items not covered under warranty, but not limited to just these items:
- Natural disasters (ie: earthquakes, tornadoes, hurricanes, etc.), fire, water damage, burglary, accident, theft.
- Freight damage.
- Improper installation or alteration of equipment.
- Use of generic or after-market parts.
- Repairs made by anyone other than a WINCO® designated service provider.
- Lubrication.
- Expendable wear parts, adjustable feet, blown fuses, lamps, etc.
- Normal product maintenance.
- Misuse or abuse.
- Normal wear and tear items such as light bulbs, fuses, and exterior finishes.
Warranty voided if:
- Product is altered by user
- Serial number plate is removed
- Product is installed in a prison or any correctional facility.
PLEASE KEEP THIS MANUAL IN A SAFE PLACE FOR FUTURE USE!

Models: EMW-1800AT and EMW-2100BT
www.wincous.com
Electrical Shock Hazard Keep water and other liquids from entering the inside of the unit. Liquid inside the unit could cause an electrical shock.
Correct installation precautions, procedures and regulations must be followed. Operation and safety training is necessary for all users of this equipment.





Parts List

















