Caf BELLISSIMO Semi Automatic Espresso Machine +Frother

IMPORTANT SAFETY INFORMATION
READ ALL INSTRUCTIONS BEFORE USING THE APPLIANCE
WARNING
Read the instructions carefully before using the appliance for the first time. Save these instructions for reference. The appliance is designed for domestic use and may only be operated in accordance with these instructions for use. Always handle with care and warn other users of potential danger.
IMPORTANT SAFEGUARDS
Always follow these safety precautions when using this appliance.
- Read all instructions before using
- Use only a 120 V, 60 Hz standard electrical supply that is properly grounded in accordance with the National Electric Code and local codes and ordinances.
- Make sure the appliance is set up on a flat and steady surface.
- Turn the appliance OFF, then unplug from the outlet when not in use, before assembling or disassembling parts and before cleaning. To unplug, grasp the plug and pull from the outlet. Never pull from the power cord.
- Do not use outdoors. Household use only.
- Use this product only for its intended purpose as described in this user manual.
- Use of any accessories not recommended by the manufacturer can cause injuries.
- This appliance is not intended for use by persons (including children) with reduced physical, sensory, or mental capabilities, or lack of experience and knowledge, unless they are closely supervised and instructed concerning use of the appliance by a person responsible for their safety. Close supervision is necessary when any appliance is used by or near children. Children should be supervised to ensure that they do not play with the appliance.
- Allow to cool before putting on or taking off parts, and before cleaning the appliance. DO NOT touch the steam wand after use. Doing so can cause serious burns.
- Make sure the drip tray is always present during use.
- Always use cold water to make coffee in your espresso machine. Warm water or other liquids could cause damage to the coffee maker.
- DO NOT put any liquid other than water in the water tank.
- To reduce the risk of fire or electric shock, do not attempt to disassemble, repair, modify, or replace any part of your product.
- If the power cord is damaged, it must be replaced by the manufacturer. DO NOT replace the power cord on your own.
- Do not operate any appliance with a damaged cord or plug or after the appliance malfunctions, or is dropped or damaged in any manner. Contact GE Appliances at the website listed in the Contact Us section for information on examination, repair, or adjustment.
WARNING
Read the instructions carefully before using the appliance for the first time. Save these instructions for reference. The appliance is designed for domestic use and may only be operated in accordance with these instructions for use. Always handle with care and warn other users of potential danger.
IMPORTANT SAFEGUARDS
Always follow these safety precautions when using this appliance.
- Use the coffee grinder to grind coffee beans only. DO NOT put coffee grounds in the espresso machine, only put whole coffee beans in the coffee bean container.
- Do not allow children to touch the appliance or the power cord during the operation
- DO NOT use the espresso machine if the drip tray is out of position.
- DO NOT immerse the appliance in water or any other liquids. This will damage the appliance and be a risk of an electric shock.
- Do not let cord hang over edge of table or counter.
- Do not let cord contact hot surface, including the stove.
- DO NOT use an extension power cord.
- The use of accessories not included in the box is not recommended. It might be dangerous and should be avoided.
- Do not operate the hot water function continuously for more than one tank of water.
- Check hopper for presence of foreign objects before usage.
- Avoid contacting moving parts. Do not attempt to defeat any safety interlock mechanisms.
- Do not touch hot surfaces. Use handles or knobs.
- Do not place on or near a hot gas or electric burner, or in a heated oven.
- To disconnect, turn any control to “off,” then remove plug from wall outlet.
WARNING To avoid the risk of injury, do not open the brew chamber during the brew process.
WARNING
RISK OF FIRE OR ELECTRIC SHOCK
- TO REDUCE THE RISK OF FIRE OR ELECTRIC SHOCK, DO NOT REMOVE COVER (OR BACK).
- Do not attempt to repair or replace any part of your espresso machine unless it is specifically recommended in this manual. All other servicing should be performed by authorized service personnel.
Getting Started
Drip Tray
- Remove the packaging from the drip tray before using the machine.
Water Tank
- Remove the water tank and orange seal from the bottom of the tank and fill it with water. Gently press down on the Water Tank so it is secure in the machine before using any functions.
- Make sure the water level is between the MIN and MAX lines in the Water Tank before use.
Coffee Bean Hopper - Remove the hopper from the packaging
- Place the hopper into the unit by aligning the arrow with the unit.
- Turn the hopper clockwise to lock in place.
- Turn the hopper to your desired grind size.

NOTE: The hopper grind size setting ranges from 1-15, 1 is the finest and 15 is the coarsest.
NOTE: It is recommended to use whole coffee beans instead of pre-ground coffee. Pre-ground coffee loses its aroma and taste quickly.
NOTE: It may take several tries to get a grind size that best fits your taste. Ready to Use!
- Plug in your espresso machine. The Power button will flash. Press the power button.
- Choose your desired function and enjoy! See the “Using the Espresso Machine” section for instructions of each function.
Components
NOTE: When the water level float reaches the top of the drip tray, remove the tray and dispose of the liquid. Replace back in the unit before next use.
Controls
Control Panel
Accessories
Functions
Power
Press the power button to turn on the espresso machine.
Grind
Press the grind button once for a single espresso and twice quickly for a double espresso.
Single (Espresso)
Espresso is a full-flavored coffee drink served as a concentrated shot. Cappuccinos, Flat Whites, and Lattes are all made with an espresso shot. Default setting: ~ 13-15-grams of coffee yields~ 30 mL of espresso (1oz)
Double
This will create a cup that has double the water and extraction time. Default setting: ~ 18-20 grams of coffee yields ~ 60 mL of espresso (2oz).
NOTE: Coffee ground amounts and espresso volumes may vary depending on bean type and machine settings. Default grind size ~ 7-9.
To set Default Dispense Amount: Press and hold Single, Double, or Grind until the desired amount of liquid or grounds is dispensed. Stop pressing the button to save the new amount.
NOTE: Only the Single shot grind amount can be adjusted manually. To adjust Double grind amount, refer to the Smart HQ app.
Control Knob
Steam
Steam is used to heat up liquids through the steam wand.
CAUTION
To avoid possible burns to body parts and/or other injury from hot steam, do not touch liquids or steam wand during or after steaming. Do not remove pitcher until steaming is complete. Hold milk pitcher by the handle.
Hot Water
The Hot Water function dispenses hot water from the steam wand. No coffee is used during this function.
Alerts
Grinder
The Grinder indicator will appear for one of three reasons. Bean Hopper Removed: The Grinder indicator will illuminate red if the hopper is removed or not locked into place. Place hopper into the machine and rotate to locked position to resolve. Locked Rotor: The Grinder indicator will flash red when the grinder is locked up or blocked. Clear grinder with provided brush to resolve. Locked rotor error can be removed after the issue is resolved and grinding repeated, machine times out or is powered down. Continuous Runtime: The Grinder indicator will flash white, meaning the grinder has been running for at least 3 minutes and needs to cool down for 6 minutes. Once the grinder has cooled, the indicator will disappear and the machine is ready to use again.
Add Water
Add water indicator appears when water tank is low on water or water tank is missing.
WiFi
Your espresso machine is WiFi compatible. See page 19 for how to connect and use the SmartHQ app.
Clean
Clean alert will appear when it is time to run a descale cycle for best operation and life span of the machine. See page 14 for descaling process.
Using Your Espresso Machine
Single and Double
NOTE: Make sure you have a coffee cup or container placed under the dispenser before using the Single or Double function.
- Push either the single shot or double shot filter into the portafilter until it clicks into place.
- Make sure there are coffee beans in the bean hopper.
- Place the portafilter within the grinder cradle.

- Press the Grind button. Refer to table.
- hen grinding is complete, remove the portafilter and gently tap to even out the coffee grounds.
- Tamp down firmly using the tamper provided. Consistent pressure will create the best coffee puck. Clear away any excess grounds from the rim of the portafilter.

NOTE: Tamping clears out air pockets to avoid water channeling through the grounds.
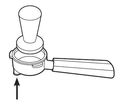
NOTE: Use the rubber pad on the bottom of the portafilter to level on the edge of a flat service while tamping. - Place the portafilter with pressed coffee puck into the group head at a 45° angle and rotate it to the right until it locks into place.
- Press the Single or Double button to begin brewing.
- When your function is complete, dispose of coffee grounds, rinse the portafilter, then dry. Follow cleaning instructions for the portafilter in the Care and Cleaning section
NOTE: After every single/double cycle your machine will release internal pressure as it is cooling down by slowly releasing excess water into the drip tray. DO NOT remove the drip tray until the process is complete.
NOTE: There may be excess hot water in the portafilter. Be cautious when disposing of grounds.
Using Your Espresso Machine
NOTE: Make sure the control knob is always in the neutral position when NOT using the Steam and Hot Water functions.
NOTE: The steam wand swivels for easier use. DO NOT pull on steam wand.
CAUTION
To avoid possible burns to body parts and/or other injury from hot steam, do not touch liquids or steam wand during or after steaming. Do not remove pitcher until steaming is complete. Hold milk pitcher by the handle.
Steam
The Steam function can be used to steam milk and other liquids. See the Tips section for techniques and recipes.
- Turn the control knob on the front of the espresso machine to Steam. Ensure the steam wand is pointing towards the drip tray as it will clear out some water during preheat. Once steam starts to come out, switch the knob to neutral position and quickly insert the wand into the milk. Proceed with steaming process by turning the control knob back to Steam
NOTE: If there is a delay longer than a few seconds between heating and steaming, the heating will shut off and need to be repeated. - Turn the control knob back to neutral when complete.
NOTE: Use a hot, wet cloth to wipe off steam wand after every use. It is also recommended to purge the steam wand immediately after every use by quickly turning steam back on for a short time.
NOTE: After every steam cycle your machine will automatically release internal pressure as it is cooling down by slowly pumping access water and steam into the drip tray. Steam coming out of the drip tray is normal during this process. DO NOT remove the drip tray until the process is complete.
Hot Water
NOTE: If using the Hot Water function after steam, allow the machine to dispense excess steam before using this function per note above.
NOTE: Hot water volume and temperature can be adjusted via the Smart HQ app.
- Place your desired cup or milk pitcher provided under the steam wand.
- Turn the control knob on the front of the espresso machine to Hot Water.
- Fill your cup to your desired amount. If the dispense is not stopped manually by user, the machine will continue to dispense until a programmed volume is set.
- Turn the control knob back to neutral when complete.
Using Your Espresso Machine
How to Wake the Machine
Make sure the control knob is in the neutral position. Press the Power button to wake the machine.
Turn On/Off Sounds
Press and hold the Single and Grind buttons together for 3 seconds to turn off all sounds.
Factory Reset
Press and hold the Grind, Single and Double buttons together for 3 seconds to turn reset all programmable settings back to the factory settings.
Overpressure
This means the coffee grounds are too small, there are too many grounds, or the grounds are packed too tight in the portafilter. To fix, dispose of grounds, and try again by increasing the ground size, decreasing the dosage, or tamping the grounds with less pressure.
Portafilter and Filters
To remove filters from the portafilter, use the flat end of the cleaning brush to lift the filter out of the portafilter. If there is too much resistance while inserting the portafilter into the group-head, there are too many coffee grounds in the filter. Remove some grounds and try again.
Single and Double Layer Filters
.
- Double Layer filters provide more consistent results between varying grind sizes and bean types and generally result in more crema.
- Single Layer filters are more sensitive to grind size adjustments and bean types but allow for more adjustability.
SmartHQ App
Use the SmartHQ app to view and change espresso machine settings. See page 19 for how to connect your machine to WiFi.
Using Your Espresso Machine
Dial In Instructions
Dial in your machine by altering the different parameters to create the best tasting shot for a particular coffee choice. Once the machine is “dialed-in”, you can create repeatable results with ease.
- Select a desired grind size. (Setting 8 is the recommended starting point)
- Grind and weigh coffee for an espresso shot (18-20g worth of grounds for double, 13-15g for single) Directions on how to change the grind function are on page 10.
- Gently tap the sides of the portafilter to even out the coffee distribution.
- Tamp firmly to create a level surface, wipe the excess coffee grounds from the edges of the portafilter and brew your espresso.
- Weigh the liquid espresso to find the brew ratio. Brew ratios are personal preference, but can be used to guide your taste as well.
- Brew ratio is defined as the ratio of coffee grounds in the portafilter to liquid espresso.
- Example: If 18g of coffee grounds yields 36 g of liquid espresso, this is a 1:2 brew ratio.

- The water volume can be increased or decreased to alter the brew ratio. Directions on how to do so are on page 9 of the manual.
- Aim for a brew time between 20-40 seconds for your shot.
- Time is recorded from when the function starts to when espresso stops dispensing into cup.
- If time is below range, use a finer setting or larger water volume.
- If time is above range, use a coarser setting or lesser water volume.
- If brew time is within range, taste the espresso.

Other Tips
- It is important to only change one parameter at a time, and keep other variables constant through this process.
- If you prefer a milk-based espresso drink, taste the espresso with your milk choice as it will affect the flavor profile.
Care and Cleaning
WARNING
Allow heating element to completely cool to avoid risk of fire or injury and disconnect power prior to cleaning or service.
CAUTION
To avoid possible burns to body parts and/or other injury from hot steam, do not touch liquids or steam wand during or after frothing. Do not remove pitcher until steaming is complete. Hold milk pitcher by the handle.
Cleaning your Espresso Machine
- Unplug the espresso machine from the wall.
- P our out all water left in the water tank and drip tray. Wash and air or towel dry.
- Wipe down appliance using a non-scratch cloth and non-abrasive cleaner.
- DO NOT place any part of the espresso machine in the dishwasher. Hand wash only.
NOTE: When not in use for long periods of time, such as vacation, run System Empty Cycle, dry water tank, and open water tank lid.
Clean / Descale
Descale process consists of 2 stages and will take approximately 30 minutes. Alert will turn off after both stages are completed. DO NOT use any cleaning agents not provided with the product or recommended in this manual.
STAGE 1:
- Fill third of the water tank with water.
- Add one pack of cleaning solution in the water tank (one tablet or packet). Mix well.
- Place a sufficiently large container under the Brew Head and Steam Wand.
- Press and hold the GRIND and DOUBLE buttons for 3 seconds to initiate. CLEAN alert flashes.
- Rotate the control knob to Steam. Water starts dispensing.
- After Add Water LED turns on, rotate the control knob to the neutral position.
STAGE 2:
- Remove, rinse , fully refill, and reinstall the water tank.
- Repeat steps 3, 5, and 6 from STAGE 1.
- Refill the water tank. Unit is ready for normal operation. NOTE: As an alternative, a 1:1 ratio of water and white vinegar can be used as a cleaning solution for the descaling process.
Cleaning the Grinder
Be sure to place a cup or container under the grinder when completing this process to collect loose grounds of coffee. It is recommended to clean the grinder at least once a week.
- R emove the hopper from the espresso machine.
- R otate to unlock and pull out the Outer Burr.
- Use the brush provided to wipe away any grounds from the grinder. Make sure to clean the grinder from top and bottom of the grinder chute.
- Place the outer burr back into the machine.
- Place the hopper back into place.
NOTE: Do not use hands to wipe away grounds, only use the brush provided.
Care and Cleaning
Cleaning the Steam Wand
To clean the steam wand, remove the tip by unscrewing. Use the needle provided to clear the tip of any debris.
Cleaning the Portafilter and Filters
To clean the portafilter and filters, dispose of coffee grounds then rinse with water. Allow the portafilter and filters to dry completely before using again.
System Emptying
The System Emptying process empties the system of all water. Use this function when storing the machine for long periods.
- Empty the water tank.
- Press and hold the Power and Double button together for 3 seconds to put the machine into system emptying mode.
- The machine will beep once and Power and Double will flash to confirm the action.
- The system will empty water into the drip tray and return to idle when complete.
Checking Your Water Hardness
Included with the unit is a Water Hardness Test Kit. Please follow the instructions on the package using the same water that will be used to make espresso. Once results are gathered, please refer to the SmartHQ app to set the water hardness level.
Tips
- Espresso is often mistakenly thought of as a drink made with darker roast beans. Some coffee roasters even mark their product as “Espresso Coffee”. This is misleading because espresso is mainly distinguished from other coffee drinks by the correct grind size and brew process, not the type, origin, or roast of the coffee beans. Any coffee bean can be used in making your espresso!
- Use the hot water button to heat up your espresso cup before brewing. Espresso has a very small volume and will cool quicker if brewed in a cold cup.
- Some functions can be adjusted within the SmartHQ App to meet your specific preferences or coffee type. Reference the SmartHQ section on page 19.
- The top of the espresso machine can act as a cup warmer if left on for an extended period of time. If using the machine for longer than an hour, place your cups on the top of the machine to heat them up before use.
- Milks or Milk substitutes with higher fat contents are better at creating a creamier, thicker foam, while Low/Non-fat Milk or Milk substitutes are better at creating a lighter foam with larger bubbles.
- It is recommended that the edge of the tamper is aligned with the edge of the portafilter when tamping. Adjust the amount of grounds to achieve optimal coffee puck thickness.

Your espresso machine can be used to make an unlimited number of espresso based drinks. Frothed milk drinks like Cappuccinos and Lattes are classics admired by many. Make sure to brew espresso BEFORE using steam. Steam function requires higher temperatures than espresso and brewing espresso immediately after Steaming will affect the taste of espresso. - Cappuccino
This drink is made with espresso, milk, and large amount of microfoam. Do not fill the milk pitcher above half way to avoid microfoam overflow during steaming. Frothed milk may be as much as doubled in volume. - Latte
This drink uses espresso and steamed milk with a smaller head of foam. - How to steam milk:
- After steam is preheated and ready, place the tip of the steam wand right under the surface of the milk at the edge of the milk pitcher at approximately a 45° angle to create a vortex. Start steaming. The longer milk is steamed under the surface the more microfoam is created. Once desired amount of microfoam is reached, dip the steam wand lower into the milk and continue to steam until desired temperature is reached. Place a hand under the pitcher to feel the change in temperature. Once the bottom is warm enough to feel uncomfortable, optimal temperature is achieved.
- Large bubbles can be broken into smaller bubbles by light tapping of the milk pitcher.
NOTE: To heat up milk, you want to position the steam wand lower into the pitcher to prevent air from entering the milk and creating bubbles. This will result in a steamed milk with a smaller head of foam.
Troubleshooting
| Problem | Cause | Solution |
| Appliance does not work/does not turn on | No power is connected to the appliance | ■ Check cable and plug are connected to power and press the “on” button ■ Check GSI plug |
| No or delayed response from pressing buttons on control panel | Panel may be dirty or wet | Clean the panel with cloth provided and ensure panel is dry |
| Coffee is not hot enough | Cup is not preheated | Run hot water in the cup prior to brewing to warm up. Or place your cup on top of the unit prior to use. |
| Temperature is set too low | Connect appliance to SmartHQ app (page 19) and raise temperature to preferred setting. | |
| Water/Steam does not come out of steam wand | Excessive scale has built up | Descale the appliance as directed on page 14. |
| Empty system function may have been used | Run the hot water function until water starts dispensing | |
| Pump airlock (air in the water pump) | Run the hot water function until water starts dispensing | |
| Something is blocking the steam wand | Run the hot water function until water starts dispensing | |
| Coffee does not come out of portafilter | Coffee is tamped too tightly in the portafilter. | Empty portafilter and try again with a larger grind size or less force while tamping. |
| The dose of coffee is too high | Use a coarser grind size or less dosage. | |
| Espresso shot has no cream | Coffee ground is too coarse | Adjust coffee bean grind size to a smaller setting during grinding operation or use a double layer filter provided. |
| Coffee beans are not fresh | Change or use appropriate coffee beans | |
| Appliance takes too long to heat up | Excessive scale has built | Descale the appliance |
| Water tank is empty but “Add Water” alert does not show up | Water sensor is detecting water on the outside of the water tank | ■ Wipe the water tank and back area completely dry. ■ Avoid pouring water directly into the water tank. It is recommended to pull out water tank, fill, then replace in the unit. |
| Problem | Cause | Solution |
| Grinder is making a very loud sharp noise | There are foreign objects in the grinder. | Clear the grinder per the directions in the Care and Cleaning section. |
| Coffee dispensed is watery | Grinder setting is too coarse. | ■ Adjust coffee bean grind size to a smaller setting during grinding operation. ■ Go to the SmartHQ app and adjust coffee settings. |
| No steam or hot water is coming out of the steam wand | The unit is not preheated yet, | Wait for unit to preheat. Once water is up to temperature, the process will begin. |
| Steam or hot water have stopped dispensing mid-process | Water tank is empty. | Refill the water tank to continue process. |
| The function was cancelled early. | Refill the water tank to continue process. | |
| There is water underneath the drip tray | Residual water, steam, or condensation may be present underneath the drip tray. This is normal and should not be a problem. | Wipe the area under the drip tray with a cloth or towel. |
| The portafilter does not turn and lock into place in group head | Portafilter is not level and/or not at the correct angle to be inserted. | Ensure the portafilter is level and inserted at a 45 degree angle before twisting. |
| Dosage is too large and is coming in contact with group head. | Remove a small amount of coffee from portafilter or use a lower dosage. |
WiFi Connect – SmartHQ
WiFi Connect
Locate the WiFi connect sticker on the back of the espresso machine under the water tank. Press and hold the Single and Double buttons simultaneously for 3 seconds to turn on the WiFi function. The espresso maker will beep to confirm the action and the WiFi LED will start flashing. Follow the directions in the SmartHQ app to continue WiFi setup.
NOTE: To disconnect from WiFi, follow the same steps. The WiFi icon will disappear.
SmartHQ
Your Espresso Maker is WiFi Connect Enabled. A WiFi communication card is built into the product allowing it to communicate with your Smart Phone for remote monitoring, control, and notifications. Please visit geappliances.com/ge/connected-appliances/ to learn more about connected appliance features and to learn what connected appliance App’s will work with your Smart Phone.
FCC/IC COMPLIANCE STATEMENT
FCC/IC COMPLIANCE STATEMENT:
This device complies with Part 15 of the FCC Rules. Operation is subject to the following two conditions:
- This device may not cause harmful interference, and
- This device must accept any interference received, including interference that may cause undesired operation.
Any changes or modifications not expressly approved by the party responsible for compliance could void the user’s authority to operate the equipment.
NOTE: This equipment has been tested and found to comply with the limits for a Class B digital device, pursuant to Part 15 of the FCC Rules. These limits are designed to provide reasonable protection against harmful interference in a residential installation. This equipment generates uses and can radiate radio frequency energy and, if not installed and used in accordance with the instructions, may cause harmful interference to radio communications. However, there is no guarantee that interference will not occur in a particular installation. If this equipment does cause harmful interference to radio or television reception, which can be determined by turning the equipment off and on, the user is encouraged to try to correct the interference by one or more of the following measures:
- Reorient or relocate the receiving antenna.
- Increase the separation between the equipment and receiver.
- Connect the equipment into an outlet on a circuit different from that to which the receiver is connected.
- Consult the dealer or an experienced radio/television technician for help.
This device complies with Industry Canada licence-exempt RSS standard(s).
Operation is subject to the following two conditions:
- This device may not cause interference, and
- This device must accept any interference, including interference that may cause undesired operation of the device.
- Labeling: Changes or modifications to this unit not expressly approved by the manufacturer could void the user’s authority to operate the equipment. ConnectPlus module only (or similar communication module)
- RF Exposure – This device is only authorized for use in a mobile application. At least 20 cm of separation distance between the ConnectPlus device and the user’s body must be maintained at all times.
- FCC ID: ZKJ-WCATA006
- IC ID: 10229A-WCATA006
Notes
Limited Warranty
If your appliance fails to operate properly while in use under normal household conditions within the warranty period, visit cafeappliances.com/support for product care/maintenance self-help. In Canada, visit service.geappliances.ca/servicio/en_CA/. To initiate a warranty claim, please visit cafeappliances.com/support/returns/, or call 1-800-430-1757. Please have your model number and serial number available. Return and packing instruction information will be provided at that time. In Canada, contact us at cafeappliances.ca
| For the Period of: | Café Appliances Covers | |
| One Year From the date of the original purchase | If the Coffee Maker fails due to a defect in materials or workmanship, during the limited one-year warranty, GE Appliances will either replace or refurbish your product with a new or remanufactured product, or refund the purchase price of the product at GE Appliances sole discretion. | |
| What Café Appliances Will Not Cover: | ||
- Improper installation, delivery or maintenance.
- Failure of the product if it is abused, misused, or used for other than the intended purpose or used commercially.
- Damage caused after delivery.
- Damage to the product caused by accident, fire, floods or acts of God.
- Incidental or consequential damage caused by possible defects with this appliance.
- Software bugs that can be corrected with an update via the Café App.
- Labor and other charges to install and/or remove the product.
EXCLUSION OF IMPLIED WARRANTIES
Your sole and exclusive remedies are product exchange or refund as provided in this Limited Warranty. Any implied warranties, including the implied warranties of merchantability or fitness for a particular purpose, are limited to one year or the shortest period allowed by law.
For sale in the 50 United States, District of Columbia, and Canada only:
This limited warranty is extended to the original purchaser for products purchased for home use within the USA. In Alaska and Hawaii, the limited warranty does not include the costs of shipping units. California residents may gave additional return options. Please ask call center for additional information. Some states do not allow the exclusion or limitation of incidental or consequential damages. This warranty gives you specific legal rights, and you may also have other rights which vary from state to state. To know what your legalrights are, consult your local or state consumer affairs office or your state’s Attorney General. Warrantor: GE Appliances, a Haier company Louisville, KY 40225 For Customers in Canada: This limited warranty is extended to the original purchaser and any succeeding owner for products purchased in Canada for home use within Canada. In-home warrant service will be provided in areas where it is available and deemed reasonable by Mabe to provide. For extended warranty information, visit geappliances.ca/purchase-extended-warranty Warrantor Canada: MC Commercial, Burlington, Ontario, L7R 5B6
Consumer Support
CAFÉ WEBSITE
Have a question or need assistance with your appliance? Try the Café Appliances Website 24 hours a day, any day of the year! You can also shop for more great Café Appliances products and take advantage of all our on-line support services designed for your convenience. cafeappliances.com In Canada: cafeappliances.ca
REGISTER YOUR APPLIANCE
Register your new appliance on-line at your convenience! Timely product registration will allow for enhanced communication and prompt service under the terms of your warranty, should the need arise. You may also mail in the pre-printed registration card included in the packing material. cafeappliances.com/register In Canada, service.geappliances.ca/servicio/en_CA/
PARTS AND ACCESSORIES
Individuals qualified to service their own appliances can have parts or accessories sent directly to their homes (VISA, MasterCard and Discover cards are accepted). Order on-line today 24 hours every day. cafeappliances.com/parts In Canada: geappliances.ca/parts-filters-accessories Instructions contained in this manual cover procedures to be performed by any user. Other servicing generally should be referred to qualified service personnel. Caution must be exercised, since improper servicing may cause unsafe operation.
CONTACT US
If you are not satisfied with the service you receive from Café Appliances, contact us on our Website with all the details including your phone number, or write to: General Manager, General Manager, Customer Relations | GE Appliances, Appliance Park | Louisville, KY 40225 cafeappliances.com/contact In Canada: Director, Consumer Relations, Mabe Canada Inc. | Suite 310, 1 Factory Lane | Moncton, N.B. E1C 9M cafeappliances.ca/support/contact-us.
References
Café, Customizable Kitchen Appliances for the Modern Home
Contact Us or Get Help with Questions About Café Kitchen Appliances
Café, Customizable Kitchen Appliances for the Modern Home
Contact Us or Get Help with Questions About Café Appliances
Appliance Parts, Accessories & Water Filters | GE Appliances
cafeappliances.com/register
Support, Resources, and FAQs for Your Café Appliances
Café Appliance Product Returns, Exchange, Replacement | Café
GE Smart Appliances | GE Appliances
Canada Service Site | Homepage
Canada Service Store
Caf BELLISSIMO Semi Automatic Espresso Machine +Frother



























