EXOR PLCM03 Industrial Plug In Module

Description
The communication module is an interface designed to let the operator panel connect to the RS-232 signals. The communication will be through the dedicated DB9 female connector. The technical data is listed in the table below:
- Communication protocol: RS-232
- Optical insulation: No

Dimensions


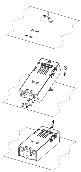
Mounting the module
Remove the connector protective cover from the equipment before installing the module.

The products have been designed for use on Exor products with expansion slot for plugin module for use in an industrial environment in compliance with the 2014/30/EU directiv
The products have been designed in compliance with:
- EN 61000-6-4
- EN 55011 Class A
- EN 61000-6-2
- EN 61000-4-2
- EN 61000-4-3
- EN 61000-4-4
- EN 61000-4-5
- EN 61000-4-6
- EN 60945
The installation of these devices into the residential, commercial and lightindustrial environments is allowed only in the case that special measures are taken in order to get the conformity to IEC-61000-6.3.
© 2022 Exor International S.p.A Exor International S.p.A. – San Giovanni Lupatoto VR, Italy
www.exorint.it


















