WLO Wood Skyline Cat Tower or Tree Standard Version Cat Bed

Box Contents


Main Tower Woods Installation (Front Side)
Screw Type x3W600

Ramp Woods & Front Side Installation
- CD Place the wooden ramps as shown below
- CD Place a wooden leg by part code


Top Wood, Ropes and Fabrics Installation
- CD Place a wooden top
- CD Before installation tie x2 Rope


x2 Mesh Ramp Fabric

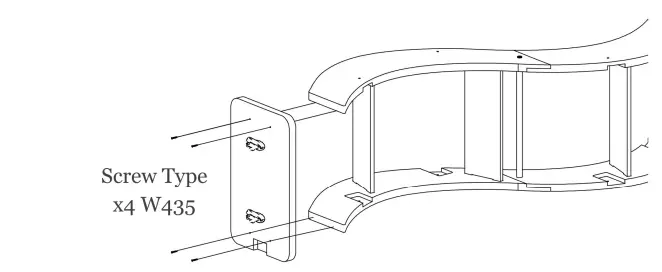
Branches Installation
Screw Type x8W6oo

- CD Place combine each frame and screw top wood
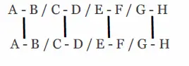
- CD Part codes should be combined following letters as A-B/C-D/E-F/G-H

Main tower and branches should be combined following letters as 

Screw Type
x8W6oo

Wall Mount Step
(Required for safety regulations)
Prevent cat furniture tip-over accidents Secure it! Furniture must be securely attached to the wall. Use the tip-over restraint provided with the product and the right hardware for
your wall type.
- Never put a TV or other heavy objects on top of a cat tree.
- Never let children climb or hang on cat tree!

Tent & Cushion Installation
Place & combine each tent using velcroid


Congrats! Ready to use
Your experience is very important to us!
Please do not hesitate to contact us and leave a nice review.
SAFETY PRECAUTIONS
INJURY WARNING
Always watch your pets for any attempts to escape from the cat house.
JAM WARNING
Pets can get trapped between the door and the gaps between the wood. This can cause pet injury.
POISON WARNING
Pets may chew on wooden or acrylic parts. This may lead to poisoning.
RISK OF FRACTURE
Pets may break wooden or acrylic parts. This may cause injury to your pet.
SECURITY INFORMATION
Do not lock the cat house door and leave your pets alone for a long time. This may cause negative effects to your pet’s psychology.
CARE AND CLEANING INFORMATION
Clean the fabric and wood parts of your product frequently to protect your pet’s health.
- If your pet breaks any part of the product, please stop the use of the product and order replacement parts. (www.wlowood.com)
- Always observe your pet.
- Periodically wash the cushion of the product in accordance with the washing instructions.
- Do not sit on the product and do not place any heavy objects or other goods on your product.
- During the installation, you may need assistance or special tools to create force in screwing a brand new wood.
CUSHION & TENT WASHING INSTRUCTIONS
- Wash on light/delicate program with a small amount of detergent.
- We recommend that you use hypoallergenic, dye-free, perfume-free detergent for your pet’s safety.
- Do not dry in the dryer or expose to the sun when wet.
Follow us on social media for upcoming products! We are always here.
Please write a message for any help.
Our customer support team will assist you within 12 hours.
www.instagram.com/wlo_wood/ https://www.facebook.com/wlowoods/
https://www.tiktok.com/@wlo_wood
https://pinterest.com/wlo_wood/
https://www.youtube.com/channel/UCdFZbOBWCCPrfWNB6BuLqHw
WLO Wood LLC
290 E McIntosh St
Sanford NC 27330
+1 (919) 500 9049
www.wlowood.com
[email protected]
EXCHANGES & RETURNS
- WLO® Wood has a solution-oriented customer service structure.
- Our house rules are predetermined in such situations.
- We work hard to satisfy our customers as can be seen from our reviews.
- We are eager to offer the best solution in line with our possibilities and strength.
- Based on our experience, the conditions for exchanges and refunds are summarized in our FAQ page below.
- What happens if the product arrived with damage?
- WLO Wood will replace damaged parts free of charge immediately! Please provide photos & order information to [email protected].
- What happens if the cat house product box contains missing or defective parts?
- WLO Wood will replace missing or defective parts free of charge immediately!
- Please provide photos & order information to [email protected].
- What should I do if my order gets lost during the shipment?
- Just let us know! We will try to resolve the problem by contacting the shipping company immediately. If it’s not resolved within 10 business days, we will offer you two options: full refund or resend the product.
- I’m not sure if the product size or model is what I exactly want, what should I do?
- Informing us is enough! We share all of the detailed product dimensions and color options in our listing images & descriptions. Because of our hygiene rules, you can request exchange only if the box is not opened. You can return the product to our warehouse by paying only the shipping cost (approximately $39 to $89 depending on shipping weight/dimensions).
- My cat damaged the house. Do you send the spare parts?
- Damaged parts will be replaced from our warehouse with lower shipping charges. Please provide photos & order information to [email protected].
- I broke the product while assembling. Do you send the spare parts?
- Yes! WLO Wood’s responsibility continues until the product is completely assembled at your house. We will immediately send the broken parts with lower costs. (smaller parts will be charged only with shipping cost)
- Can I add extra cushions or tents to my order?
- Yes, just inform us! You can order extra parts on our website by adding them to your cart. This will save you from paying extra shipping costs.
- The product color did not match my furniture. Do you accept returns?
- Unfortunately we cannot accept a refund caused by color differences unless there is a very distinct color difference from the product images we listed. We use professionally calibrated monitors to ensure that our wood colors match the product images 98.4%. Detailed color options have been published in all listings.
- Also, you can check the images coming from our customers. Only in some cases there may be some color shade difference due to the structure of wood and our hand made painting technique. As you would appreciate, it is almost impossible for us to match the same shade of colors with all other furniture.
- Even the different lighting in images can make the product color look completely different.
- My order is currently in shipping but I’d like to cancel it. Do you accept returns?
- Unfortunately we cannot accept free returns. You can return your order with a domestic shipping fee ($39 to $89) after you have the package.
- I have completed assembling my wooden cat house but I would like to return it because it is bigger/smaller than I expected. Do you accept returns?
- We expect you to make the right choice before purchasing, as we share detailed measurements of all our products. We can send you a second cat house of the right size at a special discount rate just for you. Due to our hygiene rules, we cannot accept returns.
- I have completed assembling my wooden cat house but I would like to return or exchange it with another model I want.
- Due to our hygiene rules, we cannot accept returns in this case. We expect you to contact us if you are unsure before purchasing so that you can choose the right product with our experience.
- The product is not sturdy enough, my cat broke it and I would like to return it.
- The sturdiness of our products has been tested many times before they are put on the market. The materials we use meet all the robustness requirements of a wooden crate/house. Our products have success stories that are evident in the feedback from customers. In this case, we may think that there is a problem caused by the mistakes in assembling or pet behaviors. Even if the assembling is done correctly but the sturdiness does not meet your expectations, we cannot make a refund.
- The product is not beautiful / I don’t like it, can I return it?
- We cannot accept returns as we expect you to evaluate this situation before purchasing.
- I completed assembling the product but some screws are loose and the product is not sturdy enough. I would like to return it.
- All of our products are sent disassembled. As stated in our instructions, correct installation is the responsibility of our customers. We cannot accept returns due to installation errors.
- The paint and wood quality of the product is not as I expected. Can I return it?
- We provided the details of materials of our products through images and product descriptions. For this reason, the expectations can vary at each
purchase. We cannot accept returns because we trust the quality of our products. If there is a manufacturer defect, please contact customer support service and we will send a replacement part. - My cat just managed to escape from the gap of the model I’ve chosen. Can I return it?
- We can solve the problem with the availability of extra parts. However, since we cannot predict your dog’s behavior we expect you to choose a fully enclosed model which will suit your cat. As we don’t sell used products due to our hygiene rules, we cannot accept returns in this situation.
LICENSE
- Unless otherwise stated, WLO Wood LLC and/or its licensors own the intellectual property rights for all material on WLO Wood. All intellectual property rights are
reserved. You may access this from WLO Wood for your own personal use subjected to restrictions set in these terms and conditions. - WLO Wood has the rights to use all kinds of contents such as product images, video clips, reviews, promotional information etc. provided by customers. These contents will be used for promotional or advertising purposes on social media such as Instagram,Facebook, Pinterest, TikTok, Youtube and it can generate WLO some income.
- WLO Wood customers have no right to claim any rights on these contents or income.
You must not:
- Republish new and unboxed products from WLO Wood
- Sell, rent or sub-license material from WLO Wood
- Reproduce, duplicate or copy material from WLO Wood
- Redistribute content from WLO Wood
- Parts of this website offer an opportunity for users to post and exchange opinions and information in certain areas of the website. WLO Wood LLC does not filter, edit, publish or review Comments prior to their presence on the website. Comments do not reflect the views and opinions of WLO Wood LLC, it’s agents and/or affiliates.
- Comments reflect the views and opinions of the person who post their views and opinions. To the extent permitted by applicable laws, WLO Wood LLC shall not be liable for the Comments or for any liability, damages or expenses caused and/or suffered as a result of any use of and/or posting of and/or appearance of the Comments on this website.
- WLO Wood LLC reserves the right to monitor all Comments and to remove any Comments which can be considered inappropriate, offensive or causes breach of these Terms and Conditions.
You warrant and represent that:
- You are entitled to post the Comments on our website and have all necessary licenses and consents to do so;
- The Comments do not invade any intellectual property right, including without limitation copyright, patent or trademark of any third party;
- The Comments do not contain any defamatory, libelous, offensive, indecent or otherwise unlawful material which is an invasion of privacy
- The Comments will not be used to solicit or promote business or custom or present commercial activities or unlawful activity.
- You hereby grant WLO Wood LLC a non-exclusive license to use, reproduce, edit and publish all of your comments in any forms, formats or media.
Sincerely!



















