3009501 7-Level Cat Activity Tree

Product Information: 7-Level Cat Activity Tree
The 7-Level Cat Activity Tree is designed for use by cats. It comes with various boards, panels, and posts that need to be assembled using assembly components provided in the package. The product is designed to be placed against a wall or two corner walls, on a flat and level floor surface, in a safe location in the home. The product is not suitable for other pets and should be observed carefully for suitability before use.
Package Contents
- Base board 490 x 490mm (1pc)
- Shelf board 490 x 490mm (1pc)
- Shelf board 450 x 210mm (1pc)
- Back panel of hut 270 x 270mm (1pc)
- Top panel of hut
- Back panel of hut 270 x 270mm (1pc)
- Back panel of hut 450 x 290mm (1pc)
- Top panel of hut 450 x 290mm (1pc)
- Ladder 410 x 210mm (1pc)
- Platform 290 x 290mm (2pcs)
- Platform 290 x 290mm (1pc)
- Cover of hut (2pcs)
- Post
- Post 350 x 58mm (1pc)
- Post 350 x 58mm (2pcs)
- Post 380 x 58mm (1pc)
- Post 500 x 58mm (1pc)
- Post 110 x 58mm (3pcs)
- Post 380 x 58mm (1pc)
- Post 480 x 58mm (1pc)
- Post 270 x 58mm (1pc)
- Assembly component 5mm (1pc)
- Assembly component 6 x 16mm (4pcs)
- Assembly component 8 x 70mm (1pc)
- Assembly component 8 x 35mm (26pcs)
- Assembly component 8 x 80mm (4pcs)
Product Usage Instructions
- Use assembly component 5 to connect panel D, panel E and posts U.
- Use assembly component 5 to connect panel F, panel G and posts U, then put cover L on it.
- Use assembly component 5 to connect board A, posts M and posts N.
- Use assembly component 3 to connect assembly component 1 and board H, then use assembly component 3 to connect board B.
- Use assembly component 4 to connect hut, board B and posts M.
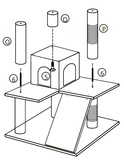
- Use assembly component 6 to connect post O and posts P, then use assembly component 5 to connect posts Q.
- Use assembly component 6 to connect posts S and posts Q, then use assembly component 5 to connect posts Q.
- Use assembly component 5 to connect hut.
- Use assembly component 6 to connect posts R and posts T.
- Turn platform I and platform J clockwise.
Note: Always observe your pet’s behavior with this product for suitability. Remove and replace the item if it becomes damaged in any way. Never climb, rock or tilt furniture, as this action could result in harm or injury to people and/or pets. Ingestion of this product can result in serious injury.
If you are not satisfied with this product, please return it with valid proof of purchase for a refund. Conditions apply. See store or osipet.com for more details.
ASSEMBLY INSTRUCTIONS
7-Level Cat Activity Tree 3009501

Components




ADVICE FOR USE
Please observe you pet’s behavior with this product for suitability. Some items may be inappropriate for your pet. Remove and replace the item if it become damaged in any way.
WARNING
Designed specifically for use by a cat. Always place furniture against a wall or two corner walls, on a flat and level floor surface,
in a safe location in the home. Image does not reflect proper use. Never climb, rock or tilt furniture, as this action could result in harm or injury to people and/or pets. Ingestion of this product can result in serious injury.
STEP 1
Use assembly component 5 to connect panel D, panel E and posts U. 
STEP 2
Use assembly component 5 to connect panel F, panel G and posts U, then put cover L on it.
STEP 3
Use assembly component 5 to connect board A, posts M and posts N.
STEP 4
Use assembly component 3 to connect assembly component 1 and board H, then use assembly component 3 to connect board B.
STEP 5
Use assembly component 4 to connect hut, board B and posts M.

STEP 6
Use assembly component 6 to connect post O and posts P, then use assembly component 5 to connect posts Q. 
STEP 7
Use assembly component 6 to connect posts S and posts Q, then use assembly component 5 to connect posts Q. 
STEP 8
Use assembly component 5 to connect hut. 
STEP 9
Use assembly component 6 to connect posts R and posts T. 
STEP 10
Turn platform I and platform J clockwise. 
Distributed by: One Source International, LLC. 2250 Sutherland Ave. Suite 201A Knoxville, TN 37919 If you are not satisfied with this product, please return it with valid proof of purchase for a refund. Conditions apply. See store or osipet.com for more details.

















