SIGLENT CP4000 Oscilloscope Current Probe

CP6000 Series Current Probes
Safety Notices
![]()
A CAUTION notice denotes a hazard. It calls attention to an operating procedure,
practice, or the like that, if not correctly performed or adhered to, could result in damage
to the product or loss of important data. Do not proceedbeyond a CAUTION notice until the indicated conditions are fully understood and met.
![]()
A WARNING notice denotes a hazard. It calls attention to an operating procedure, practice, or the like that, if notcorrectly performed or adhered to, could result in personal injury or death. Do not proceed beyond a WARNING notice until the indicated conditions are fully understood and met.
Safe Probing
This device is designed to comply with Safety Standards and has been thoroughly tested for safety prior to shipment. However, mishandling during use could result in injury or death, as well as damage to the device. Be certain that you understand the instructions and precautions in the manual before use. We disclaim any responsibility for accidents or injuries not resulting directly from device defects.
![]()
- Never attach the clamp to a circuit that operates over the maximum rated voltage to earth.
- Please avoid clamping around bare conductors during measurement.
- While clamping and measuring, do not touch the clamp in front of the barrier or the conductor being measured.
- Be careful to avoid damaging the insulation surface while taking measurements.
- Make sure that the waveform measuring equipment connected to this device’s output terminal ( BNC ) is equipped with a protective earthling with doubleinsulation construction.
- Do not allow the device to get wet, and do not take measurements with wet hands. This may cause an electric shock.
- If the waveform measuring instrument being connected to the output terminal ( BNC ) on this device is equipped with any other measurement terminals, take the following precautions to ensure that the other instrument does not form a bridge between the probe and any hazardous live part of a part.
Isolate the terminal to which the probe is connected from other terminals on the measuring instrument using basic insulation conforming to the measurement category, working voltage, and pollution degree requirements of the circuit being tested.
If basic insulation requirements cannot be met between the terminal to which this device is connected and other terminals of the measuring instrument, make sure that the voltage input to the measurement terminal does not exceed the Separated Extra-Low Voltage Earthed.
Read and observe all warnings and precautions relating to electrical safety for the measuring instrument being connected to the probe.
![]()
- To avoid damage to the device, protect it from vibration or shock during transport and handling, and be especially careful to avoid dropping.
- Do not store or use the device where it could be exposed to direct sunlight, high temperature, humidity, or condensation. Under such conditions, the device may be damaged and insulation may deteriorate so that it no longer meets specifications.
- Before using the device the first time, verify that it operates normally to ensure that the no damage occurred during storage or shipping. If you find any damage, contact your dealer or SIGLENT representative.
- This device is not designed to be entirely water- or dust- proof. To avoid damage, do not use it in a wet or dusty environment.
- The sensor head is a precision assembly including a molded component, a ferrite core, and a Hall Effect element. It may be damaged if subjected to sudden changes in ambient temperature, or mechanical strain or shock, and therefore great care should be exercised in handling it.
- The matching surfaces of the sensor head are precision ground, and should be treated with care. If these surfaces are scratched, performance may be impaired.
- Foreign substances such as dust on the contact surfaces of the sensor head can cause acoustic resonance and degrade measurement, so it should be cleaned by gently wiping with a soft cloth.
- To avoid damaging the sensor cable and power supply cable, do not bend or pull the cables.
- When the power is on, keep closed, except when clamping them onto the conductor to be measured. The facing surface of the core section can be scratched while it is open.
- Do not place any un-clamped conductor with an electric current of a frequency of 10 kHz or more near the sensor head. Current flowing in the conductor nearby may heat up the sensor head and cause its temperature to rise, leading to damage to the sensor. For example, when one side of a go-and-return conductor is clamped and the other side is also placed near the sensor head , even if the electric current is lower than the consecutive maximum current, electric currents in both sides will heat up the wires and raise the temperature, thereby causing damage to the sensor.
- The maximum continuous input range is based on heat that is internally generated during measurement. Never input current in excess of this level.
Exceeding the rated level may result in damage to the probe. - The maximum continuous input range varies according to the frequency of the current being measured.
- If excess current is input, generated heat activates a built-in safety function that blocks normal output. If this happens, remove the input immediately (remove the sensor from the conductor being measured or reduce the input current to zero). Wait until the sensor has had sufficient time to cool before resuming operation.
- Even if the input current does not exceed the rated continuous maximum, continuous input for an extended period of time may result in activation of the safety circuit to prevent damage resulting from heating of the sensor.
- At high ambient temperatures, the built-in safety circuit may activate at current input levels below the rated continuous maximum.
- Continuous input of current exceeding the rated maximum or repeated activation of the safety function may result in damage to the unit.
- The probe is rated for maximum input under two conditions in addition to the input maximums shown in the Specifications. These are (1) 30 A peak for noncontinuous input and (2) 50 A peak for pulse widths 10 µs. (1) indicates an upper waveform response limit of 30 A peak. Use the sensor at RMS current input levels that are within the rated continuous maximums. (2) Indicates the upper response limit for a single input pulse.
- When opening the sensor head of the probe, be sure to operate with the opening lever. If an upper core is forced to open when the sensor head is locked, the open close mechanism can be damaged.
![]()
- The output of this unit is terminated internally. Use an oscilloscope with an input impedance of at least 1 MΩ.
- Immediately after powering on the probe, the probe may be subject to an appreciable offset drift due to the effect of self heating. To counteract this, allow the probe to warm up for about 30 minutes before carrying out measurement.
- When performing continuous measurements, it is necessary to be aware that the offset voltage drifts, depending on factors such as the ambient temperature.
- Under certain circumstances, oscillation may occur if the probe is connected to the power supply while the power supply is on. This does not indicate a malfunction. Oscillation can be stopped and operation restored to normal by opening and closing the sensor head.
- Depending on the measured current frequency, some sound maybe produced by resonance, but has no effect on measurements.
- The reading may be affected by the position within the clamp aperture of the conductor being measured. The conductor should be in the center of the clamp aperture.
- When carrying out a measurement, press the opening lever until the UNLOCK indication disappears and check that the sensor head is properly closed. If the sensor head is not properly closed, an accurate measurement is not possible. Accurate measurement may be impossible in locations subject to strong external magnetic fields, such as transformers and high-current conductors, or in locations subject to strong external electric fields, such as radio transmission equipment.
- At high frequencies, common mode noise may affect measurements taken on the high voltage side of circuits. If this occurs, reduce the frequency range of the waveform measuring instrument or clamp onto the low- voltage side of the circuit.
Features and Applications
The CP6000 series current probes are wide band width DC / AC active current probes, featuring high bandwidth, fast and accurate capture the current wave, accuracy up to 1% and low circuit insertion loss. This probe can be used with any oscilloscope having a high-impedance BNC input.
The key features include:
- Highly accurate current measurements.
- Wide bandwidth.
- Accurate and easy current measurements.
- DC/AC measuring capabilities.
- Over current protection with dual indicators ( buzzer and LED ).
- High and low range selection.
- Low current measurements.
- Degaussing and automatic zero setting.
- Digital set by panel soft push keystroke for a longer service life.
Applications
- Switching and linear power design
- LED lighting design
- New energy resources
- Frequency conversion household appliances
- Experiment of electronic engineering
- Semiconductor devices design
- Inverters / transformer design
- Electronic ballast design
- Industrial control / consumer electronic design
- Engine driven design
- Power electronic and electrical drive experiment
- Electric vehicle transportation design
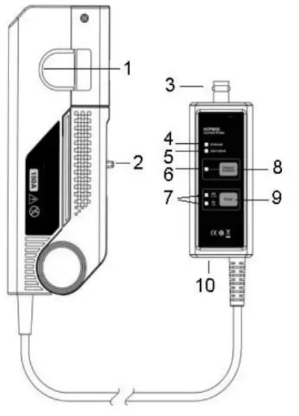
Description of products
1) CP6030, CP6030A
2) CP6150, CP6500

- Sensor Head
The core component to measure conductor current. The component contains a precise semi-conductor that could be damaged by drastic change of environmental temperature, external pressure and shock. Please be careful during measurement. - Opening lever
The operating lever used to open the sensor head. Pull the lever to open the sensor jaw, put in the cable under test, and push the lever to lock the sensor head to measure the current. - BNC Output Connector
The standard BNC port that can be connected to oscilloscope of any brand by a standard BNC Coaxial Cable ( CK- 310 ). - Overload Indicator LED
If / when the current under measured exceeds the limit current, the red LED will light up and the buzzer will sound an alarm. - Jaw on indicator
When the light is on, it means that the push rod is in the unlock state. Make sure that the jaw is in the lock state during the measurement. - Degaussing and Zero Setting Indicator
After pressing the degaussing zero button, the indicator light will be green, and after degaussing, the indicator light will be off. If degaussing setting succeeds, the buzzer will make two short beeps. If degaussing setting failed, the buzzer will make an extension beep of about one second. - Range LED Indicator
The green LED indicates the selected range. - Degauss auto zero button
Frequent usage of the device will generate residual magnetic field. Please degauss and zero set before measurement for better measurement precision. Press the degaussing and auto zero button to trigger the process ( should be around 5 s ) . - Range selected button
Model Range Transfer ratio CP6030(A) 30 A 0.1 V /A 5 A 1 V/A CP6150 150 A 0.01 V/A 30 A 0.1 V/A CP6500 500 A 0.01 V/A 75 A 0.1 V/A - Power supply socket
External power supply socket, standard with (12 V / 1 A) adapter model CK-612.
Accessories Description
BNC Cable: 100 cm, MALE X MALE (CK-310)
Power Adapter (12 V / 1 A) (CK-612)
Specifications
| Model | CP6030 ( A ) | CP6150 | CP6500 | ||||
| Bandwidth ( -3 dB ) | CP6030 | DC-50 MHz (picture1.a ) | DC-12 MHz ( Figure 4 ) | DC-5 MHz ( Figure 7 ) | |||
| CP6030A | DC-100 MHz ( picture1.b ) | ||||||
| Rise Time | CP6030 | ≤ 7 ns | ≤29 ns | ≤70 ns | |||
| CP6030A | ≤ 3.5 ns | ||||||
| Continuous maximum input range | CP6030 | 30 Arms ( picture2.a ) | 150 Arms ( Figure 5 ) | 500 Arms ( Figure 8 ) | |||
| CP6030A | 30 Arms ( picture2.b ) | ||||||
| Max peak current value | 50 Apk | 300 Apk | 750 Apk | ||||
| Range | 5 A | 1X | 30 A | 10X | 75 A | 10X | |
| 30 A | 10X | 150 A | 100X | 500 A | 100X | ||
| Overload | 5 A | ≥5 A | 30 A | ≥30 A | 75 A | ≥75 A | |
| 30 A | ≥50 A | 150 A | ≥300 A | 500 A | ≥750 A | ||
| Current transfer ratio | 5 A | 1 V/A | 30 A | 0.1 V/A | 75 A | 0.1 V/A | |
| 30 A | 0.1 V/A | 150 A | 0.01 V/A | 500 A | 0.01 V/A | ||
| Resolution | 5 A | 1 mA | 30 A | 10 mA | 75 A | 10 mA | |
| 30 A | 10 mA | 150 A | 100 mA | 500 A | 100 mA | ||
| Accuracy (DC, 45-66 Hz) | 5 A | ±1%±1 mA | 30 A | ±1%±10 mA | 75 A | ±1%±10 mA | |
| 30 A | ±1%±10 mA | 150 A | ±1%±100 mA | 500 A | ±1%±100 mA | ||
| Input resistance | CP6030 | Reference ( Figure 3.a ) | Reference ( Figure 6 ) | Reference ( Figure 9 ) | |||
| CP6030A | Reference ( Figure 3.b ) | ||||||
| Delay | Probe | 14 ns | 36 ns | 42 ns | |||
| BNC ( 1 m ) | 5 ns | ||||||
| Terminal load requirements | ≥100 kΩ | ||||||
| Power supply | DC 12 V / 1 A ( Standard Adapter ) | ||||||
| Voltage of insulated wire | 300 V CAT I | 600 V CATII 300 V CATIII | |||||
| Safety compliance | EN61010-1: 2010+A1:2019 EN 61010-2-032:2019 | ||||||
| EMC standard | EN61326-1:2013 EN61000-3-2:2014 EN61000-3-3:2013 | ||||||












Mechanical Specifications
| Model | CP6030/A | CP6150 | CP6500 |
| Measurement conductor diameter max. | 5 mm | 20 mm | |
| Cable length | 1 m | 1.5 m | |
| Cable length ( CK-310 ) | 100 cm | ||
| Adapter dimensions ( CK-612 ) | 62*58*29 mm line:1.5 m | ||
| Clamp dimensions(L*W*H) | 176*39.5*18 mm | 174*67.5*30 mm | |
| Termination unit(L*W*H) | 91.5*40*26.5 mm | ||
| Probe weight | 255 g | 555 g | 525 g |
Environmental characteristics
| Operating temperature and humidity | 0-40℃,80% or less |
| Storage temperature and humidity | -10-50℃,80% or less |
| Operating altitude | 2000 m |
| Storage altitude | 12000 m |
Operating Method

- The output interface of this machine is set inside. When using the oscilloscope, please select high input resistance (1 MΩ). If the input resistance is 50 Ω, the data will be incorrect.
- Please make sure the current measured doesn’t surpass the maximum current.
The magnetic core will saturate. The saturated magnetic core will neutralize the generate waveform during saturation. The overcharged inrush might cause mistaken degaussing and need to be zero set again. - When power is connected, offset might occur because of the heat generated by the machine. But it will be stabilized after about 30 min.
- Strong magnetic field like transformer, large circuit, high electricity like wireless will cause deviation
- The voltage might deviate because of the surrounding temperature, so please be careful when testing sequentially
- The frequency of the current under test may cause resonance, but this won’t influence the testing.
- The position of conductor under test in the sensor will influence the result, so please move the conductor under test into the center of the sensor.
- Push the switch control pole all the way through until the unlock mark disappear. Please make sure the control

- When disconnecting the output terminal, please pull out the connector after unlocking. The output terminal will be damaged if you force to drag the cable out before unlocking.
- When putting in the output terminal other than BNC terminal, please be careful for the polarity of the terminal.
- The continuous maximum input range is the fixed value caused by the machine’s operating heat. Please do not put in current higher than this value, or the device will be damaged.
- The continuous maximum input range will change according to the frequency of the current under test. The probe will be damaged when operate under overcharged current .
- When the input current continuously surpasses the maximum input range, the self-protection will be activated by the heating of the sensor and cause wrong output. Please stop the current input and wait for full cool down before next operation.
- The protection circuit will be mistakenly activated by the high temperature even when the continuous current under test is below the max input.
- When the connect input surpass the max input range current and activate the protection function too often, the device may be damaged.
- You must open the entire part through switch controller.
- At the lock state, please do not press the entire part as shown below.

Preparation before testing
- Prepare the high frequency current probe CP6000 series, adapter and oscilloscope
- Power up the CP6000 probe and the green LED power indicator will be lighted.
- Set the oscilloscope: Ground the measuring mode, zero set the oscilloscope and turn the oscilloscope mode to DC mode.
- Choose the proper range according to the current under test. The default setting of the probe is large current range
Degaussing and Zero setting
- Connect the CP6000 with oscilloscope ( Make sure the input impedance of the oscilloscope is 1 MΩ )
- Lock the probe until the UNLOCK symbol disappear.
- Press the button to degauss and zero set. There will be beeping as success indication after 6 s
Measurement methods:
- Confirm the previous steps
- Pull the switch control pole of the sensor, open the head of the sensor and make the current direction mark in
- Push the switch control pole of the sensor until the UNLOCK mark disappear.
Lock the probe, make sure the entire part is closed, and then observe the waveform under test. Utilize the current transfer ratio to transform the voltage sensibility into current sensibility. For instance, the ratio of CP6030 is 0.1 V/A (30 A range), and then, when the voltage sensibility of the waveform monitor is 10 mV/div, the current sensibility is 100 mA/div
The method to deal with abnormal situation
| Situation | Possible reason | Dealing method |
| Can’t measure DC, or the value obtained is comparatively low in the frequency range | Power is off | Turn on power |
| Oscilloscope set to AC coupling | Set to DC coupling | |
| Sensor is not locked | Please lock the sensor | |
| Auto degaussing or zero setting unsuccessful | The probe is on the operating circuit under test when degaussing or zero setting is applied | Turn off the circuit under test and zero set again. |
| The amplitude is comparatively low in the frequency range | The input resistance of the test equipment like oscilloscope is 50 Ω | Set the resistance over 1 MΩ |
Q&A
Does CP6000 series fit the oscilloscope of any brand?
A: CP6000 series has standard BNC interface can be applied to the oscilloscope of any brand. It is powered by standard adapter, independent of oscilloscope power, so it is very easy to use.
Can CP6000 series product measure small current?
A: Yes. For now, the CP6000 series current probe has two optional ranges, and one is for small current. The current resolution of the CP6030(A) is 1 mA. When measuring small current, please accurately zero set and degaussing the probe, and do not change the position of the probe hand grip. To observe the waveform please set the bandwidth restriction of the oscilloscope to 20 MHz to eliminate the interference of noise. When measuring extremely small current (a few mA for example), one could make a few more loop of cable around the probe and divide the result with number of loop to obtain the actual current value.
Any more tips?
- When measuring high frequency current, please do not let the current surpass the value shown by the curve of max peak current vs frequency. The max continuous current over the curve will burn the probe.
- To measure accurately, please degauss and zero set the probe, and make sure the probe is locked during the process.
- Set the input impedance of the oscilloscope to 1 MΩ (default)
- Make sure the probe is locked during testing.
- The probe should be away from the interference source like transformer. The method to judge if the probe is interfered is to put the probe close to circuit under test. IF there’s any output, there could be interference in the testing environment because the probe is not on the circuit yet.
- The current under test should not surpass the limit value of the probe.
- Please always maintain your probe and do not use it in the humid environment
- If there’s anything wrong with the probe, please set it back for repairing. If you dismantled the device on your own, we won’t guarantee for repairing.
Packing list
| Packing list | |
| ITEM | Quantity |
| Probe | 1 |
| DC-12 V/1 A adapter | 1 |
| BNC connecting line | 1 |
| Instruction manual | 1 |
| Test report | 1 |
CP4000 Series Current Probe
CP4000 Series Summary
| Model | Peak Current | Continuous Maximum Input Range | BW(-3 dB) | Range switch |
| CP4070A | 200 A | 70 Arms | 300 kHz | 100 mV/A |
| 10 mV /A | ||||
| CP4070 | 200 A | 70 Arms | 300 kHz | 50 mV/A |
| 5 mV/A | ||||
| CP4050 | 140 A | 50 Arms | 1 MHz | 500 mV/A |
| 50 mV/A | ||||
| CP4020 | 60 A | 20 Arms | 200 kHz | 50 mV/A |
| 5 mV /A |
General Safety Instructions
Read the following safety instructions to avoid injury and prevent damage to this product or any products connected to it. Use this product only as specified.
- Only qualified personnel should perform service procedures.
- To avoid fire or Personal injury.
- Connect and Disconnect Properly. Connect the probe output to the measurement instrument before connecting the probe to the circuit under test. Disconnect the probe input and the probe ground from the circuit under test before disconnecting the probe from the measurement instrument.
- Observe All Terminal Ratings. To avoid fore or shock hazard, observe all rating and markings on the product. Consult the instruction manual for further ratings information before marking connections to the product.
- Replace Batteries Properly. Replace batteries only with the proper type and rating specified.
- Do Not Operate Without Covers. Do not operate this product without the covers or panels.
- Avoid Exposed Circuitry. Do not touch exposed connections and components when power is present.
- Do Not Operate With Suspected Failures. If you suspect there is damage to this product, have it inspected by qualified service personnel.
- Do Not Operate in Wet/Damp Conditions.
- Do Not Operate in an Explosive Atmosphere.
- Keep Product Surfaces Clean and Dry.
Safety Terms and Symbols
Terms in this manual. These terms may appear in this manual:
WARNING. Warning statements identify conditions or practices that could result in injury or loss of life.
CAUTION. Caution statements identify conditions or practices that could result in damage to this product or other property.
Terms on the Product. These terms may appear on the product:
DANGER Indicates an injury hazard immediately accessible as you read the marking.
WARNING Indicates an injury hazard not immediately accessible as you read the marking.
CAUTION Indicates a hazard to property including the product.
Symbols on the Product. These symbols may appear on the product:
Attention refer to operation Instructions.
This instrument has double insulation.
Getting Started
The CP4000 series current probe enables a general purpose oscilloscope to display AC and DC current signals up to 100 amps Peak (70 A RMS). The current probe can also make AC and DC measurements with a multimeter by using the recommended accessory MT-246 (BNC-to- banana) plug adapter.

| Control/Indicator | Description |
![]() | Current flow symbol. The arrow shows the probe’s polarity conventionfor measuring current flowing from positive to negative. |
| Zero adjustment. Rotate to adjust the probe output to zero when thereis no current present. It may also be used to offset a DC signal component. Zeroing is not needed for AC measurements unless your instrument cannot isolate a DC component ( if present ). |
![]() | OFF/Range switch. Slide the switch from OFF to either the 10 mV/A or 100 mV/A range. When either range is selected, the probe is turned on, and the green battery indicator lights. |
| Battery indicator. The green battery indicator lights when the probe is turned on. For more information, see Battery Notes and Battery Installation on Page 11. |
| Overload indicator. The red overload indicator lights if the measured signal is greater than the selected range capacity. Switch the probe to 10 mV/A if possible, or remove the probe from the circuit. |
Basic Operation
Before using the probe, the batteries or specified power adaptor must be installed.
![]()
Do not clamp the probe onto circuits with voltages greater than 600 VAC. Personal Injury or damage to the probe may result. Always connect the CP4000 current probe output to the instrument before clamping onto the circuit under test.
- First connect the current probe BNC connector to BP-250 (double BNC connection cable), then connect to oscilloscope input. Start by setting the oscilloscope voltage input channel to DC coupling, and the voltage scale to 100 mV/div.
- Move the OFF/Range switch to the 10 mV/A or 100 mV/A position to turn on the probe.
※ The CP4070A has a green LED power/battery indicator. If the LED does not light, replace the battery or use specified power adaptor. - Use the ZERO adjustment to zero or offset the probe output detection of
residual magnetic DC charges. - Connect the probe to the circuit by opening the jaws and clamping around the conductor. See Figure 2.
※ NOTE. Clamping around both the “hot” and neutral wires may give you a zero reading.
(Remember to unclamp the probe from the conductor before disconnecting it
from your meter or instrument.)
clear and stable view of the signal. Set the oscilloscope input to DC volts ti see both the AC and DC current; Set the channel to AC to see the AC current only. The current drawn by different devices look much different than that of others. While the RMS current can only be used in low frequency current, the momentary peaks may be quite high. Figure 3 shows the difference between the line current drawn by a resistive load and a motor controller.
Congratulations on your purchase of CP4000 series, a multifunctional current probe. When connecting to a digital meter, use the recommended MT-246N ( BNC to banana adapter ). Connect the black lead to the meter COM, and the red lead to the VΩ input .To measure only AC current, set the meter to measure AC volts. To measure DC current, set the meter to measure DC volts. Note the current convention arrow on the probe to get the proper polarity reading. To increase the measurement sensitivity of CP4000, loop sensitivity of CP4000 is multiplied times the number of loops in the jaws. For example: 10 mV/A * 4 turns=40 mV/A
Specifications
| Model | CP4020 | CP4050 | CP4070 | CP4070A |
| BW(-3 dB) | DC-200 kHz | DC-1 MHz | DC-300 kHz | DC-300 kHz |
| Rise time | ≤1.75 us | ≤0.35 us | ≤1.2 us | ≤1.2 us |
| Continuous maximum input range | 20 Arms | 50 Arms | 70 Arms | 70 Arms |
| Max peak current value | 60 A | 140 A | 200 A | 200 A |
| Range switch | 50 mV/A | 500 mV/A | 50 mV/A | 100 mV/A |
| 5 mV /A | 50 mV /A | 5 mV /A | 10 mV /A | |
| DC Accuracy (Typical) | ±2% (0.4 A-10 ApK) at 50 mV/A; ±2% (1 A-60 ApK) at 5 mV/A | ±3% ±20 mA (20 mA-14 ApK) at 500 mV/A; ±4%±200 mA (200 mA-100 ApK) at 50 mV/A; ±15% max (100 A-140 ApK) at 50 mV/A; | ±2% ( 0.4 A-10 ApK) at 50 mV/A ±2% (1 A-200 ApK) at 5 mV/A | ±3% ±50 mA (50 mA-10 ApK) at 100 mV/A; ±4%±50 mA (500 mA-40 ApK) at 10 mV/A; ±15% max (40 A-100 ApK) at 100 mV/A; |
| Power Supply | 9 V Adapter | |||
| Maximum Working Voltage | 300 V CAT III 600 V CAT II | |||
| Maximum 600 V CAT II Floating Voltage | ||||
Mechanical Specifications
| Model | CP4020 | CP4070 | CP4050 | CP4070A |
| Dimensions | 231*67*36 mm | 262*81*36 mm | 280*70*32 mm | |
| Maximum Conductor size | 10.3 mm | 10.3 mm | 11 mm | |
| Cable Length | 200 cm | 100 cm | 100 cm | |
| Weight | 310 g | 310 g | 260 g | |
Environmental Characteristics
| Model | CP4020 | CP4070 | CP4050 | CP4070A |
| Operating Temperature | 0℃~50℃ (+32°F ~ + 122°F) | |||
| Non operating Temperature | -20℃~80℃(-20°F ~ + 80°F) | |||
| Humidity | 0℃~40℃,95%RH 40℃~50℃,45%RH | |||
| Pollution Degree | 2 | |||







Certifications and compliances
| EC Declaration of Conformity Low Voltage | Compliance was demonstrated to the following specification as listed in the Official Journal of the European Union: Low Voltage Directive 73 / 23 / EEC, as amended by 93 / 68 / EEC EN 61010-1/A2:1995 Safety requirements for electrical equipment for measurement, control, and laboratory use. EN 61010-2-032:1995 Particular requirements for hand-held current clamps foe electrical measurement and test equipment. |
| Additional Compliance | IEC61010-1/A2:1995 Safety requirements for electrical equipment for measurement, control, and laboratory use. IEC61010-2-032:1994 Particular requirements for hand-held current clamps foe electrical measurement and test equipment. |
| Installation (Over voltage) Category | Terminals on this product may have different installation (over voltage) category designations. The installation categories are: CAT III Distribution-level mains (usually permanently connected). Equipment at this level is typically in a fixed industrial location CAT II Local-level mains (wall sockets). Equipment at this level includes appliances, portable tools, and similar products. Equipment is usually cord-connected. CAT I Secondary (Signal level) or battery operated circuits of electronic equipment. |
| Pollution Degree | A measure of the contaminates that could occur in the environment around and within a product. Typically the internal environment inside a product is considered to the same as the external. Products should be uses only in the environment for which they are rated. Pollution 1 No pollution or only dry, nonconductive pollution occurs. Product in this category are generally encapsulated, Hermetically sealed, or located in clean rooms. Pollution 2 Normally only dry, nonconductive pollution occurs. Occasionally a temporary conductivity that is caused by condensation must be expected. This location is a typical office/home environment. Temporary condensation occurs only when the product is out of service. |
Accessory

Care and Maintenance
- Keep the probe clean and dry.
- Please wipe with soft dry cloth when clean needed, must not use chemicals to clean.
- Please put the probe in the package provided, and put it in cool, clean and dry places.
- Please put the probe in the package provided to prevent shock.
- Do not forcefully pull the input and output lead to prevent bending, twisted and folding.
Contact SIGLENT
SIGLENT TECHNOLOGIES CO., LTD
Address: 3/F, Building 4, Antongda Industrial Zone, Liuxian Road, Baoan District,
Shenzhen, P.R. CHINA
Service Tel: 0086 755 3688-7876
Post Code: 518101
E-mail: [email protected]
http://www.siglent.com
About SIGLENT
SIGLENT is an international high-tech company, concentrating on R&D, sales, production and services of electronic test & measurement instruments.
SIGLENT first began developing digital oscilloscopes independently in 2002. After more than a decade of continuous development, SIGLENT has extended its product line to include digital oscilloscopes, isolated handheld oscilloscopes, function/arbitrary waveform generators, RF/MW signal generators, spectrum analyzers, vector network analyzers, digital multimeters, DC power supplies, electronic loads and other general purpose test instrumentation. Since its first oscilloscope was launched in 2005, SIGLENT has become the fastest growing manufacturer of digital oscilloscopes. We firmly believe that today SIGLENT is the best value in electronic test & measurement.
Follow us on
Facebook: SiglentTech
SIGLENT Technologies Co., Ltd
Add: Bldg No.4 & No.5, Antongda
Industrial Zone, 3rd Liuxian Road,
Bao’an District, Shenzhen, 518101,
China
Tel: + 86 755 3688 7876
Fax: + 86 755 3359 1582
Email: [email protected]
Website: int.siglent.com
North America:
SIGLENT Technologies America, Inc
6557 Cochran Rd Solon, Ohio 44139
Tel: 440-398-5800
Toll Free: 877-515-5551
Fax: 440-399-1211
Email: [email protected]
Website: www.siglentna.com
Europe:
SIGLENT Technologies Germany
GmbH
Add: Staetzlinger Str. 70
86165 Augsburg, Germany
Tel: +49(0)-821-666 0 111 0
Fax: +49(0)-821-666 0 111 22
Email: [email protected]
Website: www.siglenteu.com
![]()




clear and stable view of the signal. Set the oscilloscope input to DC volts ti see both the AC and DC current; Set the channel to AC to see the AC current only. The current drawn by different devices look much different than that of others. While the RMS current can only be used in low frequency current, the momentary peaks may be quite high. Figure 3 shows the difference between the line current drawn by a resistive load and a motor controller.




















