7014802 Gauge Sight Temp-Jlg Logo
Instruction Manual
7014802 Gauge Sight Temp-Jlg Logo
APLIQUE DUAL
Please read the following instructions applicable to this models.
Outdoor and indoor LED decorative luminaire for overlap.
Only LED Lamp MAX 11 W.
| LATAM | MEX | EXP | MODELOS/MODELS |
| 7014802 | 86596 | 86614 | LEDVANCE APLIQUE DUAL BLACK |
| 7014804 | 86597 | 86615 | LEDVANCE APLIQUE DUAL WHITE |

- To avoid electric shock or component damage disconnect power before attempting installation or servicing.
- Use caution when handling this product during or after operation as it may become hot and cause burns.
- Disconnect product and allow cooling prior to servicing.
- Any alteration or modification of this product is expressly forbidden as it may cause serious personal injury, death, property damage and/or product malfunction.
- To prevent product malfunction and / or electrical shock this product must be properly grounded
- Do not exceed the nominal supply voltage or amperage ratings.
Electrical Connection:
Turn on the electrical power only at the end of the installation.
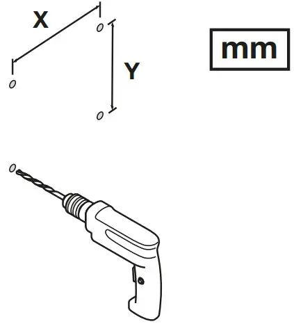
Technical drawing: 
Installation:

Perforation:
| MODELO: | X | Y |
| LEDVANCE APLIQUE DUAL BLACK | 61.5 | 35.5 |
| LEDVANCE APLIQUE DUAL WHITE | 61.5 | 35.5 |

Assinatura comfirma reconhecida
WARRANTY POLICY: This warranty applies to LEDVANCE APLIQUE DUAL BLACK, LEDVANCE APLIQUE DUAL WHITE, for a period of three (3) years from the date of purchase against any defect attributable to the quality of its materials or workmanship during its manufacture, under the following terms and conditions:
TERMS AND CONDITIONS: This warranty is only applicable when the product has been connected, installed and operated correctly within the electrical values, operating range and environmental conditions (temperature and humidity) provided in the specifications contained in the installation instructions. It does not cover the nish of any part of the product, since it is considered normal wear and tear. This warranty shall be void in the event of repairs or alterations (including the replacement of components of the product with components of other manufacturers) made on the product, which have not been authorized in writing by LEDVANCE.
This warranty does not apply to damages or breaches arising as a result of natural disasters or any abuse, misuse, inappropriate use or use in violation of any standard, code or instructions for use, including without limitation the contents of the latest regulations of industrial safety and/or electrical regulations of the corresponding region.
GENERAL: LEDVANCE S.A. of C.V. undertakes to cover the reasonable transportation expenses incurred to make this warranty valid. LEDVANCE S.A. of C.V. reserves the right to review the luminaires submitted for warranty compliance by its technical staff. Due to the characteristics of this product you can not obtain parts, components, consumables or accessories. To make the warranty effective, it is necessary to present the product accompanied by the policy, invoice, receipt or corresponding receipt duly stamped by the establishment that sold it. The warranty can be validated in:
ARGENTINA: LEDVANCE S.A. Francisco Narciso de Laprida 3163 – Piso 2 B1603AAA Villa Martelli Buenos Aires – Argentina. ATENCION AL USUARIO: [email protected]
BRASIL: LEDVANCE Brasil, Comercio de Produtos de Iluminacao Ltda, Alameda Araguaia, 2104 12° andar, CEP: 06455-000 – Alphaville – Barueri, SP CNPJ: 61. 064.697/0001-59, SAC: 0800-0-55-7084 [email protected] www.ledvance.com.br
COLOMBIA: LEDVANCE COLOMBIA SAS, NIT: 901.593.048-5, Carrera 11 A # 94 A – 31 Oficina 407, Edificio Calle 94 A, Tel: +57 601 721 8785, ZIP Code: 110221, Bogota – Colombia. [email protected] ECUADOR: LEDVANCE S.A. RUC 0990001820001, Sky Building, Piso 6 Oficina 602, Av. de las Americas S/N, Parqueo Aeropuerto, Jose Joaquin de Olmedo, Guayaquil – Ecuador, [email protected]
PERU: LEDVANCE S.A.C. RUC 20513583681, Av. Encalada 1257, Oficina 301, Santiago de Surco, Lima, Peru, +51 (1) 6185808, [email protected]
MEXICO: LEDVANCE, S.A. DE C.V. Camino a Tepalcapa No.8, Col. San Martin Tultitlan, Tultitlan, Estado de Mexico, Mexico, CP 54900, 01 800 716 7007 (interior de la Republica), 5899 1807 (CDMX y Area Metropolitana).
C10449057
G11138557
Stamp or signature and date of purchase

















