
CHARCOAL GRILL

Manual applies to the following model number(s)
SH19040819
Your model number
Mfg. Date – Serial Number
These numbers are located on the rating label of the unit.
SH19040819 Charcoal Grill
IMPORTANT
IMPORTANT, RETAIN FOR FUTURE REFERENCE: READ CAREFULLY
FOR OUTDOOR USE ONLY. NOT FOR COMMERCIAL USE.
WWW.SMOKE-HOLLOW.COM
Manual Code: 9804180023 230405-GH
SH-CGW-190417
WARNING![]()
- This manual contains important information necessary for the proper assembly and safe use of the appliance.
- Read and follow all warnings and instructions before assembling and using the appliance.
- Keep this manual for future reference.
Failure to follow these instructions could result in fire, explosion or burn hazard which could cause property damage, personal injury, or death.
CARBON MONOXIDE HAZARD
- Burning charcoal or wood chips gives off carbon monoxide, which has no odor and can cause death.
- DO NOT burn charcoal or wood chips inside homes, vehicles, tents, garages or any enclosed areas.
- Use only outdoors where it is well ventilated.
WARNINGS AND IMPORTANT SAFEGUARDS
READ ALL INSTRUCTIONS
- Always use grill in accordance with all applicable local, state, and federal fire codes.
- Before each use check all nuts, screws, and bolts to make sure they are tight and secure.
- Never operate grill under overhead construction such as roof coverings, carports, awnings, or overhangs.
- Grill is for OUTDOOR HOUSEHOLD USE ONLY.
- Never use inside enclosed areas such as patios, garages, buildings, or tents.
- Never use inside or on recreational vehicles or boats.
- Maintain a minimum distance of 10 ft (3 m) from overhead construction, walls, rails or other structures.
- Keep a minimum 10 ft (3 m) clearance of all combustible materials such as wood, dry plants, grass, brush, paper, or canvas.
- Never use grill for anything other than its intended use. This grill is NOT for commercial use.
- Accessory attachments not supplied by Smoke Hollow® are NOT recommended and may cause injury.
- Use of alcohol, prescription, or non-prescription drugs may impair user’s ability to properly assemble or safely operate grill.
- Keep a fire extinguisher accessible at all times while operating grill.
- When cooking with oil or grease, have a type BC or ABC fire extinguisher readily available.
- In the event of an oil or grease fire do not attempt to extinguish with water. Immediately call the fire department. A type BC or ABC fire extinguisher may, in some circumstances, contain the fire.
- Use grill on a level, non-combustible, stable surface such as dirt, concrete, brick, or rock. An asphalt surface (blacktop) may not be acceptable for this purpose.
- Grill MUST be on the ground. Do not place grill on tables or counters. Do NOT move grill across uneven surfaces.
- Do not use grill on wooden or flammable surfaces.
- Keep grill clear and free from combustible materials such as gasoline and other flammable vapors and liquids.
- Do not leave grill unattended.
- Keep children and pets away from grill at all times. Do NOT allow children to use grill. Close supervision is necessary when children or pets are in the area where grill is being used.
- Do NOT allow anyone to conduct activities around grill during or following its use until it has cooled.
- Never use glass, plastic, or ceramic cookware in grill. Never place empty cookware in grill while in use.
- Never move grill when in use. Allow grill to cool completely (below 115°F (45°C)) before moving or storing.
- Do not store grill with hot ashes or charcoal inside grill. Store only when fire is completely out and all surfaces are cold.
- Never use grill as a heater (READ CARBON MONOXIDE HAZARD).
- The grill is HOT while in use and will remain HOT for a period of time afterwards and during cooling process. Use CAUTION. Wear protective gloves/mitts.
- Be careful when removing food from grill. All surfaces are HOT and may cause burns. Use protective gloves/ mitts or long, sturdy, cooking tools for protection from hot surfaces or splatter from cooking liquids.
- DO NOT bump or impact the grill to prevent personal harm, damage to grill, or spillage/splashing of hot cooking liquid.
- Do not touch HOT surfaces
- Grill is hot during use. To avoid burns, keep face and body away from door(s) and vents. Steam and hot air are expelled during use.
- Air dampers are HOT while the grill is in use and during cooling; wear protective gloves when adjusting.
- Grill has an open flame. Keep hands, hair, and face away from flame and burning charcoal. Do NOT lean over grill when lighting. Be careful of loose hair and clothing during operation as they could catch fire.
- DO NOT obstruct flow of combustion and ventilation.
- Do not cover cooking racks with metal foil. This will trap heat and may cause damage to the grill.
- Never leave HOT coals or ashes unattended.
- Fuel should be kept red hot for at least 30 minutes prior to use.
- Do not cook before the fuel has a coating of ash.
- Do not remove ash can while ashes and charcoal are HOT.
- Use protective gloves when handling this grill or working with fire. Use protective gloves or long, sturdy fireplace tools when adding charcoal.
- Use only charcoal as fuel. Do not use any other fuel source.
- Use only charcoal lighting fluid. Never use gasoline, alcohol or other highly volatile fluids to ignite charcoal. These fluids can explode causing injury or death.
- Never overfill charcoal grate. This can cause serious injury as well as damage to the grill.
- Never add additional lighter fluid once charcoal has ignited. Follow directions on lighter fluid container.
- Dispose of cold ashes by placing them in aluminum foil, soaking with water, and discarding in a noncombustible container.
SAVE THESE INSTRUCTIONS
Structural Proximity and Safe Usage Recommendations
REMINDER: Maintain a minimum distance of 10 feet from rear and sides to walls, rails or other combustible construction.
This clearance provides adequate space for proper combustion, air circulation and venting.

- BEFORE ASSEMBLY READ ALL INSTRUCTIONS CAREFULLY.
- Assemble on a clean flat surface.
- Tools needed: 8-inch long Phillips head screwdriver, pliers or adjustable wrench
- Approximate assembly time: 45 minutes
- Actual product may differ from picture shown.
- It is possible that some assembly steps have been completed in the factory.
DO NOT RETURN TO RETAILER for assembly assistance, missing or damaged parts. Please contact Smoke Hollow® Customer Service at 1-866-475-5180 or smoke-hollow.com/contact-support.
Please have the model number and serial number available. These numbers are located on the silver rating label on the grill.
Packing Contents
It is important that you remove all paper, packing foam and cardboard from the grill before assembly.
Located on the lid/firebox assembly is a support bar used for shipping purposes only. This bar must be removed so that you may successfully assemble your grill. The location of this bar is shown here. The bar is no longer needed.

Hardware List

| Qty | Description | |
| A | 8 | M6x52 Hex Phillips/Slotted-Head Screw |
| B | 2 | M8 Axle Nut |
| C | 2 | #8 Flat Washer |
| D | 2 | Door Hinge Pin |
| E | 2 | M10 Nut |
| F | 12 | M5x10 Flat-Head Screw |
| G | 4 | M5x8 Shoulder Screw |
| H | 3 | M6 KEPS Nut |
| I | 1 | M6x21 Shoulder Screw |
| J | 2 | #10 Lock Washer |
| K | 39 | M6x15 Phillips/Slotted-Head Screw |
| L | 5 | Cotter Pin |
| M | 2 | Axle Bushing |
| N | 1 | M5 Self-Locking Nut |
| O | 1 | M5x15 Screw |
| P | 2 | M6x10 Flathead Screw |
Parts List
Actual product may differ from picture shown.

| Item # | Qty | Description |
| 1 | 1 | Cooking Grate Rear Frame |
| 2 | 2 | Cooking Grate |
| 3 | 1 | Cooking Grate Front Frame with Handle |
| 4 | 1 | Smoke Stack Cap |
| 5 | 1 | Smoke Stack |
| 6 | 1 | Temperature Gauge |
| 7 | 2 | Lid Handle Stand-Off |
| 8 | 1 | Lid Handle |
| 9 | 2 | Side Shelf |
| 10 | 1 | Slotted Adjustment Panel |
| 11 | 1 | Charcoal Tray Linkage Assembly |
| 12 | 1 | Charcoal Tray Linkage Knob |
| 13 | 1 | Lid and Firebox Assembly |
| 14 | 1 | Left Rear Leg #3 |
| 15 | 1 | Left Front Leg #4 |
| 16 | 1 | Right Rear Leg #1 |
| 17 | 1 | Right Front Leg #2 |
| 18 | 2 | Wheel Cap |
| 19 | 1 | Wheel Axle |
| 20 | 2 | Wheel |
| 21 | 1 | Cart Bottom Shelf |
| 22 | 1 | Cart Front Panel |
| 23 | 1 | Cart Rear Panel |
| 24 | 1 | Ash Tray |
| 25 | 1 | Firebox Right Lower Panel |
| 26 | 2 | Air Damper |
| 27 | 1 | Ash Tray Handle |
| 28 | 1 | Firebox Left Lower Panel |
| 29 | 2 | Charcoal Door Hinge |
| 30 | 1 | Charcoal Door |
| 31 | 2 | Charcoal Door Handle |
| 32 | 2 | Charcoal Door Handle Washer |
| 33 | 2 | Charcoal Door Locking Latch |
| 34 | 1 | Charcoal Tray Lift Assembly |
| 35 | 1 | Charcoal Tray |
| 36 | 2 | Cooking Grate Side Frame |
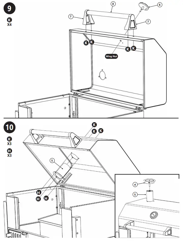
Assembly

Note: Do not fully tighten screws until step 11 is complete.


Note: Do not fully tighten screws until step 11 is complete.

Note: Do not fully tighten screws until step 11 is complete.




To avoid personal injury and damage to grill, have someone help you lift the lid/firebox assembly and place onto the cart. Your helper should hold the lid/firebox assembly steady until all screws are installed.
Note: Do not fully tighten screws until step 11 is complete.






Operating Instructions
PRE-SEASONING YOUR GRILL
Pre-seasoning will rid your grill of chemicals and oils left over by the manufacturing process allowing them to burn off. PRE-SEASON GRILL PRIOR TO FIRST USE.
- Using a napkin or cloth, rub a light coat of cooking oil on cooking grate, charcoal tray, inside grill lid and firebox.
- Raise the cooking grate, open the charcoal door and open air dampers.
- Stack/place up to 4 lbs. (1.8kg) of charcoal on charcoal tray. Stack charcoal in a pyramid, close charcoal door and light charcoal (see LIGHTING YOUR GRILL below). LEAVE GRILL LID OPEN. In about 15 minutes when the flames die out, spread charcoal into a single layer. Use only charcoal as fuel. Do not use any other fuel source.
- With protective gloves on, lower cooking grate into position. CLOSE THE LID.
- Let the grill burn for about 1 hour. Make sure the temperature reaches 350°F (177°C).
- Allow grill to cool COMPLETELY.
- Reapply a light coat of cooking oil on cooking grate, charcoal tray, inside grill lid and firebox.
- Relight the grill and burn for 20 minutes.
Frequent seasoning prevents rusting. If rusting occurs, clean with a steel brush, apply vegetable shortening, and heat as indicated above.
- Raise the cooking grate, open the charcoal door and open air dampers.
- Stack/place up to 4 lbs. (1.8kg) of charcoal on charcoal tray. Stack charcoal in a pyramid. Use only charcoal as fuel. Do not use any other fuel source.
- Close charcoal door.

- Add lighter fluid following directions on fluid container. Before lighting, place lighter fluid at least 25 ft (7.5m) away from grill. Do not lean into grill when lighting charcoal. Light charcoal. LEAVE GRILL LID OPEN.
- In about 15 minutes flames will die out and charcoal will begin to ash over. Once the charcoal is completely ashed over, spread charcoal in a single layer.
• If planning to cook for more than 30 to 40 minutes, additional charcoal should be added. Add 10 to 20 briquets to the outer edge of the fire immediately after initial briquets have been spread on tray. Once these briquets become 80% ashed over, add them to the center of the fire as needed to maintain constant cooking temperatures. Read all instruction and warnings on charcoal bag. - With protective gloves on, lower cooking grate into position.
- DO NOT cover cooking grate with aluminum foil as this will not allow heat to circulate properly.
- Place food in the grill, position in the center of the cooking grate.
- DO NOT overload grill with food. Extra large amounts of food may trap heat, extend cooking time and cause uneven cooking. Leave space between food on grate and grill sides to ensure proper heat circulation. If utilizing cooking pans, place pans on center of grate to ensure even cooking.
- Adjust grill air dampers and charcoal tray height to reach desired cooking temperature.
• Close all air dampers on unit to retain moisture and heat. If cooking foods such as fish or jerky, open air dampers to release moisture.
• Start with grate in lowest position and raise as needed to reach desired grate temperature.
Tip: The adjustable charcoal tray can be moved to within a few inches of the cooking grate allowing you to sear your meat and lock in the juices. Searing takes only a few minutes on each side. Don’t allow the meat or food to burn. After searing, lower the charcoal tray back to the bottom and cook the food to your personal preference. - Extreme cold temperatures may extend cooking times.
- Once cooking is complete allow grill to cool and then follow CLEANING AND STORAGE. CLEAN AFTER EVERY USE. This will extend the life of your grill and prevent mold and mildew.
CLEANING AND STORAGE
- ALWAYS MAKE SURE UNIT IS COOL TO THE TOUCH BEFORE CLEANING AND STORING.
- Inspect hardware and assembled parts on a regular basis to ensure grill is in safe working condition.
- Always empty ash tray after each use once ashes have completely cooled. This will help prolong the life of the ash tray.
- Clean grill and cooking grate with mild dish detergent. Wipe outside of grill with a damp rag. DO NOT use oven cleaner or other cleaning agents. Make sure to dry thoroughly.
- After ashes are cold, clean ash tray and inside of firebox after every use to remove ash build up, residue and dust.
- Dispose of cold ashes by placing them in aluminum foil, soaking with water and discarding in a non-combustible container.
- Always cover and store grill in a protected DRY AREA. Store only when fire is out and all surfaces are cold.
- When grill is not in frequent use, even when using a grill cover, remember to check your grill periodically to avoid possible rust and corrosion due to moisture buildup.
Grilling Guide
| BEEF | SIZE | GRILLING TIME | INTERNAL TEMP |
| Steaks | 3/4″ (2cm) thick | 3-4 min./side | Med. rare 145°F (62°C) |
| 4-5 min./side | Med. 160°F (71°C) | ||
| Kabobs | 1″ (2.5cm) cubes | 3-4 min./side | 145°-160°F (62°-71°C) |
| Hamburger patties | 1/2″ (12mm) thick | 3-4 min./side | Med. 160°F (71°C) |
| Roast, rolled rump | 4-6 lbs. (1.8-2.7kg) | 18-22 min./lb. | 145°-160°F (62°-71°C) |
| Sirloin tip | 31/2-4 lbs. (1.5-1.8kg) | 20-25 min./lb. | 145°-160°F (62°-71°C) |
| Ribs, back | Cut in 1-rib portions | 10 min./side | Med. 160°F (71°C) |
| Half, 2-3 lbs. (0.9-1.3kg) | 10-12 min./side | Med. rare 145°F (62°C) | |
| Tenderloin | Whole, 4-6 lbs (1.8-2.7kg) | 12-15 min./side | Med. 160°F (71°C) |
| PORK | SIZE | GRILLING TIME | INTERNAL TEMP |
| Chops, bone-in | 3/4″ (2cm) thick | 3-4 min./side | Med. 160°F (71°C) |
| Chops, bone-out | 11/2″ (4cm) thick | 7-8 min./side | Med. 160°F (71°C) |
| Tenderloin | 1/2-11/2 lbs. (0.2-.06kg) | 15-20 min. total | Med. 145°F (62°C) |
| Ribs (indirect heat) | 2-4 lbs. (0.9-1.8kg) | 11/2-2 hrs. | Med. 160°F (71°C) |
| VENISON | SIZE | GRILLING TIME | INTERNAL TEMP |
| Roast, saddle or leg | 6-7 lbs. (2.7-3.1kg) | 25-30 min./lb. | 145°-160°F (62°-71°C) |
| Steaks | 3/4″ (2cm) thick | 6-7 min./side | Med. 160°F (71°C) |
| CHICKEN | SIZE | GRILLING TIME | INTERNAL TEMP |
| Broiler fryer (indirect heat) | 3-4 lbs. (1.3-1.8kg) | 60-75 min. | In thigh 180°F (82°C) |
| Cornish hen | 18-24 oz. (510-680g) | 45-55 min. | In thigh 180°F (82°C) |
| Breast halves, bone-in | 6-8 oz. (170-226g) each | 10-15 min./side | 170°F (77°C) |
| Breast halves, boneless | 4 oz. (113g) each | 6-8 min./side | 170°F (77°C) |
| Legs or thighs | 4-8 oz. (113-226g) | 10-15 min./side | 180°F (82°C) |
| Drumsticks | 4 oz. (113g) | 8-12 min./side | 180°F (82°C) |
| Wings | 2-3 oz. (56-85g) | 8-12 min./side | 180°F (82°C) |
- When outside temperature is cooler than 65°F (18°C) and/or altitude is above 3,500 feet (1067m), additional cooking time may be required.
- To insure that meat is cooked thoroughly use a meat thermometer to test internal temperature.
- Lifting grill lid during cooking process may extend cooking time due to heat loss.
Smoke Hollow® 1-YearLimitedWarranty
Smoke Hollow® warrants its products to be free from defects in material and workmanship under proper assembly, normal use and recommended care for 1 year from the date of original retail purchase. The Smoke Hollow® warranty does not cover paint finish as it may burn off during normal use. The Smoke Hollow® warranty does not cover rust. Smoke Hollow® requires proof of purchase for warranty claim, such as a receipt. Upon the expiration of such warranty, all such liability shall terminate.
Within the stated warranty period, Smoke Hollow®, at its discretion, shall replace defective components free of charge, with the owner being responsible for shipping. Should Smoke Hollow® require return of component(s) in question for inspection, Smoke Hollow® will be responsible for shipping charges to return requested item. This warranty excludes property damage sustained due to misuse, abuse, accident, or damage arising out of transportation.
This express warranty is the sole warranty given by Smoke Hollow® and is in lieu of all other warranties, expressed or implied including implied warranty, merchantability, or fitness for a particular purpose. Neither Smoke Hollow® nor the retail establishment selling this product has authority to make any warranties or to promise any remedies in addition to or inconsistent with those stated above. Smoke Hollow®’s maximum liability, in any event, shall not exceed the purchase price of the product paid by the original consumer/ purchaser. Some states do not allow the exclusion or limitation of incidental or consequential damages. In such a case, the above limitations or exclusions may not be applicable.
California residents only: Not withstanding this limitation of warranty, the following specific restrictions apply; if service, repair, or replacement of the product is not commercially practical, the retailer selling the product or Smoke Hollow® will refund the purchase price paid for the product, less the amount directly attributable to use by the original buyer prior to the discovery of the nonconformity. Owner may take the product to the retail establishment selling this product in order to obtain performance under warranty. This express warranty gives you specific legal rights, and you may also have other rights which vary from state to state.
Visit smoke-hollow.com or complete form below and return to:
Attn: Warranty Registration
Smoke Hollow®
5032 Milgen Court | Columbus, GA 31907
Name: _______________________________________________ Address: __________________________
City: ___________________
State/Province: _________________ Postal Code: ______________________________ Phone Number: ____________
E-mail Address: ____________________________________________
*Model Number: ___________________ *Serial Number: ________________
Purchase Date: ____________- __________-_____________ Place of Purchase: ____________________
*Model Number and Serial Number are located on silver label on back of grill.

















