METALTECH 778300005918 Pump Jack System

OPERATIONAL SAFETY
CAPACITY: No more that 500 lb between any two Pump Jack Poles. This capacity considers a 4:1 safety factor as required by OSHA Standards when installed according to instructions.
GENERAL REQUIREMENTS: Pump Jack System products are intended for use by qualified professional contractors.
Prior to installation, the user should review all instructions for the installation, use and care of these products. All scaffolding and accessories must be used in strict compliance with local, national or OSHA legislation which applies.
FAILURE TO UNDERSTAND AND FOLLOW ALL SAFETY RULES AND ASSEMBLY INSTRUCTIONS COULD RESULT IN SERIOUS INJURY OR DEATH.
METAL CONDUCTS ELECTRICITY:
- Do not use this equipment where contact may be made with power lines or other live electrical circuits.
- Pump Jack Poles must be securely braced to the work wall at the top, bottom and at least every 10’ between with a Pump Jack Pole Brace.
- The Pump Jack System can be adjusted to any height up to a maximum of 30 feet.
- Guard rails and end rails must be used at all times. Guard rails consist of a top rail placed 42” above the work platform and a mid-rail placed mid-way between the work platform and the top rail. End rails are required to close off both ends of the platform.
- Toe boards shall be installed on all open sides and ends of platforms when used above 10 feet from the ground.
- A ladder, in accordance with OSHA regulations shall be provided for access to the work platform during use.
- The work bench was designed for use as a work surface and is not to be used as a scaffold platform.
Federal regulations require the user to have knowledge of all regulations that apply to the use and care of this product and that the employer provide training.
CHOOSING A WALK PLANK
- Wood walk planks shall be made of Scaffold Grade or equivalent lumber. When fabricated from 2 inch full thickness undressed lumber, the maximum span between supports shall not exceed 9 feet. When fabricated from 2 inch nominal thickness lumber, the maximum span between supports shall not exceed 7 feet.
- Aluminum walk planks must be manufactured for that purpose and shall not exceed 24 feet in length. The maximum span between supports should not exceed 11 feet. Aluminum walk planks longer than 12 feet and less than 24 feet must always be supported in the middle of the platform with a pump jack in addition to both ends.
- All walk planks shall be overlapped a minimum of 12 inches and secured from movement.
- All walk planks must extend no less than 6 inches and no more than 12 inches over the support arms.
- Scaffolding planks should fully deck the pump jack platform arms.
- There should be no more than two people on a pump jack platform between any two pump jacks.
SYSTEM COMPONENTS

- PUMP JACK BRACE
MODEL: PJ-BST
- PUMP JACK WORKBENCH AND GUARD RAIL
MODEL: PJ-WBST
- PUMP JACK
MODEL: PJ-PJST
- PUMP JACK POLE ANCHOR
MODEL: PJ-PAST
SET UP
- Select two clear, straight-grained fir wood 2×4’s (1-1/2” x 3-1/2”) free from all knots or defects.
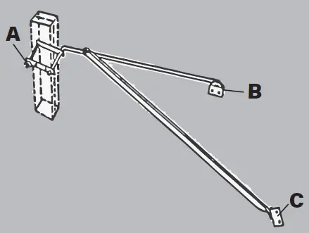
Nail together with 10d common nails 12” center to center, staggered uniformly from opposite edges. Splices may be used to extend the pole to a maximum of 30 feet. The 2×4’s must overlap a minimum of 3 feet and nails should be spaced a minimum of 6” center to center for a distance of 18 inches on each side of the splice. Mending plates shall be installed at all splices so as to develop the full strength of the member. Countersink all nails. Loosen wing nut (A) on Pump Jack Brace. Slide clamps over wood pole so that seam faces the carriage bolt and tighten at desired height. Nail clamps to Pump Pole.

- Stand pump pole up vertically, imbed base in dirt about 2 3”-4”. Be sure pole is bearing on a firm foundation (mud sill), or use Pump Jack Pole Anchor. (Pump Jack pole must be braced at top, bottom and every A 10’). Attach pump pole brace to work wall with nails or screws. Round Rod (B) attaches at right angle to wall and angle iron
brace (C) attaches 32” to right or left, enabling installation on studs 16” apart. Poles should be secured to wall a maximum of every 10 feet in height.
To determine appropriate spacing between poles see section on
“CHOOSING A WALK PLANK”
- Attach the pump jack to the pole with the bed facing the work wall, by removing pin and roller (D) crank (E) square rod (F). Place the pump jack over the pole and reconnect parts.
Open pump jack bed to full extended length and place planks on bed, thus completing staging. Be sure that the platform is fully decked and the planking secured against movement. Install guard rails in accordance with OSHA regulations. The Guard Rail Holder should be used to assist in this installation.
TO OPERATE
TO RAISE PUMP JACK
Stand on walk plank with the jack and pole in front of you. Lock the crank (A) by sliding the crank handle to the right or left until square rod is in square hole. Place right foot in stirrup (B) and pump slowly until platform is raised approximately 1 foot. Repeat this procedure on the other pump jack.
IMPORTANT – Raise Stirrup to “Up” Position (C) when desired height is reached.
TO LOWER PUMP JACK
Be sure stirrup (A) is in the “Up” position. Unlock Crank (B) by sliding handle to the right or left until it turns freely. (If crank seems jammed, depress stirrup about 3” and return to “Up” position. This will free crank for easy unlocking.) Place left foot on the square key (C) of lower lock. Press foot down and hold lock open. Turn Crank (B) in a clockwise direction to lower staging approximately 1 foot and lock crank. Repeat this procedure on the other Pump Jack.
TO PASS A PUMP POLE BRACE
An extra Pole Brace is to be installed approximately 4 feet above the Pole Brace to be passed. Remove nails from clamp of Pump Pole Brace. Remove the wing nut and carriage bolt. Separate plates and let the brace swing down against the work wall. Do not remove Pump Jack Brace from wall. After the Pole Brace has been passed, reconnect it to the Pole and remove the extra Pole Brace.
One Year Limited Warranty
Metaltech-Omega Inc. guarantees this product against any material defect. Please return this product, freight prepaid, to Metaltech-Omega Inc. At its own discretion, Metaltech-Omega Inc. will replace or repair this product and return it within a reasonable time. This warranty does not cover any damage(s) caused by any incorrect or inappropriate use, care or maintenance. Proof of purchase must accompany the return.







To determine appropriate spacing between poles see section on



















