Cycle Machines Training Bicycle Cardio Fitness

Important Safety Information
Please keep this manual in a safe place for reference.
- It is important to read this entire manual before assembling and using the equipment. Safe and efficient use can only be achieved if the equipment is assembled, maintained and used properly. It is your responsibility to ensure that all users of the equipment are informed of all warnings and precautions.
- Before starting any exercise program you should consult your doctor to determine if you have any physical or health conditions that could create a risk to your health and safety, or prevent you from using the equipment properly. Your doctor’s advice is essential if you are taking medication that affects your heart rate, blood pressure or cholesterol level.
- Be aware of your body’s signals. Incorrect or excessive exercise can damage your health. Stop exercising if you experience any of the following symptoms: Pain, tightness in your chest, irregular heartbeat, extreme shortness of breath, feeling light headed, dizzy or nauseous. If you do experience any of these conditions you should consult your doctor before continuing with your exercise program.
- Keep children and pets away from the equipment. The equipment is designed for adult use only.
- . Use the equipment on a solid, flat level surface with a protective cover for your floor or carpet. For safety, the equipment should be not less than 0,6 M2 greater than the training area in the directions from which the equipment is accessed
- Before using the equipment, check the nuts and bolts are securely tightened. Some parts like pedals, etc., It’s easy to be wared away.
- The safety level of the equipment can only be maintained if it is regularly examined for damage and/or wear and tear.
- Always use the equipment as indicated. If you find any defective components whilst assembling or checking the equipment, or if you hear any unusual noise coming from the equipment during use, stop. Do not use the equipment until the problem has been rectified.
- Wear suitable clothing whilst using the equipment. Avoid wearing loose clothing which may get caught in the equipment or that may restrict or prevent movement. Please run it slowly in the beginning. Please hold the handlebar tightly and do not let your body leave the seat when exercise.
- The equipment has been tested and certified to EN957 under class H.C. Suitable for domestic, home use only.
Maximum weight of user, 330lbs. Breaking is speed independent. - . Care must be taken when lifting or moving the equipment so as not to injure your back. Always use proper lifting techniques and assistance.
PARTS OVERVIEW

REQUIRED TOOLS
![]() #10: Bolt | ![]() #11:Flat Washer | ![]() #12:Arc Washer | ![]() #13:Cap Nut |
![]() #14:Carriage Bolt | ![]() #16: Flat Washer | ![]() #17:Bolt | ![]() #20:Safe Pin |
![]() | ![]() | ||
NO. | DESCRIPTION | SPEC | QTY |
1 | Handlebar Frame | 1 | |
2 | Seat Post | 1 | |
3-1 | Front Stabilizer(with wheel) | 1 | |
3-2 | Rear Stabilizer | 1 | |
4 | Monitor | 1 | |
5 | Seat | 1 | |
6 | Pedal L | 1 | |
7 | Pedal R | 1 | |
8 | Knob | 1 | |
9 | Sensor Cable(male) | 1 | |
10 | Bolt | M6*12 | 4 |
11 | Flat Washer | Ø18*6.5*1.5 | 4 |
12 | Curved Washer | Ø20*8.5*1.5 | 4 |
13 | Cap Nut | M8 | 4 |
14 | Carriage Bolt | M8*65 | 4 |
15 | Support Post | 1 | |
16 | Flat Washer | Ø20*8.5*1.5 | 3 |
17 | Bolt | M8*15 | 3 |
18 | Sensor Cable(female) | 1 | |
19 | Main Frame | 1 | |
20 | Safe Pin | 1 |
ASSEMBLY STEPS
Step 1
Attach the front stabilizer (3-1) and the rear stabilizer (3-2) onto the main frame (19) using cap nuts (13), carriage bolt (14), two curved washers (12).
Step 2
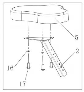
Assort the seat (5) with seat post (2), adjust the angle of the seat, fix it tightly with bolt (17), flat washers (16).
Step 3
Insert the seat post (2) into the main frame (19) and line up the holes. Secure the seat in position with the adjusting knob (8). The correct height for the seat can be adjusted after the bike is fully assembled
Step 4
Insert the handlebar (1) into the main frame_(19) and line up the holes. Secure the handlebar with four bolts (10) and flat washers(11). Connect the cables on the monitor_(9) and main frame_(18).

Step 5
The pedals (6/7) are marked “L” (left) and ”R” (right). Connect them to matching crank arms. The right crank arm is on the right hand side of the cycle as you sit on it.
NOTE: the right pedal should be threaded on clockwise, the left pedal anti-clockwise
Step 6
Using safe pin (20) to fold the bike.
Warning: When folding, please always place the equipment on a solid, flat level surface. Store in a safe place, keep children and pets away from the equipment at all times!
Customer service
If you have any questions, please feel free to contact our customer service.
Email address: [email protected]
Amazon: Login your Amazon account > choose “Your orders” > find the order ID > click “Contact seller”
You can search” BCAN Exercise Bike- Video of Installation ” on YOUTUBE to get the guide video.
If any parts was broken or lost when you received, please contact us and we will send you the replacement.





























