BON PERGOLA Manual Screen Shade Set

Product Information
Manual Zipper Screen
The Manual Zipper Screen is a retractable screen/shade that can be installed in pergolas, patios, and other outdoor spaces. The screen is designed to protect you from the sun’s harmful UV rays and provide privacy while still allowing fresh air to circulate.
Tools Required
- Motor Regulator (for motorized units only)
- Electrical Adhesive Tape (for motorized units only)
- Wire Clamp (for motorized units only)

Motor Regulator, Electrical Adhesive Tape, Wire Clamp is for motorize unit only
Installation
Step 1:
Before installing the screen/shade, measure the three widths to make sure they are equal. This is important to ensure proper functioning of the screen.
Step 2:
Clear the work area and lay out all parts to ensure everything is contained in the box. Before installing, double-check that the sides are level. If they are not level, it could cause the screen to fail over time. Remove the front cover.
Step 3:
Lift up the screen and pull down and push upward to double-check if the screen can retract back to the top without falling down after you push up. If it slides down after pushing up, you will need to follow the increase tension instruction on our website Q&A section to increase its tension little by little until it stays up completely. Failed to check tension could result in taking the screen down and reinstalling it again.
Step 4:
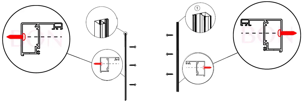
Pre-drill holes for the screw to connect the side channel and the pergola post later.
Step 5:
Separate the front rail, plastic zipper guide insert, and back rails. Insert the back rails into the sides of the box cassette (so they are in one piece), then screw it onto the pergola with self-tapping screws on each side. Plan which side you want the screen to align to before screwing the side rail.
Step 6:
Insert the zipper with fabric into the plastic zipper guide insert rails and align it to the side rail.
Step 7:
Assemble the front rail tight by pushing the front rail into the back rail (while the plastic zipper guide insert is within).
Step 8:
Pull the fabric down only after the screen is fully assembled for testing.
Following these installation instructions will ensure that your Manual Zipper Screen is properly installed and functions as intended.
Product Installation
Step1 :
Before installing your screen/shade, measure the three width to make sure they are equal before starting. This is important to make sure the screen will function properly.

Step 2:
Clear work area and lay all parts to ensure all parts are contained in the box
NOTE: Before installing, double check the sides are level. (not level could cause the screen to fail overtime)

Step 3
Before installing, lift up the screen and pull down and push upward to double-check if the screen can retract back to the top without falling down after you push up. If it slide down after push-up, you will need to follow the increase tension instruction o n our website Q&A section to increase its tension little by little until it is completely stay up.
NOTE:
Failed to check tension could result in taking the screen down and reinstall it again.

Step 4 :
Pre Drill holes for the screw to connect the side channel and the pergola post later.

Step 5:
Separate the front rail, plastic zipper guide insert, and back rails.
Insert the back rails into sides of box cassette (so they are in one piece), then screw it onto the pergola with self-tapping screws on each side.

Note, plan which side you want the screen to align to before screwing the side rail.

Step 6
Insert the zipper with fabric into the plastic zipper guide insert rails and align it to the side rail

Step 7 :
Assemble the front rail tight by pushing the front rail into the back rail (while the plastic zipper guide insert is within).

Step 8 :
Pull the fabric down only after the screen is fully assembled for testing.

















