Climax Technology MINISDF1919 Mini Smoke Detector

Mini-SD-HME is a mini sized wireless smoke detector with built in PIR motion sensor, heat detector and emergency light. Mini-SD-HME is designed to protect your family against potential fire hazard.
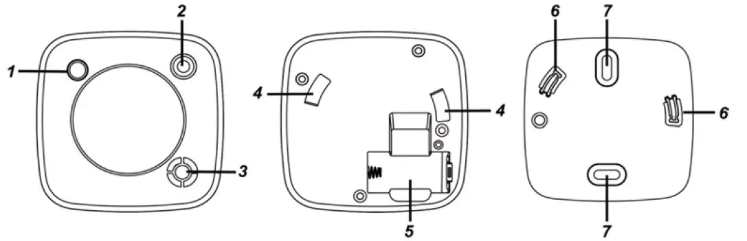
Parts Identification

Red LED
- Quick flash: Alarming
- Flashes every 1 second: Sleep Mode.
- Flashes every 2 seconds: Under warmup and calibration process.
- Flashes every 4 seconds with Orange LED: battery exhausted.
- Flashes briefly: When Learn Button is pressed to see if the device is functioning normally.
- Lights up briefly: Transmitting signal.
- Flashes 2 times: When receiving acknowledgement from the Control Panel.
Orange LED
- Flashes every 4 seconds with RED LED: battery exhausted.
- Flashes every 5 seconds: Calibration Failure
- Flashes every 45 seconds: Low battery condition
- Press the button once to.
- Send a supervision / test signal.
- Check smoke detection chamber.
- Silence alarm.
Emergency Light
The emergency light will be turned on simultaneously when an alarm is triggered.
- Buzzer
- Mounting Holes
- Battery compartmen
- Hook
- Mounting Holes
Getting Started
Step 1
Put the Control Panel into learning mode. Refer to the Control Panel manual for details.
Step 2
Insert battery to power on the Mini Smoke Detector.
Step 3
The Mini Smoke Detector will emit 2 short beeps and begin warm up for 1 minute. The Red LED will flash
every 2 seconds.
Step 4
During the 1 minute period, press the Learn/Test button once to transmit learn code. The Mini Smoke. Detector will emit a 2-tone beep. Refer to Control Panel manual to complete learning process.
Step 5
When the Mini Smoke Detector completes warm-up, it will emit a beep to indicate it has entered calibration mode. The calibration mode lasts for 1~9 minutes. The Red LED will continue to flash every two seconds during calibration. Learning the Mini Smoke Detector is prohibited during this period.
Step 6
When calibration is completed, the Mini Smoke Detector will emit 2 short beeps and turn off LED to return to normal mode. If the Mini Smoke Detector is not learnt into panel previously, press the Learn/Test button now to complete learning.
Features
Battery
A 3V CR123A Lithium Battery is used to supply power to the Mini Smoke Detector. The Mini Smoke Detector has a foolproof mechanism which prohibits cover closure without first installing battery. When the Mini Smoke Detector is low on battery, a low battery signal will be transmitted along with regular signal transmissions. The Orange LED will flash with low-volume beep once every 45 seconds. Both Red and Orange LED will flash once every 4 seconds when the battery is exhausted.When changing the battery, after removing the old battery, press the Test Button twice to fully discharge before inserting new battery.
Testing the Mini Smoke Detector
By pressing the Test Button on the Mini Smoke Detector, you can test if the Mini Smoke Detector is functioning normally. If the Mini Smoke Detector functions normally, the Red LED will flash briefly followed by 3 Da Da Da sound. If the buzzer did not emit any sound, the “Optical Chamber” on the Mini Smoke Detector is either dirty or out-of-order.
Test Mode for IR function
The Mini Smoke Detector can be put into Test mode by pressing the Test Button. Every time the Test Button is pressed, the Mini Smoke Detector will transmit a test signal to the Control Panel for radio range test and enter the test mode for 3 mins. It will exit Test Mode automatically after 3 minutes and return to normal mode. In Test mode, the sleep timer is disabled, and the LED indicator will flash every time a movement is detected.
ACK
After the test button is pressed for one time, if the Mini-SD-HME receives acknowledgement from the Control Panel, the Red LED will flash 4 times followed by two beeps. If the Mini-SD-HME does not receive acknowledgement from the Control Panel, the Red LED will flash 8 times followed by two beeps.
Supervision
The Mini Smoke Detector will transmit a supervision signal to report its condition regularly according to user setting. The factory default interval is 15~18 minutes. The user can also press the Test Button once to transmit a supervision signal manually.
Alarm Activation
The Mini Smoke Detector will activate fire alarm when either of its smoke detection or high heat detection function is triggered. When an alarm is activated, the Mini Smoke Detector will transmit alarm signal and raise alarm with its built-in buzzer.
Smoke Detection
The Mini Smoke Detector checks smoke concentration every 8 seconds. The alarm is activated whenever the smoke concentration exceeds the detection threshold, and will continue until the smoke concentration drops below alarm threshold. The Red LED will flash quickly during alarm.
Heat Detection
The Mini Smoke Detector checks temperature every 10 seconds. The alarm will be activated in the following conditions. When the temperature rises by 8.25°C per minute (Rate of Rise. When the temperature exceeds 57.25°C High Heat. The Red LED will flash every second during alarm. The Mini-SD will only stop alarming if the temperature drops below alarm threshold. If the alarm was triggered by Rate of Rise condition (8.25°C per minute or more, the temperature must drop to 4°C below highest temperature detected for the detector to stop alarming. If the alarm was triggered by High Heat condition (57.25°C), the temperature must drop below 49°C for Mini detector to stop alarming. The Mini Smoke Detector will transmit a restore signal if no smoke or high heat is detected for 160 seconds. If the alarm condition persists, the Mini Smoke Detector will resend alarm signal every 2 minutes.
IR Detection
The Mini Smoke Detector will transmit signal to the Control Panel if any movement is picked up within the IR detection coverage. The buzzer will not sound and the LED will not flash. Please refer to your Control Panel for details.
Alarm Silence
When the Smoke Detector is alarming, pressing the Test button will put the Smoke Detector into Alarm Silence mode to silence the alarm for 9 minutes. The buzzer will only stop sounding after the alarm has been activated for at least 1 minute. If the button is pressed before alarm time reaches 1 minute, the Smoke Detector will wait until alarm time has reach 1 minute before silencing the alarm. During the 9 minute Alarm Silence period, the Red LED will flash once per second. The Smoke Detector will continue to monitor smoke concentration during the alarm silence period. After the 9-minute Alarm Silence period has expired, if the smoke concentration has dropped below alarm threshold, the Smoke Detector will emit a 2-tone beep and return to normal operation without sounding alarm. If smoke concentration still exceeds alarm threshold, the Smoke Detector will start alarming again. If smoke concentration continues to rise during Alarm Silence period and exceeds a second alarm threshold, the Smoke Detector will start alarming again. An alarm activated by exceeding the second alarm threshold could not be silenced by pressing the test button.
Recalibration
As the operation condition of the Mini Smoke Detector may vary after being installed for some time, you may wish to recalibrate the Mini Smoke Detector to take a new smoke detection threshold value and ensure optimal performance of the Mini Smoke Detector. To do this Press and hold the Test Button for 10 seconds and release when the Mini Smoke Detector emits 2 beeps. The device will sound another beep after 5 seconds and begin calibration. The Red LED will flash every 2 seconds to indicate. Calibration process lasts 1~9 minute. When calibration is finished, the Mini Smoke Detector will sound a two-tone beep. The Red LED will stop flashing to indicate it has returned to normal mode. If calibration fails, the Mini Smoke Detector will beep continuously, and the Orange LED will flash every 5 seconds. Please remove the battery, press the Test Button twice to fully discharge, and then reinsert the batteries to restart Mini Smoke Detector.
Installation
Installation Guideline

- It is recommended that the installation site be in the center area of the ceiling.
- Do not locate the detector in the following locations:
- The Kitchen – Smoke from cooking might cause an unwanted alarm.
- Near a ventilating fan, florescent lamp or air-conditioning equipment air drafts from them may affect the sensitivity of the detector.
- Near ceiling beams or over a cabinet stagnant air in these areas may affect the sensitivity of the detector.
- In the peak of an A frame type of ceiling.
- Avoid installing the Mini Smoke Detector in areas where devices may cause rapid change of temperature in the detection area, e.g. air conditioner, heaters, etc.
Mounting the Mini Smoke Detector
Step 1
Place the Mini Smoke Detector at desired mounting location and use the Range Test function to make sure the Mini Smoked Detector can be received by the Control Panel at mounting location.
Step 2
The Mini Smoked Detector has a mounting bracket for ceiling installation. Use the holes on the bracket as template to mark the mounting location on ceiling.
Step 3
Screw the mounting bracket onto the ceiling based on the marked locations.
Step 4
Align the mounting holes on Mini Smoke Detector with the hooks on the mounting bracket. Fit the Mini Smoke Detector onto the bracket.
Step 5
The imprinted marks provide an easy identification for installation. Make sure the two triangle marks are aligned with each other.

Step 6
Rotate clockwise to lock the hook.

Step 7
When the pause mark is aligned with the triangle mark.
Federal Communication Commission Interference Statement
This equipment has been tested and found to comply with the limits for a Class B digital device, pursuant to Part 15 of the FCC Rules. These limits are designed to provide reasonable protection against harmful interference in a residential installation. This equipment generates, uses and can radiate radio frequency energy and, if not installed and used in accordance with the instructions, may cause harmful interference to radio communications. However, there is no guarantee that interference will not occur in a particular installation. If this equipment does cause harmful interference to radio or television reception, which can be determined by turning the equipment off and on, the user is encouraged to try to correct the interference by one of the following measures
- Reorient or relocate the receiving antenna.
- Increase the separation between the equipment and receiver.
- Connect the equipment into an outlet on a circuit different from that to which the receiver is connected.
- Consult the dealer or an experienced radio/TV technician for help.
FCC Caution
To assure continued compliance, any changes or modifications not expressly approved by the party responsible for compliance could void the user’s authority to operate this equipment. Example use only shielded interface cables when connecting to computer or peripheral devices.
FCC Radiation Exposure Statement
This equipment complies with FCC RF radiation exposure limits set forth for an uncontrolled environment. This equipment should be installed and operated with a minimum distance of 20 centimeters between the radiator and your body. This transmitter must not be co located or operating in conjunction with any other antenna or transmitter.
The antennas used for this transmitter must be installed to provide a separation distance of at least 20 cm from all persons and must not be co-located or operating in conjunction with any other antenna or transmitter. This device complies with Part 15 of the FCC Rules. Operation is subject to the following two conditions this device may not cause harmful interference, and this device must accept any interference received, including interference that may cause undesired operation.




















