Climax Technology SD-32 Smoke Detector

SD-32 Smoke Detector Series
SD-32 Series is a wireless smoke detector designed to protect you against potential fire hazards. The Smoke detector uses multi criteria sensor technology for detecting between fast burning flames and slow smoldering fires, while at the same time includes intelligent technology to differentiate between cooking smoke and actual life-threatening house-fire emergencies, virtually eliminating nuisance alarms.
The SD-32 series models are listed as below:
| Model Name | Smoke Detection | Heat Detection | PIR Motion Sensor | Interconnection |
| SD-32 | O | |||
| SD-32-H | O | O | ||
| SD-32-HM | O | O | O | |
| SD-32-HM-SC | O | O | O | O |
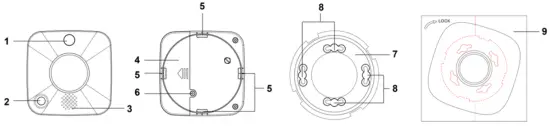
Parts Identification

- LED Indicator / Test Button
Red LED
• Quick flash: Alarming.
• Flashes every 1 second: Smoke Detector under Alarm Silence Mode.
• Flashes every 2 seconds: Smoke Detector under warmup and calibration process.
• Flashes every 4 seconds with Orange LED: battery exhausted.
• Flashes briefly: When Learn Button is pressed to see if the device is functioning normally.
• Turns ON briefly: Transmitting signal.
Orange LED
• Flash every second: Device power on/Calibration failed.
• Flashes every 4 seconds with RED LED: battery exhausted.
• Flashes every 5 seconds: Detecting smoke failed or device malfunctioning.
• Flashes every 45 seconds: Low battery condition
Learn/Test Button
• Press the button once to:
• Send a supervision / test signal.
• Check smoke detection chamber.
• Silence alarm.
• Press and hold the button for 10 seconds to enter calibration process. - IR Lens (SD-32-HM/-HM-SC only)
- Buzzer
- Battery Compartment
- Hooks
- Fixing Screw of Battery Comapartment Cover
- Mounting Bracket
- Mounting Holes
- Mounting Sheet
Features
Battery
- Three CR123 3V Lithium batteries are used to supply power to the Smoke Detector.
- The Smoke Detector has a foolproof mechanism which prohibits cover closure without first installing battery. Press down the tab and insert three new batteries into the compartment.
- When the Smoke Detector is low on battery, a low battery signal will be transmitted along with regular signal transmissions. The Orange LED will flash with accompanying low-volume beep once every 45 seconds.
- The Red and Orange LED will flash once every 4 seconds when the battery is exhausted.
<NOTE>
➡ When changing the battery, after removing the old battery, press the Test Button twice to fully discharge before inserting new battery.
Getting Started
Step 1. Put Control Panel into learning mode. Refer to Control Panel manual for details.
Step 2. Insert three CR123 3V Lithium batteries to power on the Smoke Detector. Orient the battery according to the battery compartment polarity before insertion.
Step 3. The Smoke Detector will emit 2 short beeps and begin warm up for 1 minute. The Red LED will flash every 2 seconds.
Step 4. During the 1 minute period, learn in the Smoke Detector.
For SC model (SD-32-HM-SC)
a. Press and hold the Learn/Test button for 3 seconds to transmit a Smoke/Temperature sensor learn code.
b. Press the Learn/Test button once to transmit an IR sensor learn code.
For non-SC model (SD-32/-H/-HM/-HM-SC)
a. Press the Learn/Test button once to transmit a learn code.
b. If the Control Panel receives the signal, the Smoke Detector will emit a 2 tone beep. Refer to Control Panel manual to complete learning process.
Step 5. When the Smoke Detector completes warm-up, it will emit a beep to indicate it has entered calibration mode. The calibration mode lasts for 1~9 minutes. The Red LED will continue to flash every two seconds during calibration. Learning the Smoke Detector is prohibited during this period.
Step 6. When calibration is completed, the Smoke Detector will emit 2 short beeps and turn off LED to return to normal mode. If the Smoke Detector is not learnt into panel previously, press the Learn/Test button now to complete learning.
Testing the Smoke Detector
By pressing the Test Button on the Smoke Detector, you can test if the Smoke Detector is functioning normally.
- If the Smoke Detector functions normally, the Red LED will be on for 2 seconds followed by a 2-tone beep
- If the buzzer sounds 2-tone beeps 3 times, the “Optical Chamber” on the Smoke Detector is either dirty or out-of-order
Test Mode for IR Function (SD-32-HM/-HM-SC only)
- The Smoke Detector can be put into Test mode by pressing the Test Button. Every time the Test Button is pressed, the Smoke Detector will transmit a test signal to the Control Panel for radio range test and enter the test mode for 3 mins. It will exit Test Mode automatically after 3 minutes and return to normal mode. In Test mode, the sleep timer is disabled, and the LED indicator will flash every time a movement is detected.
Supervision
The Smoke Detector will transmit a supervision signal to report its condition regularly according to user setting. The factory default interval is 30~50 minutes. The user can also press the Test Button once to transmit a supervision signal manually.
Temperature Detection
(SD-32-H/-HM/SD-32-HM-SC only)
- The Temperature Sensor measures temperature every 10 seconds, and transmits temperature reading to the Control Panel every 30~33 minutes.
- Users can also press the Test Button once to transmit current temperature reading manually.
Alarm Activation
The Smoke Detector will activate fire alarm when smoke detection is triggered. The models with heat detection will also activate alarm when high heat is detected. When an alarm is activated, the Smoke Detector will transmit alarm signal and raise alarm with its built-in buzzer.
Smoke Detection:
- The Smoke Detector checks smoke concentration every 8 seconds
- The alarm is activated whenever the smoke concentration exceeds the detection threshold, and will continue until the smoke concentration drops below alarm threshold.
- The Red LED will flash quickly during alarm.
Heat Detection: (SD-32-H/-HM/-HM-SC only)
- The Smoke Detector checks temperature every 10 seconds. The alarm will be activated in the following conditions:
– When the temperature rises by 8.25°C per minute (Rate of Rise).
– When the temperature exceeds 57.25°C (High Heat). - The Red LED will flash every second during alarm. The Smoke Detector will only stop alarming if the temperature drops below alarm threshold:
- If the alarm was triggered by Rate of Rise condition (8.25°C per minute or more), the temperature must drop to 4°C below highest temperature detected for the detector to stop alarming.
- If the alarm was triggered by High Heat condition (57.25°C), the temperature must drop below 49°C for the Smoke Detector to stop alarming.
- The Smoke Detector will transmit a restore signal if no smoke or high heat is detected for 160 seconds.
- If the alarm condition persists, the Smoke Detector will resend alarm signal every 2 minutes.
IR Detection: (SD-32-HM/-HM-SC only)
- The Smoke Detector will transmit signal to the Control Panel if any movement is picked up within the IR detection coverage. The buzzer will not sound and the LED will not flash. Please refer to your Control Panel for details.
Interconnection (SD-32-HM-SC only)
- The Smoke Detector is interconnected with other Smoke Detector in the alarm system. When a Smoke Detector activates alarm, the Control Panel will notify other Smoke Detectors to also raise alarm even if they have not detected smoke yet. The alarm length will be in accordance with the Control Panel’s setting.
- You cannot press the function button to silence alarm activated by other Smoke Detectors.
- Alarm will be restored only after 3 minutes timeout or until the other Smoke Detector which triggers alarm transmits a restore signal.
Alarm Silence
- When the Smoke Detector is alarming, pressing the Test button will put the Smoke Detector into Alarm Silence mode to silence the alarm for 9 minutes. The buzzer will only stop sounding after the alarm has been activated for at least 1-minute. If the button is pressed before alarm time reaches 1 minute, the Smoke Detector will wait until alarm time has reach 1 minute before silencing the alarm.
- During the 9-minute Alarm Silence period, the Red LED will flash once per second. The Smoke Detector will continue to monitor smoke concentration during the alarm silence period:
- After the 9-minute Alarm Silence period has expired, if the smoke concentration has dropped below alarm threshold, the Smoke Detector will emit a 2-tone beep and return to normal operation without sounding alarm.
- If smoke concentration still exceeds alarm threshold, the Smoke Detector will start alarming again.
- If smoke concentration continues to rise during Alarm Silence period and exceeds a second alarm threshold, the Smoke Detector will start alarming again. An alarm activated by exceeding the second alarm threshold could not be silenced by pressing the test button.
Recalibration
As the operation condition of the Smoke Detector may vary after being installed for some time, you may wish to recalibrate the Smoke Detector to take a new smoke detection threshold value and ensure optimal performance of the Smoke Detector. To do this:
- Press and hold the Test Button for 10 seconds and release when the Smoke Detector emits 2 beeps. The device will sound another beep after 5 seconds and begin calibration. The Red LED will flash every 2 seconds to indicate.
- Calibration process lasts 1~9 minute.
- When calibration is finished, the Smoke Detector will sound a two-tone beep. The Red LED will stop flashing to indicate it has returned to normal mode.
- If calibration fails, the Smoke Detector will beep continuously, and the Orange LED will flash every second. Please remove the battery, press the Test Button twice to fully discharge, and then reinsert the batteries to restart Smoke Detector.
Installation
Installation Guideline
- It is recommended that the installation site be in the center area of the ceiling.
- Do not locate the detector in the following locations:
• The Kitchen Smoke from cooking might cause an unwanted alarm.
• Near a ventilating fan, florescent lamp or air-conditioning equipment air drafts from them may affect the sensitivity of the detector.
• Near ceiling beams or over a cabinet stagnant air in these areas may affect the sensitivity of the detector.
• In the peak of an “A” frame type of ceiling.
Installation Recommendation

- It is recommended to install the Smoke Detector in the following locations.
• In a ceiling area with full view of its detection coverage unobstructed by appliances and furniture.
• Near the entrance of a room or house to monitor entry activity. - Limitations
• Do not install the Smoke Detector exposed to direct sunlight.
• Avoid installing the Smoke Detector in areas where devices may cause rapid change of temperature in the detection area, i.e. air conditioner,
• Avoid large obstacles in the detection area.
• Do not pointing directly at sources of heat e.g. Fires or boilers, and not above radiators.
• Avoid moving objects in the detection area i.e. curtain, wall hanging etc. - Press the Test Button to enter Test Mode. Walk around the protected area noting when the LED lights up and check that the detection coverage is adequate.
- When detection coverage is found to be satisfying, installation is now completed.
Mounting the Smoke Detector
Step 1. Insert three CR123A Lithium Batteries. Orient the batteries according to the battery compartment polarity indication. If the batteries are not installed, the battery compartment could not be closed and the Smoke Detector could not be installed.
Step 2. After the batteries are inserted, the Smoke Detector will emit 2 short beeps and begin warm up process for 1 minute. The LED will flash every 2 seconds. When the warm-up process is complete, the smoke detector will emit 2 short beeps and turn off LED to return to normal mode.
Step 3. Before you install the device, press the Test Button to test if the Smoke Detector is functioning normally. Double check if the Red LED is on for 2 seconds followed by a 2-tone beep.
Step 4. Place the Smoke Detector at desired mounting location.
Step 5. Take out the mounting sheet included in the package. The picture’s size equals the Smoke Detector’s actual size and the perforated design allows for easy tear-off after installation.
Step 6. Position the sheet tight against the ceiling and use the four holes as template to drill holes and insert wall plugs if required.
Ensure the wall plugs are flush with the mounting surface.
Step 7. Place the mounting bracket on top of the mounting sheet and screw it onto the wall.
Step 8. The Smoke Detector has 4 hooks on its back cover. Hold the Smoke Detector with extra care and align the 4 notches on the mounting bracket with the 4 hooks.
Step 9. Rotate clockwise to lock the hook.
Step 10. Installation is now complete. You can now tear off the mounting sheet.
- The Smoke Detector is designed to be mounted on the ceiling. The ideal mounting height for the Smoke Detector is 3 meters.
Mounting above 3 meters can affect detection performace. (SD-32-HM/-HM-SC only) - The Motion Detector provides detection coverage of a 360° circle with 6 meters in diameter. Please refer to below figures for the installation details

- When mounted on the ceiling, the PIR has better detection performance against horizontal movement.

Federal Communication Commission Interference Statement
This equipment has been tested and found to comply with the limits for a Class B digital device, pursuant to Part 15 of the FCC Rules. These limits are designed to provide reasonable protection against harmful interference in a residential installation.
This equipment generates, uses and can radiate radio frequency energy and, if not installed and used in accordance with the instructions, may cause harmful interference to radio communications. However, there is no guarantee that interference will not occur in a particular installation. If this equipment does cause harmful interference to radio or television reception, which can be determined by turning the equipment off and on, the user is encouraged to try to correct the interference by one of the following measures:
. Reorient or relocate the receiving antenna.
. Increase the separation between the equipment and receiver.
. Connect the equipment into an outlet on a circuit different from that to which the receiver is connected.
. Consult the dealer or an experienced radio/TV technician for help.
FCC Caution: To assure continued compliance, any changes or modifications not expressly approved by the party responsible for compliance could void the user’s authority to operate this equipment. (Example use only shielded interface cables when connecting to computer or peripheral devices).
FCC Radiation Exposure Statement
This equipment complies with FCC RF radiation exposure limits set forth for an uncontrolled environment. This equipment should be installed and operated with a minimum distance of 20 centimeters between the radiator and your body.
This transmitter must not be co-located or operating in conjunction with any other antenna or transmitter.
The antennas used for this transmitter must be installed to provide a separation distance of at least 20 cm from all persons and must not be co-located or operating in conjunction with any other antenna or transmitter.
This device complies with Part 15 of the FCC Rules. Operation is subject to the following two conditions: (1) This device may not cause harmful interference, and (2) This device must accept any interference received, including interference that may cause undesired operation.





















