BEGA 50491.5 Ceiling Luminaire Downlight for Indoor Use Instruction Manual
Instructions for use

Application
Ceiling luminaire downlight · Indoor luminaire with symmetrical very wide beam light distribution. With BEGA Hybrid Optics® : Highly efficient and low-loss light distribution, thanks to reflector and optical lens.
Product description
- Ceiling luminaire downlight »GENIUS«
- Die-cast aluminium housing,
- Colour velvet black finish
- Trim ring · Chrome finish
- Clear safety glass
- Optical silicone lens · BEGA Hybrid Optics®
- Reflector surface made of pure aluminiumb 2 mounting holes ø 4.5mm
- Distance apart 153mm
- Connecting terminals 2.5@
- Earth conductor connection
- LED power supply unit 220-240 V x 0/50-60 Hz
- DC 170-276 V
- DALI-controllable
- Basic insulation is provided between the mains and control cables
- BEGA Thermal Switch® Temporary thermal shutdown to protect temperature-sensitive components
- Safety class I
Safety mar c
Conformity mark- Weight: 2.2 kg
- This product contains light sources of energy efficiency class(es) D
Safety
The installation and operation of this luminaire are subject to national safety regulations. Installation and commissioning may only be carried out by a qualified electrician. The manufacturer accepts no liability for damage caused by improper use or installation. If subsequent modifications are made to the luminaire, the person responsible for these modifications shall be considered the manufacturer.
Overvoltage protection
The electronic components installed in the luminaire are protected against overvoltage in accordance with DIN EN 61547. To achieve an additional protection against e.g. transients, etc. we recommend separate overvoltage protection components. You can find them on our website at www.bega.com.
Module connected wattage: 25 W
Luminaire connected wattage: 27.6 W
Rated temperature: ta=25 °C
Ambient temperature: ta max=45 °C
Module designation: LED-0785/830
Colour temperature: 3000 K
Colour rendering index: CRI > 80
Module luminous flux: 4365 lm
Luminaire luminous flux: 3426 lm
Luminaire luminous efficiency: 124,1 lm/W\
LED are high-quality electronic components! Please avoid touching the light output opening of the LED directly during installation or relamping.
Please note:
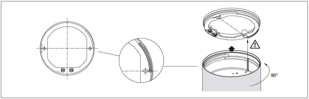
If the luminaire is to be mounted onto a metallic, electroconductive surface, it is mandatory to make sure that the mounting surface is connected conductive to the earth conductor of the luminaire! Lead the power connecting cable through the
mounting plate. Fix the mounting plate with enclosed or any other suitable fixing material onto the mounting surface.

To ensure secure connection, the luminaire housing must be positioned precisely in relation to the mounting plate. Make sure that the vertical bar inside the luminaire housing is positioned precisely in the area of the mounting hole on the long bar of the mounting plate. Press the luminaire housing firmly against the mounting plate and turn it clockwise firmly against the stop.
Clean luminaire regularly with solvent-free cleansers from dirt.
The designation of the LED module is noted on a label in the luminaire. The light colour and light output of BEGA replacement modules correspond to those of the modules originally fitted. The module can be replaced by qualified persons using standard tools. Disconnect the electrical installation. Open the luminaire. Please follow the installation instructions for the LED module. Close the luminaire.
Glass/Trim ring: 20 000 089M
LED power supply unit: DEV-0391/500
LED module 3000 K: LED-0785/830
Reflector unit: 76 001 615 .1M












