MAXVIEW B2414 Gazelle Pro Omnidirectional UHF Mobile TV Aerial

UK contact:
Helpline: +44 (0) 1553 811000
Email: [email protected]
Web: www.maxview.co.uk
Maxview reserve the right to change specifications without prior notice
Thank you for purchasing this product, we trust that you will get many years of enjoyment with this product. Should you have any difficulty using your Gazelle Pro please contact our friendly Customer Helpline on
+44 (0)1553 811000 or email [email protected]. Please retain these instructions for future reference.
General Safety Warnings
Read these instructions carefully and become familiar with your Maxview product. Understand the application, limitations and any hazards involved with the installation and operation.
Failure to follow all instructions may result in damage to your vehicle and/or serious injury. Maxview declines all responsibility in the event of incident or accident if they are due to a non observation of the installation instructions or the way the product is used.
No modifications to the product are permissible.
Installation
- Always consider the additional height the product you install adds to the vehicle
- Always follow manufacturers operating instructions before using tools and equipment
- Take care when working at heights. Keep work area clean and tidy to avoid trip hazards
- Use creeper boards where necessary to ensure roof construction can support your weight
- Always use a recommended flexible adhesive for sealing/bonding the product to a vehicle roof and refer to the manufacturer’s instructions for application and curing times. We always recommend that you do not travel until the curing times have been met.
- All electrical work should be carried out by a competent person Operation
- The maximum speed of vehicle with product mounted on roof is 81mph (130km/h)
Servicing & Support
- Any inspection or repair must be carried out by Maxview or an appointed representative of the manufacturer
- No regular maintenance required on the product
- Do not dismantle product
- Do not use solvent or abrasive cleaning agents on the product
- Only use a suitable mild detergent to clean the product
- Do not pressure wash the product
- We recommend you check the mechanical integrity of a roof mounted product at least once a year
- If in the event that you do experience a problem with the product call Maxview Customer Service +44 (0)1553 811000
For Variable Signal Booster
- This booster is only suitable for vehicles with a negative chassis earth
- Disconnect battery before starting installation
- Do not install appliance where it could be exposed to dripping or splashing water
- For indoor use only
Tools required
- Pozidriv (No.2) Screwdriver
- 2mm Drill Bit
- Power Drill
- 22mm Hole Saw
- 4mm Allen Key / Hex Bit
- Knife
- Cleaning Cloth
Other
You will also require a suitable silicone adhesive for use between the Mounting Foot and mounting surface. We recommend Sikaflex 521/522 Caravan.
Use of a torque wrench is optional when installing the Foot Mounting Bolts.
Product contents

- A. Antenna Head Unit
- B. Mounting Foot with integrated 5 Metre Coaxial Cable
- C. Variable Signal Booster
- D. 1m F to Coaxial Flylead
- E. Fused Power Cable
- F. Clamping Tool
- G. F Connector
- H. Roof Fixing Screws
- I. Foot Mounting Bolts
- J. Roof Clamp Screw
For B2415 models the kit will also include a 230/240V transformer.
Installation

Fit Mounting Foot
Choose a fixing method that best suits your requirements. Where possible, we always recommend the use of the Roof Fixings Screws (method A) and the clamping tool if possible.
- Wet seal with screw fixings (No roof depth limit)

- Wet seal with Clamping Tool (No screws required – Roof depth limit 19-40mm)

- Choose a location, ensure the antenna is positioned on a flat surface and is clear from obstructions.
Use the template (page 24) and drill 5 2mm holes. Use hole position (Y) as a pilot hole to drill a larger 22mm hole. Clean up hole, ensuring the location of the Mounting Foot is clean and clear from debris and dirt.
- Choose a location, ensure the antenna is positioned on a flat surface, and is clear from obstructions. The roof depth must be between 19 and 40mm.
Use the template (page 24) and drill a 2mm pilot hole in position (Y). Drill this hole out to a larger 22mm hole. Clean up hole, ensuring the location of the Mounting Foot is clean and clear from debris and dirt.
- Apply sealant generously to the wet seal channel, ensuring the bead is consistent in size with no gaps.
- Thread the Coaxial Cable through the hole in the roof, position the Mounting Foot and press down firmly.
Wipe away any excess sealant with a cloth, ensuring a watertight seal has been achieved.
- Use the 4 Roof Fixing Screws, secure the Mounting Foot to the vehicle roof.

- From inside the vehicle, screw the Foot Clamp into the Mounting Foot underside and turn anti-clockwise until tight.
Ensure the Head Unit has stayed in the correct orientation when tightening and secure Foot Clamp with the Foot Clamp Screw.
- Optional: If your roof thickness is between 19-40mm, you can screw the Foot Clamp into the Mounting Foot underside to cover the hole inside the vehicle.

Turn anti-clockwise until tight and secure Foot Clamp with the Foot Clamp Screw.
- Allow the Flexible Adhesive to cure as per the manufacturers guidelines before travel.
Installing the Antenna Head Unit

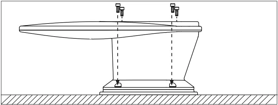
Place the Antenna Head Unit onto the Mounting Foot. Tighten the 4 Foot Mounting Bolts by hand with an Allen Key.
We recommend the use of a Torque Wrench set to 3.5Nm.
Cable Routing

Route Coaxial Cable (B) inside vehicle to Variable Signal Booster which should be located near your TV/Receiver. Note cable can be shortened to suit application.
Fitting an F Connector (Optional)
If you decide to shorten the cable please see below method of preparing cable.
- Cut cable to required length. Strip away 12mm of outer insulation. Gather strands of screening braid, twist together and wind back around outer insulation. Cut foil to be flush with outer insulation.
- Strip away 10mm of inner insulation around the inner wire. Check none of the screening braid is touching the inner copper wire.
- Cut off inner copper wire to extend 3mm beyond plug body.

Using Variable Signal Booster

Connections & features
- A. 12/24V power input
- B. On/off power switch
- C. Wall fixing hole
- D. Antenna input
- E. TV/Radio output 1
- F. TV/Radio output 2
- G. Gain control knob
- H. LED power indicator
Operation
- Slide power switch to the right. The LED indicator should now be on.
- Turn the gain control knob clockwise to increase signal strength.
Power source methods
- 12/24V DC* (Fused Power Cable included for12/24V wiring)
- 12/24V DC PSU Output (230V PSU)
Mounting Option
Can be mounted to vehicle shelving or side panels using the 2 screws provided.
Note:
Before drilling always check for hidden electrical wires or plumbing.

Q & A’s Fault Finding
- have no picture on my TV or the picture is breaking up/freezing?
- Ensure all connections are correct
- Ensure the Variable Signal Booster power LED is on
- Try adjusting the gain control on the Variable Signal Booster (turn to right to increase gain.
We suggest you start with 100% gain and reduce if in a high strength area) - To maximise the number and quality of channels found, you will need to retune your TV/Freeview box when changing locations, the aerial is likely to be picking up channels from different transmitters
- Power LED is not lit on my Variable Signal Booster
- Ensure power switch is in the on position
- Ensure the power source is connected correctly
- Check the inline fuse in the power cable
- Should I be using the Variable Signal Booster (VSB) in Line with my Gazelle Pro?
We recommend always using the VSB in-line as this will boost the signal quality significantly. However, in some areas where the signal strength is good, it may not be necessary to use the VSB - Can I change the length of the cable supplied with my Gazelle Pro?
- Yes, you can shorten the cable by cutting it to the required length and refitting the F connector. Details on how to fit the F connector on page 15
- You can lengthen the cable by using a back to back connector and some additional F cable or a flylead
- Please note, longer cable may introduce signal losses and reduce signal quality
- How should I clean my Gazelle Pro. Do I need to carry out any maintenance?
- The Gazelle Pro has been designed to be maintenance and trouble free
- If you do wish to clean your Gazelle Pro, use a sponge with mild soap and a minimal amount of water
- Never use a powerful flow of water, power washer or solvents to clean
Support, terms & conditions
All instructions and models are subject to change. In accordance with policy of progressive product, the company reserve the right to alter specifications.
Recycle packaging where facilities exist.
2 year guarantee
The Maxview Gazelle Pro is guaranteed against defective parts or workmanship for 2 years from the time of purchase. This excludes any malfunction caused by improper use, accidental or malicious damage. This does not affect your statutory rights. Please keep your receipt of proof of purchase.
Gazelle Pro Specifications
- Compatibility: SD, HD, 3D and 4K TV and DAB radio
- Frequency Range: Wideband for UHF TV and DAB radio
- Gain: Up to 19dB with Variable Signal Booster
- Power: Requires 12/24V or 230V (subject to variant) to power Variable Signal Booster
- Mounting: Flexible Adhesive Sealant and screws or Flexible Adhesive Sealant only
- Housing: ASA
- Aerial Height: 145mm
- Aerial Weight: 1.1kg
Variable Signal Booster Specifications
- Compatibility: Digital TV and DAB radio
- Frequency Range: Wideband for UHF TV and VHF radio
- Power Supply: 12/24 DC (Included)
- Power Consumption: Low (50mA)
- Inputs: 1
- Outputs: 2
- Variable Gain: 0 – 19dB
- Noise: 3.5dB
- Product Dimensions: H 51 x W 142 x D 31.5mm
Fixing template







Ensure the Head Unit has stayed in the correct orientation when tightening and secure Foot Clamp with the Foot Clamp Screw.


















