EBA 5300 C Paper shredder

Intended use
Please ensure to read this operating manual befor starting the machine for the first time and please strictly follow the safety instructions mentioned herein. This manual must be available at any time.
Intended use
- This document shredder is intended for shredding paper.
- The hardened solid steel blade shafts are insensitive to small amounts of paper clips and staples.
- Depending on the device model, small amounts of CDs, credit and customer cards as well as discs can also be shred. Visit www.krug-priester.com to find out whether your device, because of the output and cutting geometry, is also suitable for shredding these data carriers.
Safety precautions
- Take care of long hair!

- Do not grasp into the cutting mechanism!
Take care of ties and other loose pieces of clothing!
- No operation by children!
This device is not suited for use at locations where children might be present!
- Do not destroy accumulators/batteries!

- Do not use any spray cans with flammable content near to the document shredder

- Warning, moving parts!

- Do not use any flammable cleaning agents

- Do not share metal parts!

- This machine is designed for one-man operation only

- Hazardous machine parts are covered by panels (A).

- No operation without the following safety devices:
- Covering Panels (A) tightly screwed
- Cover (B) and door (C) which are secured by switches.

- Machine operates only when the door and cover are closed

- Remove the main plug before cleaning the machine ! Do not carry out your own repairs on the paper shredder ! (See page 29)

- Do not shred materials forming loops and splintering.

- Fold up the table

- Insert the enclosed plastic bag in the waste cart.

- Protect main cable against heat, oil and from sharp edges !

- Close the door. Plug into the wall socket

- Main fuse

Operation
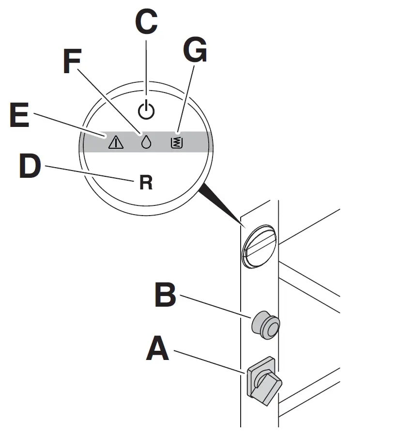
Operating elements
- A Main switch (lockable)
- B Emergency Stop
- C Start/Stop button
- D Reverse button
- E Warning triangle (indicator icon)
- F Droplet (oil system indicator icon)
- G Shred bag full (indicator icon)

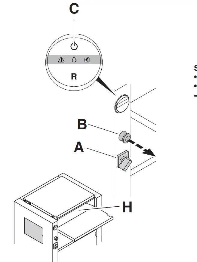
Switching the machine on
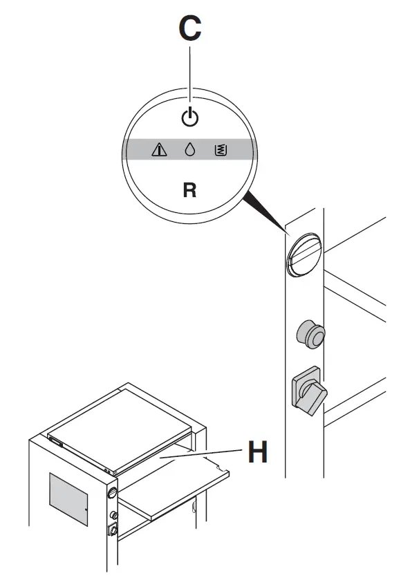
- Emergency Stop (B) is pulled out.
- Main switch (A) is set to “I ON”.
- The Start/Stop button (C) is lit up in green, the internal workspace (H) is illuminated.
The machine is ready for operation.
- The Start/Stop button (C) is lit up in green, the internal workspace (H) is illuminated.

Installing the oil reservoir:
- Mount the bracket for the oil reservoir onto the rear of the panelling (I).
- Take the lid off the oil reservoir (J).
- Remove the plastic bag from the oil hose (K).
- Insert the oil hose into the oil reservoir and screw on. Place the oil reservoir (L).
- The oil reservoir has a level indicator (M).

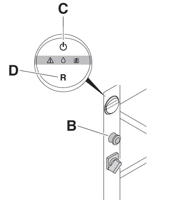
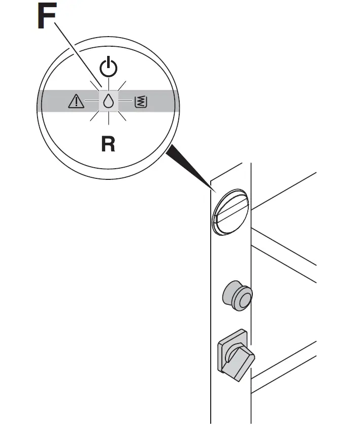
Upon initial operation and when the oil reservoir has been replaced:
- Emergency Stop (B) is pulled out.
- Mains switch (A) is set to “I ON”.
- The Start/Stop button (C) lights up in green and the red droplet (F) flashes.
The internal workspace (H) is illuminated.- Press and hold down the Reverse button (D) until the red droplet (F) stays illuminated, then release it. Once the red droplet (F) turns off (this can take up to 1 min.), the oiler system is ready for operation.
If the red droplet (F) flashes again after this, repeat the process (→).
- Press and hold down the Reverse button (D) until the red droplet (F) stays illuminated, then release it. Once the red droplet (F) turns off (this can take up to 1 min.), the oiler system is ready for operation.

Check the rotating direction
Starting the machine

Is the wing shaft turning in the wrong direction
→Changes to the rotating direction must be done by an electrician

Note:
When forward running is active and the machine itself is not operated within 30 min, the forward running will be de-activated automatically.

Stopping the machine
Press the Start/Stop button (C) or the Reverse button (D) or the Emergency Stop button (B).

Automatic start/stop when feeding paper from the front (photo cell).

Automatic stop when machine is overloaded with paper
- The machine reverses and starts up again automatically.
- If the added paper is still not shredded, the Start/Stop button (C, green) flashes.
→ If necessary open the cover (N). Add less paper, close the cover and restart

Automatic stop when shred bag is full
- Icon (G) “shred bag full” flashes yellow, alternating with the Start/Stop button (C, green)
→Replace the shred bag.

Fasten the bag.

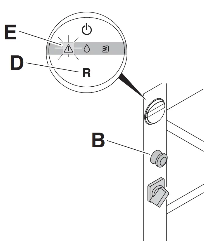
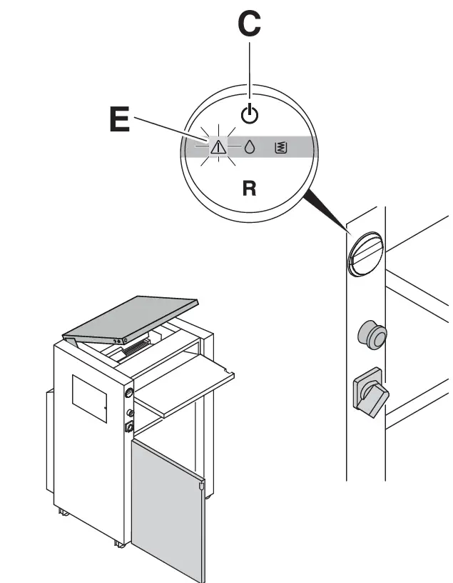
Red warning triangle (E) flashes, alternating with the Start/Stop button (C, green)
→Door/cover is open

Red warning triangle (E) flashes, alternating with the Reverse button (D, red)
→Emergency Stop (B) is pressed

Oil droplet (F) flashes red
→Oil reservoir is empty

Energy-saving mode
If the machine is not operated within 30 min. (just ready for operation), it switches to energy-saving mode.
→The green light of the Start/Stop button (C) is dimmed down and the internal workspace light (H) turns off. Press the Start/Stop button (C) to get the machine ready for operation once again.

Quick stop →press Emergency Stop (B)!

Switch off if not in use for a long period. Turn the main switch (A) to the “0 OFF” position.

Possible malfunctions

Machine will not start

Is the machine plugged in?

Door open, cover open?

Main switch is on “I”,
Emergency button is pulled out

Plastic bag full?→ Replace bag.

Is the paper fed into the centre of the feed opening (photo cell)?

Check fuse-box of the building?

Ready for operation? Is the Start/Stop button (C) illuminated in green colour?

No performance? →An electrician must examine the phases

Machine will not stop
Remove plug. Clean the photo cell with a small brush.

Automatic stop when overloaded
The Start/Stop (C) and Reverse button (D) flash alternately red/green.
→Overload protection
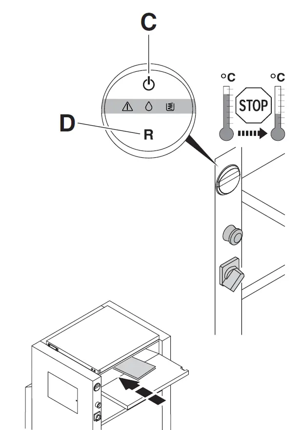
- Motor overheating
- Motor protection
After the cooling phase, the machine is once again ready for operation.
The Start/Stop button (C) lights up green.

Did none of the specified solutions help you with your problem?
→Contact: Service
Accessories
Recommended accessories
Not included in delivery

Plastic bags (50 pieces) No. 9000 030

Environmentally friendly oil 5 x 1,0 l 9000 621

Wire twisting tool No. 9000 591

Binding wire (1000 pieces) No. 9000 592
Technical Information

400 V, 3P+N+PE,16 A; 220 V, 3P+PE, 20A For warranty claims it must be possible to identify the machine by the nameplate.
The immission value specific to the workplace is less than the permitted value of 70 dB(A) admitted in standard EN 13023. Subject to technical modifications.

The company Krug + Priester has the following certifications:
- Quality management system according to DIN EN ISO 9001:2015
- Environmental management system according to DIN EN ISO 14001:2015
- Energy management system according to DIN EN ISO 50001:2018
EC-declaration of conformity
- Herewith we declare that
5300 C GS-ID No. 11460502 UL-ID No. 10460502 - complies with the following provisons applying to it
2006/42/EG EC Machinery directive
2014/30/EG EMV Electromagnetic compatibility directive - Applied harmonised standards in particular
EN 60204-1; EN 55014-1; EN 55014-2; EN 61000-3-2; EN 61000-3-3;
EN ISO 12100; EN ISO 13857; EN 13023; EN 13849-1; EN 1010-1;
BS EN 55014-1; BS EN 55014-2; BS EN 61000-3-2; BS EN 61000-3-3;
BS EN 60204-1; BS EN 13023; BS EN 13849-1; BS EN 13857-1; BS EN ISO 12100
Authorized representative for technical documentation
Krug & Priester GmbH & Co. KG
Simon-Schweitzer-Str. 34
D-72336 Balingen (Germany)
Geschäftsführer
Document Shredders

Trimmers and Guillotines

Krug & Priester GmbH & Co. KG
Simon-Schweitzer-Str. 34
D-72336 Balingen (Germany)
www.krug-priester.com


Take care of ties and other loose pieces of clothing!

























