AUTELO W3700-1 BK 1-Light Brass Black Vanity Light Instruction Manual
Assembly & Installation Instructions
CAUTION: Read instructions carefully and turn electricity off at main circuit breaker panel before beginning installaion.
WARNING-If any special control devices are used with this fixture. follow the instructions carefully to assure full compliance with N.E.C. requirements. If there are any questions, contact a qualified electrical contractor
WARNING-This product contains chemicals known to the State of California to cause cancer, birth defects, and/or other reproductive harm, Thoroughly wash hands after installing. handling. cleaning or otherwise touching this product.
CAUTION-All glass in fragile, use care when handling glass component(s)and or lamp(s).istallation has to be made by a qualified / registered electrician.
ASSEMBLY STEPS
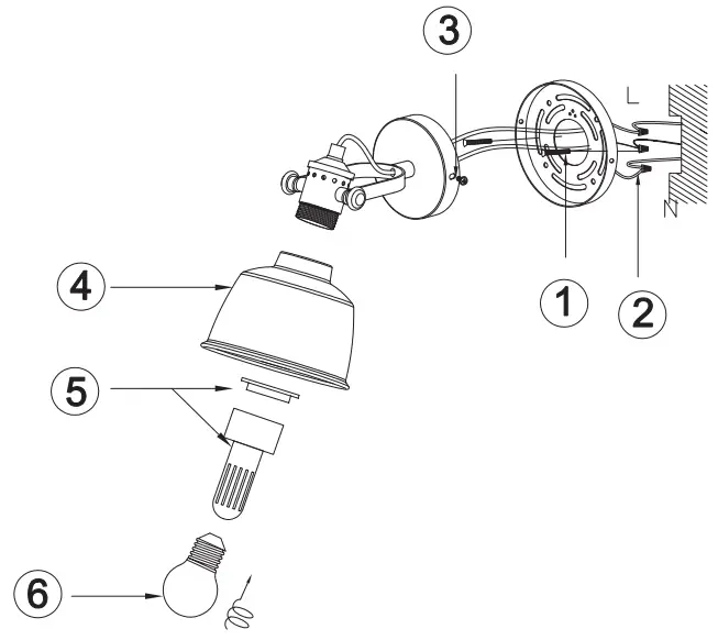
- Install the mounting plate on the junction box.
- Connect the power cord.

- Fix the base to the mounting plate by fix nut.
- Install the metal shade. .
- Use the parts to install the socket ring .
- Install the bulb (Not included).























