
BEAMZ
MADE EAZY
STROBEMOON
153.694 V1.0
LIGHTBOX 7

User Manual
SAFETY INSTRUCTIONS
WARNING! Before carrying out any operations with the unit, carefully read this instruction manual and keep it with care for future reference. It contains important information about the installation, usage and maintenance of the unit.
- Unpack and check carefully that there is no transportation damage before using the unit
- Please read these instructions carefully and follow the instructions.
- Observe all safety warnings. Never remove safety warnings or other information from the equipment.
- Be sure that no ventilation slots are blocked; otherwise the unit will overheated.
WARNING ! Before connecting the equipment to the power outlet, first verify that the mains voltage and frequency match the values specified on the equipment. If the equipment has a voltage selection switch, connect the equipment to the power outlet only if the equipment values and the mains power values match. If the included power cord or power adapter does not fit in your wall outlet, contact your electrician. - After connecting the unit, check all cables in order to prevent damage or accidents, e.g., due to tripping hazards.
- Make sure that the power cord is never crimped or damaged. Check the unit and the power cord from time to time.
- Always disconnect power from the mains, when unit is not used or before cleaning! Only handle the power cord by the plug. Never pull out the plug by tugging the power cord.
- Unplug the power cord and power adapter from the power outlet if there is a risk of a lightning strike or before extended periods of disuse.
- Do not switch the unit on and off in short intervals.
- Do not connect the unit to a dimmerpack.
- Install the unit in a well ventilated place.
- Never place any material over the lens.
- Never let the sunlight lights directly to the front lens , even when the unit is not working.
- Always allow free air space of at least 50 cm around the unit for ventilation.
- Make sure that the area below the installation place is blocked when rigging, derigging or servicing the unit.
- For mounting height >100 cm, always fix the unit with an appropriate safety-rope. Fix the safety-rope at the correct fixation points only. The safety-rope must never be fixed at the transport handles!
- Never look directly at the light beam. Please note that fast changes in lighting, e. g. flashing light, may trigger epileptic seizures in photosensitive persons or persons with epilepsy.
- This unit is not designed for permanent operation. Consistent operation breaks will ensure that the unit will serve you for a long time without defects.
WARNING! If the power cord of the unit is equipped with an earthing contact, then it must be connected to an outlet with a protective ground. Never deactivate the protective ground of a power cord. - Make sure that the unit is not exposed to extreme heat, moisture or dust.
- Clean the unit using a dry cloth.
- Do not touch the unit bare-handed during its operation (housing becomes very hot). Allow the unit to cool for at least 5 minutes before handling.
- This unit is designed exclusively for indoor use, do not use this equipment in the immediate vicinity of fluid (does not apply to special outdoor equipment – in this case, observe the special instructions noted below). Do not expose this unit to flammable materials, fluids or gases.
- If the unit has been exposed to drastic temperature fluctuation (e.g. after transportation), do not switch it on immediately. The arising condensation water might damage your unit. Leave the unit switched off until it has reached room temperature.
- Never attempt to bypass the thermostatic switch or fuses.
- Do not dismantle or modify the unit.
- For replacement use fuses/bulb of same type and rating only.
- Repairs, servicing and electric connection must be carried out by a qualified technician.
- The ambient temperature must always be between -5° C and +45° C.
- If this unit is operated in any other way, than the one described in this manual, the product may suffer damages and the warranty becomes void.
- Plastic bags must be kept out of reach of children.
- Unit must be installed out of the reach of children. Never leave the unit running unattended.
This symbol on the product or on its packaging indicates that this product shall not be treated as household waste. Instead it shall be handed over to the applicable collection point for the recycling of electrical and electronic equipment.
By ensuring this product is disposed of correctly, you will help prevent potential negative consequences for the environment and human health, which could otherwise be caused by inappropriate waste handling of this product. The recycling of materials will help to conserve natural resources. For more detailed information about recycling of this product, please contact your local Civic Office, your household waste disposal service or the shop where you purchased the product.
UNPACKING INSTRUTION
CAUTION ! Immediately upon receiving the product, carefully unpack the carton, check the contents to ensure that all parts are present, and have been received in good condition. Notify the shipper immediately and retain packing material for inspection if any parts appear damage from shipping or the package itself shows signs of mishandling. Save the package and all packing materials. In the event that the product must be returned to the factory, it is important that the product be returned in the original factory box and packing.
If the unit has been exposed to drastic temperature fluctuation (e.g. after transportation), do not switch it on immediately. The arising condensation water might damage your unit. Leave the unit switched off until it has reached room temperature.
POWERSUPPLY
On the label on the backside of the unit is indicated on this type of power supply must be connected. Check that the mains voltage corresponds to this, all other voltages than specified, the light effect can be irreparably damaged. The product must also be directly connected to the mains and may be used. No dimmer or adjustable power supply.
WARNING ! Always connect the unit to a protected circuit (circuit breaker or fuse). Make sure the unit has an appropriate electrical ground to avoid the risk of electrocution or fire.
RIGGING
The unit may be set up on a stable and even surface. By means of the fixing facilities of the baseplate, the unit can also be mounted upside down to a truss, see below picture. For fixing, certified clamps with correct save working load are required. The mounting place must be of sufficient stability and be able to support a weight of 10 times of the unit’s weight. Secure the unit with a safety cable so that it cannot fall down.
When carrying out any installation, always comply European and national guidelines concerning rigging, truss and all other safety issues. Always let the installation checked out by an authorized dealer ! 
DMX512 CONTROL
If you are using a standard DMX controller, you can connect the DMX output of the controller directly to the DMX input of the first unit in a DMX chain.
Always connect the output of one unit with the input of the next unit until all units are connected.

CAUTION!At the last unit, you must close the DMX line with a terminating resistor. Take an XLR connector and solder a 120 Ohm resistor between signal (-) and signal (+) and connect it to the DMX output of the last unit in the line. 
REMOTE CONTROLLER
BLACK OUT MODE
Press <BLACK OUT> off existing modes.
Press <BLACK OUT> return the last modes.
AUTO MODE
Automatic mode will enable you to run the automatic programs on the product. To turn on Automatic mode:
- Press <AUTO> on the remote controller.
- Press (4.> or e> to choose between the different auto programs.
SOUND MODE
Sound-Active mode will enable the product to respond to the music. To turn on Sound-Active mode:
- Press (SOUND) on the remote controller.
- Press 0> or e> to choose between the different sound programs.
STROBE MODE
To adjust the strobe speed of the automatic program and the sound active program.
- Press (STROBE) on the remote controller.
- . Press tot or e> to either increase or decrease the speed of the program.
- Press (STROBE) again to turn off the strobe.
SPEED MODE
To adjust the speed of the automatic program and the sound active program.
- Press (SPEED) on the remote controller.
- Press 0> or e> to either increase or decrease the speed of the program.
SENSITIVITY MODE
To adjust sound sensitivity for in Sound-Active mode
- Press <SENSITIVITY> on the remote controller.
- Press tot or e> to either increase or decrease sound sensitivity.
DMX / % MODE
To enable DMX or disallow DMX on the product Press <MIX> on the remote controller. the product work on the DMX controlling modes. MANUAL MODE
- Press <MANUAL> on the remote controller.
- Press <R>. (6), <B>. (It. (A>. (P) (red. green. blue. white. amber or purple) to choose your colour.
- Press again db. (6). (B). (14>. (P) (red. green. blue. white. amber or purple) to close your colour.
- Press e> or e> to either increase or decrease the percentage of each colour.
FADE/UNIT MODE
To adjust the FADE speed of the automatic program. the sound active program and the manual mode.
- Press <FADE> on the remote controller.
- Press <FADE> again to turn off the Fade mode.

NUMBER1-9
To adjust the brightness value of the automatic program, the Sound active program and Manual Mode.
Press digit to 1 to 9 change different brightness on the device.
CAUTION! The remote control is supplied with a battery inserted. An insulating foil between the battery and the battery contacts prevents the battery from being discharged during storage. Prior to the first operation remove the foil from the battery support on the rear side of the remote control.
Otherwise operation of the remote control is not possible.
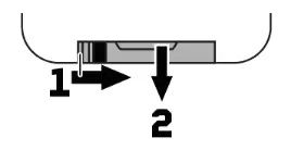
If the range of the remote control decreases, replace the battery. For this purpose, on the rear side of the remote control press the small bar with the groove to the right (1) and at the same time remove the battery support (2). For operation, one 3 V button cell type CR 2025 is required. When inserting, pay attention that the positive pole of the
button cell shows upwards in the support. 
CLEANING
The buildup of dust, dirt and other airborne particles will reduce the unit’s light output. It will also prevent the unit from cooling correctly, and this will reduce the unit’s lifetime. The rate of dirt buildup will vary depending on environmental factors such as airborne dust, use of smoke machines, airflow from ventilation systems, etc. The unit’s cooling fans will accelerate buildup, and any smoke particles that are present in the atmosphere will increase the tendency for dirt to clog.
To get the best performance and lifetime from the unit, inspect it regularly and clean it as soon as you see signs of dirt buildup.
Assess the operating environment each time you begin to use the unit. In dusty or smoky conditions, inspect the unit after a few hours and check it frequently the unit may attract dirt faster than you expect. Draw up a cleaning schedule that will make sure that dirt is removed before it can build up.
Use the following guidelines:
- Disconnect the unit from power and allow it to cool completely before cleaning.
- Do not use solvents, abrasives or any other aggressive product to clean the unit.
- Vacuum or use low-pressure compressed air to remove dust and loose particles from surfaces and air vents. Prevent the blades of cooling fans from turning before you aim a vacuum or air jet at the fan, or you may spin the fan too fast and damage it.
- Clean glass components by wiping gently with a soft, clean, lint-free cloth moistened with a weak detergent solution. Put the solution on the cloth and not on the surface to be cleaned. Avoid rubbing glass surfaces.
- Dry the unit with a soft, clean, lint-free cloth or low-pressure compressed air before reapplying power.
REPLACING THE FUSE
If the fuse is defective, replace the fuse with a fuse of the same type and value. Before replacing the fuse, unplug mains lead.
Procedure:

Step 1: Open the fuse holder on the rear panel with a fitting screwdriver.
Step 2: Remove the old fuse from the fuse holder.
Step 3: Install the new fuse in the fuse holder.
Step 4: Replace the fuse holder in the housing.
TROUBLE SHOOTING
The checklist below may help you troubleshoot in the unlikely event that a problem occurs while using the product:
| SYMPTOM | POSSIBLE CAUSE | SUGGESTED ACTION |
| No response from unit. | No power to unit. Fuse blown or internal fault. | Check that power is turned on. Check cables and connections. Replace mean fuse or contact Beamz support or Beamz authorized service partner. Do not remove base or yoke covers. Do not attempt to replace a fuse or carry out any repairs or service that are not described in this User Manual unless you have both authorization from Beamz support or Beamz authorized service partner. |
| Unit resets correctly but does not respond (or does not respond correctly) to the controller. | The controller is not connected. Bad DMX-line. DMX-line has no end resistance. Incorrect unit addressing. A unit is defective and is disturbing data transmission on the DMX-line. Pin 2 and 3 are reversed in XLR connection. | Connect controller. Inspect connections and cables. Correct poor connections. Repair or replace damaged cables. Insert DMX terminator plug in DMX output socket of last unit on DMX-line. Check unit address and DMX mode settings. Unplug DMX IN and OUT connectors and connect them directly together to bypass one unit at a time until normal operation is regained. Have defective unit serviced by an authorized technician. Inspect connections and cables. Install a phasereversing cable between the units or swap pin 2 and 3 in the unit, that behaves erratically. |
| Error after unit reset. | Effect requires mechanical adjustment. | Check unit’s software version and error messages for more information. Contact Beamz support or Beamz authorized service partner. |
| Light output cuts out intermittently. | Unit too hot. LEDs damaged. The power supply settings do not match local AC voltage and frequency. | Allow unit to cool. Reduce ambient temperature. Ensure free airflow around unit. Clean unit if necessary. Disconnect unit and contact Beamz support or Beamz authorized service partner. Disconnect unit. Check settings and correct if necessary. |
| MENU | DESCRIPTION | |||
| ADDR | 24CH | d001-d512 | DMX channel mode and address setting | |
| 8CH | ||||
| STAT | S 01-19 | Select static colours | ||
| AUTO | Au 1-4 | Select auto program | ||
| SOUN | So 1-4 | Select sound program | ||
| SPEE | SP 1-9 | Adjust program speed | ||
| SENS | SE 1-9 | Adjust microphone sensitivity | ||
| DIMM | dI1-d19 | Master dimming | ||
| SILE | on/oFF | Silent scene by sound program | ||
| SLAV | Slave | Slave | ||
| INFR | on/oFF | Enable or disenable IR remote | ||
DMX CHANNELS
24 CHANNELS
| CHANNEL | FUNCTION | VALUE DESCRIPTION |
| 1 | Dimmer | 000-265 Master dimming (0-100%) |
| 2 | Strobe | 000-265 Moon stroboscope. from slow to fast |
| 3 | 000-255 Par stroboscope. from slow to fast | |
| 4 | Colour Moon 1 | 000-255 Red dimmer 0-100% |
| 5 | 000-255 Green dimmer 0-100% | |
| 6 | 000-255 Blue dimmer 0-100% | |
| 7 | 000-255 White dimmer 0-100% | |
| 8 | 000-255 Amber dimmer 0-100% | |
| 9 | 000-255 Pink dimmer 0-100% | |
| 10 | Colour Moon 2 | 000-255 Red dimmer 0-100% |
| 11 | 000-255 Green dimmer 0-100% | |
| 12 | 000-255 Blue dimmer 0-100% | |
| 13 | 000-255 White dimmer 0-100% | |
| 14 | 000-255 Amber dimmer 0-100% | |
| 15 | 000-255 Pink dimmer 0-100% | |
| 16 | PAR 1 | 000-255 Red dimmer 0-100% |
| 17 | 000-255 Green dimmer 0-100% | |
| 18 | 000-255 Blue dimmer 0-100% | |
| 19 | 000-255 White dimmer 0-100% | |
| 20 | PAR2 | 000-255 Red dimmer 0-100% |
| 21 | 000-255 Green dimmer 0-100% | |
| 22 | 000-255 Blue dimmer 0-100% | |
| 23 | 000-255 White dimmer 0-100% | |
| 24 | Mode | 000-009 No function |
| 010-039 Auto program 1 | ||
| 040-069 Auto program 2 | ||
| 070-099 Auto program 3 | ||
| 100-129 Auto program 4 | ||
| 130-159 Sound program 1 | ||
| 160-189 Sound program 2 | ||
| 190-219 Sound program 3 | ||
| 220-256 Sound program 4 |
8 CHANNEL
| CHANNEL | FUNCTION | VALUE | DESCRIPTION |
| 1 | Dimmer | 000-255 | Master dimming (0-100%) |
| 2 | Strobe | 000-255 | Moon stroboscope. from slow to fast |
| 3 | 000-255 | Par stroboscope. from slow to fast | |
| 4 /5 | 000-009 | No function | |
| 010-019 | Red | ||
| 020-029 | Green | ||
| 030-039 | Blue | ||
| 040-049 | White | ||
| 050-059 | Amber | ||
| 060-069 | Pink | ||
| 070-079 | Red. Green | ||
| 080-089 | Red. Blue |
| CHANNEL | FUNCTION | VALUE | DESCRIPTION |
| 090-099 | Red. White | ||
| 100-109 | Green+ Blue | ||
| 110-119 | Blue+ White | ||
| 120-129 | White+ Amber | ||
| 130-139 | Amber+ Pink | ||
| 140-149 | Red+ Green+ Blue | ||
| 150-159 | Green+ Blue+ White | ||
| 160-169 | Blue+ White+ Amber | ||
| 170479 | White+ Amber+ Pink | ||
| 180-189 | Red+ Blue+ Amber | ||
| 190-199 | Green+ White+ Amber | ||
| 200-255 | Red+ Green. Blue. White+ Amber+ Fink | ||
| 6/7 | 000-009 | No function | |
| 010-019 | Red | ||
| 020-029 | Green | ||
| 030-039 | Blue | ||
| 040-049 | White | ||
| 050-059 | Yellow | ||
| 060-069 | Magenta | ||
| 070-079 | Cyan | ||
| 080-089 | Dark orange | ||
| 090-099 | Green yellow | ||
| 100-109 | Salmon | ||
| 110-119 | Turquoise | ||
| 120-129 | Light Green | ||
| 130-139 | Orange | ||
| 140-149 | Straw | ||
| 150-159 | Lavender | ||
| 160-169 | Light blue | ||
| 170-179 | Dark blue | ||
| 180-189 | Pink | ||
| 190-255 | Full on | ||
| 8 | 000-009 | No function | |
| 010-039 | Auto programl | ||
| 040-069 | Auto program 2 | ||
| 070-099 | Auto program 3 | ||
| 100-129 | Auto program 4 | ||
| 130-159 | Sound program I | ||
| 160-189 | Sound program 2 | ||
| 190-219 | Sound program 3 | ||
| 220-255 | Sound program 4 |
Rated voltage : 100-240VAC, 50-60Hz, 0.3-0.15A
LED : Moonflower 12x2Watt RGBAWP / PAR 12x 4Watt RGBW
Fuse : T3A
DMX Channels: 8 /24
Functions: DMX, Automatic programs, Sound to light and Master-Slave.
Dimensions per unit : 130 x 370 x 90mm
Weight (per unit) : 1,75kg
Design and product specifications are subject to change without prior notice.
The products referred to in this manual conform to the European Community Directives to which they are subject:
- Low Voltage (LVD) 2014/35/EU
- Electromagnetic Compatibility (EMC) 2014/30/EU
- Restriction of Hazardous Substances (RoHS) 2011/65/EU
YOUR FUTURE YOUR
SKILLS YOUR
PLATFORM YOUR PARTY
is a leading developer of lighting products, including intelligent DMX moving heads, wireless battery operated DMX effects, static washes, sound-activated club effects. strobes & blacklights. LED lighting, fog and special effects machines. lasers and indoor and outdoor architectural fighting, as well as lighting controllers and protective bags.



















