dahua DH-PFR4K-E120 24GHz Radar Detector

Foreword
General
This manual introduces the functions and operations of the 24 GHz radar detector (hereinafter referred to as the “Radar”).
Model
DHI-ITARD-024SA-ST
Safety Instructions
The following categorized signal words with defined meaning might appear in the manual.
| Signal Words | Meaning |
| DANGER | Indicates a high potential hazard which, if not avoided, will result in death or serious injury. |
| WARNING | Indicates a medium or low potential hazard which, if not avoided, could result in slight or moderate injury. |
| CAUTION | Indicates a potential risk which, if not avoided, could result in property damage, data loss, lower performance, or unpredictable result. |
| TIPS | Provides methods to help you solve a problem or save you time. |
| NOTE | Provides additional information as the emphasis and supplement to the text. |
Revision History
| Version | Revision Content | Release Time |
| V1.0.0 | First release. | March 2020 |
About the Manual
- The manual is for reference only. If there is inconsistency between the manual and the actual product, the actual product shall prevail.
- We are not liable for any loss caused by the operations that do not comply with the manual.
- The manual would be updated according to the latest laws and regulations of related regions. For detailed information, see the paper manual, CD-ROM, QR code or our official website. If there is inconsistency between paper manual and the electronic version, the electronic version shall prevail.
- All the designs and software are subject to change without prior written notice. The product updates might cause some differences between the actual product and the manual. Please contact the customer service for the latest program and supplementary documentation.
- There still might be deviation in technical data, functions and operations description, or errors in print. If there is any doubt or dispute, please refer to our final explanation.
- Upgrade the reader software or try other mainstream reader software if the manual (in PDF format) cannot be opened.
- All trademarks, registered trademarks and the company names in the manual are the properties of their respective owners.
- Please visit our website, contact the supplier or customer service if there is any problem occurred when using the device.
- If there is any uncertainty or controversy, please refer to our final explanation.
Important Safeguards and Warnings
This chapter introduces the contents covering proper handling of the Radar, hazard prevention, and prevention of property damage. Read these contents carefully before using the Radar, comply with them when using, and keep the manual well for future reference.
- Pay attention to personnel safety when installing the Radar at intersections or certain road sections.
- Non-professionals are forbidden to disassemble and install the Radar.
- Before powering on the Radar, check all the power connections to prevent short circuit.
- Properly ground the Radar.
- Securely install the Radar to reduce the impact of vibration on the Radar.
- The cables must meet the requirements of shielding, insulation, and moisture resistance.
Power Source Requirements
- Use high-quality DC power supply that meets the voltage requirements to avoid crosstalk from other devices.
- Strictly comply with the local electric safety standards.
- Make sure that the power supply is correct before operating the Radar.
- Use power supply that meets SELV (safety extra low voltage) requirements, and supply power with rated voltage that conforms to Limited Power Source in IEC60950-1. For specific power supply requirements, please refer to device labels.
- Install easy-to-use device for power off before installing cables, which is for emergent power off when necessary.
- Prevent the line cord from being trampled or pressed, especially the plug, power socket and the junction.
Application Environment Requirements
- Make sure that there are no obstructions in the front of the Radar.
- Do not hot swap the serial port.
- Do not impact the Radar. Prevent the Radar from falling down.
- Do not aim the Radar at strong light (such as lamplight, sunlight) for focusing.
- Transport, use and store the Radar under the allowed humidity and temperature conditions.
- Prevent any liquid from flowing into the Radar.
- Do not block the ventilation near the Radar.
- Do not press, vibrate or soak the Radar during transportation, storage and installation.
- Pack the Radar with packaging materials provided by its manufacturer or materials with the same quality before transporting it.
Maintenance Requirements
WARNING
- Use accessories suggested by the manufacturer, and install and maintain the Radar by professionals.
- Do not provide two or more power supply modes; otherwise, the Radar might be damaged.
Product Introduction
Overview
The 24 GHz radar detector is a narrow beam radar with planar antenna system. It is specifically designed to detect moving vehicles to meet modern traffic management challenges. The product uses modern microwave radar technology and high-speed digital signal processing technology for precise positioning and accurate speed measurement. The Radar can be applied to a wide range of complex road environments such as tunnel entrance and highway interchanges, providing real-time traffic information and forensic evidence for traffic speed violations.
Features
- Adopts 24 GHz MMIC technology, light-weighted and efficient.
- High-precision capture at fixed position. Position error within ±1 m (3.28 ft).
- High-gain and low-sidelobe microstrip antenna design helps effectively avoid echo interference of adjacent lanes.
- Fast response ensures high capture rate and real-time signal processing.
- Advanced radar signal processing and real-time data processing technologies.
- Adopts new algorithm for enhanced location stability and prolonged work sustainability.
- Ideal for flexible and extensive applications.
- Low microwave radiation and power consumption, long service life, and high stability and reliability.
Device Structure
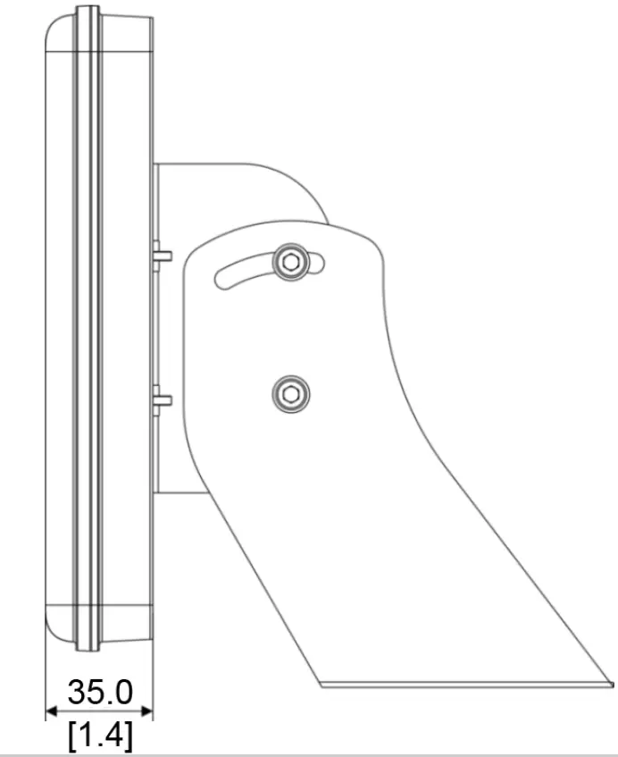
Dimensions
- Front view (mm (inch))

- Side view (mm (inch))

Structure
The device structure relates to the Radar and the bracket.
- FiRadar structure

Radar structure
| No. | Description | No. | Description |
| 1 | Antenna | 4 | Set screw |
| 2 | Sealing washer | 5 | PG connector |
| 3 | Front cover | 6 | Rear cover |
- Bracket structure

Bracket structure
No. | Description | No. | Description |
| 1 | Bracket 1 | 2 | Bracket 2 |
Cable
- Cable

Description of 6-pin 2.5mm pitch connector
| Pin | Name | Description |
| 1 | 12V DC (black) | GND pin for radar power supply. |
| 2 | 12V DC (red) | Pin for 12V radar power supply. |
| 3 | TXD (green) | TX pin for radar RS-232 communication, baud rate 9600, connects to R1, R2 and R3 ports of camera. |
| 4 | RXD (yellow) | RX pin for radar RS-232 communication, connects to T1, T2 and T3 ports of camera. |
| 5 | GND (brown) | GND pin for radar RS-232 communication, connects to GND port of camera. |
| 6 | Reserved | Reserved. |
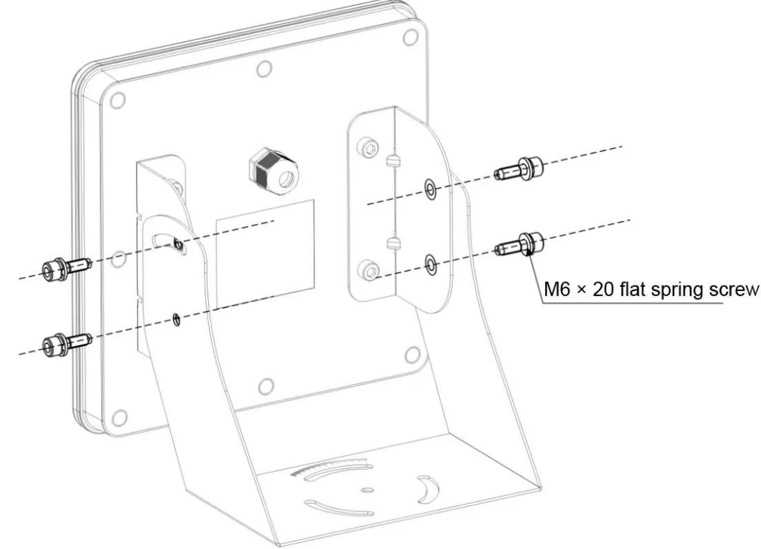
Installation
Fixing the Radar to Brackets
The brackets help fix the Radar and adjust the angle of the Radar.
- Fix bracket 1 to the Radar with four M6 × 8 hex socket cap screws. Fix bracket 1

- Fix bracket 2 to bracket 1 with four M6 × 20 flat spring screws.
Fix bracket 2
Installing the Radar over Lane
You can use tools to improve your installation, such as digital protractor, portable inclinometer, and more.
- Install the Radar on traffic pole right above the lane.
Install the Radar on traffic pole
- Adjust the Radar position to make it aim at the middle position of the detected lane.
Adjust Radar position
- Adjust the installation height, elevation angle (the angle between the normal line of the radar front cover and the horizontal line), and capture distance of the Radar according to your needs.
Recommended installation:
Height: 6 m (19.7 ft),
elevation angle: 13°, and
Capture distance: 24 m (78.7 ft).
When adjusting the Radar elevation angle, keep the Radar as horizontal as possible. You can use mobile app for measuring angle to help you adjust the elevation angle.
Radar installation example
Radar Configuration on Camera Web
Install the Radar (see “3 Installation”), connect the Radar to camera (see “2.3 Cable”), and then set the radar parameters on the web interface of camera, so the Radar can work with the camera to detect and capture vehicles.
- Open the browser, enter the IP address of the camera in the address bar, and then
press the Enter key. - Enter the username and password, and click Login to log in to the web interface of
the camera. - Select Setup > ITC > Intelligent > Radar.
Radar
- Select Enable Radar to enable radar detection, and then you can configure the parameters.
- This section takes ITARD-024SA-ST radar as an example.
- The interface is for reference only, and the actual interface shall prevail.
Radar description
| Parameter | Description |
| COM SET | |
| COM Port | Select the corresponding COM port. COM1/2/3 corresponds to Lane1/2/3 respectively. Select according to the actual lane that the Radar detects. |
| Radar Type | Select the radar type according to the actually-connected radar. Parameters of the selected radar need to be configured at the right side of the interface. |
| ITARD-024SA-ST | |
| Parameter | Description |
| Work Mode | The way of sending information captured by the Radar. You can select Single, Continuous or Manual. Currently, camera supports only Single. Special program is required if you want to send the information in continuous or manual way. |
| Interval | The interval that the Radar detects and recognizes an object. |
| Detect Mode | The detection direction of the Radar, which includes Approaching, Departing, and Both. Select according to the actual installation status of the Radar. |
| Angle | The elevation angle, means the the angle between the normal line of the radar front cover and the horizontal line. Properly adjust the angle to get best detection result. |
| Sensitivity | You can select the capture sensitivity of the Radar. The larger the value, the more sensitive the Radar. |
| Trigger Speed | Capture will be triggered when the vehicle speed reaches the defined trigger speed. |
| Radar No. | The No. that defines the Radar. |
| Trigger Distance | The distance that triggers capture. Enter the value according to the actual trigger distance of the Radar. |
| Height | Installation height of the Radar. Enter the height according to the actual installation height of the Radar. |
| Pre Speed Wait | The two parameters help get the vehicle speed. By video detection or radar, the camera can detect the vehicle speed. If vehicle speed is detected within the range of Pre Speed Wait and Delay Speed Wait, then such speed will be the vehicle speed recognized by the Camera; if out of such range, then the speed will be a random value within speed limit. |
| Delay Speed Wait |
Click Confirm.
FAQ
The Radar is a high-technology product that requires professional operations. Read the user’s manual carefully before using the Radar, or contact professionals or technical support if you have any doubts. This section provides guidance on solving some typical problems related to the Radar.
FAQ
| Problem | Solutions |
| The Radar does not work after being powered on |
|
| Messy code |
|
| The Radar does not detect vehicle speed |
|
| The Radar detects vehicle speed but does not capture vehicles |
|
| Missed capture |
|
| After I connect the Radar to the camera, the camera does not capture targets |
|
Appendix 1 Cybersecurity Recommendations
Cybersecurity is more than just a buzzword: it’s something that pertains to every device that is connected to the internet. IP video surveillance is not immune to cyber risks, but taking basic steps toward protecting and strengthening networks and networked appliances will make them less susceptible to attacks. Below are some tips and recommendations on how to create a more secured security system.
Mandatory actions to be taken for basic equipment network security:
- Use Strong Passwords
Please refer to the following suggestions to set passwords:- The length should not be less than 8 characters;
- Include at least two types of characters; character types include upper and lower case letters, numbers and symbols;
- Do not contain the account name or the account name in reverse order;
- Do not use continuous characters, such as 123, abc, etc.;
- Do not use overlapped characters, such as 111, aaa, etc.;
- Update Firmware and Client Software in Time
- According to the standard procedure in Tech-industry, we recommend to keep your equipment (such as NVR, DVR, IP camera, etc.) firmware up-to-date to ensure the system is equipped with the latest security patches and fixes. When the equipment is connected to the public network, it is recommended to enable the “auto-check for updates” function to obtain timely information of firmware updates released by the manufacturer.
- We suggest that you download and use the latest version of client software.
“Nice to have” recommendations to improve your equipment network security:
- Physical Protection
We suggest that you perform physical protection to equipment, especially storage devices. For example, place the equipment in a special computer room and cabinet, and implement well-done access control permission and key management to prevent unauthorized personnel from carrying out physical contacts such as damaging hardware, unauthorized connection of removable equipment (such as USB flash disk, serial port), etc. - Change Passwords Regularly
We suggest that you change passwords regularly to reduce the risk of being guessed or cracked. - Set and Update Passwords Reset Information Timely
The equipment supports password reset function. Please set up related information for password reset in time, including the end user’s mailbox and password protection questions. If the information changes, please modify it in time. When setting password protection questions, it is suggested not to use those that can be easily guessed. - Enable Account Lock
The account lock feature is enabled by default, and we recommend you to keep it on to guarantee the account security. If an attacker attempts to log in with the wrong password several times, the corresponding account and the source IP address will be locked. - Change Default HTTP and Other Service Ports
We suggest you to change default HTTP and other service ports into any set of numbers between 1024~65535, reducing the risk of outsiders being able to guess which ports you are using. - Enable HTTPS
We suggest you to enable HTTPS, so that you visit Web service through a secure communication channel. - Enable Whitelist
We suggest you to enable whitelist function to prevent everyone, except those with specified IP addresses, from accessing the system. Therefore, please be sure to add your computer’s IP address and the accompanying equipment’s IP address to the whitelist. - MAC Address Binding
We recommend you to bind the IP and MAC address of the gateway to the equipment, thus reducing the risk of ARP spoofing. - Assign Accounts and Privileges Reasonably
According to business and management requirements, reasonably add users and assign a minimum set of permissions to them. - Disable Unnecessary Services and Choose Secure Modes
If not needed, it is recommended to turn off some services such as SNMP, SMTP, UPnP, etc., to reduce risks.
If necessary, it is highly recommended that you use safe modes, including but not limited to the following services:- SNMP: Choose SNMP v3, and set up strong encryption passwords and authentication passwords.
- SMTP: Choose TLS to access mailbox server.
- FTP: Choose SFTP, and set up strong passwords.
- AP hotspot: Choose WPA2-PSK encryption mode, and set up strong passwords.
- Audio and Video Encrypted Transmission
If your audio and video data contents are very important or sensitive, we recommend that you use encrypted transmission function, to reduce the risk of audio and video data being stolen during transmission.
Reminder: encrypted transmission will cause some loss in transmission efficiency. - Secure Auditing
- Check online users: we suggest that you check online users regularly to see if the device is logged in without authorization.
- Check equipment log: By viewing the logs, you can know the IP addresses that were used to log in to your devices and their key operations.
- Network Log
Due to the limited storage capacity of the equipment, the stored log is limited. If you need to save the log for a long time, it is recommended that you enable the network log function to ensure that the critical logs are synchronized to the network log server for tracing. - Construct a Safe Network Environment
In order to better ensure the safety of equipment and reduce potential cyber risks, we recommend:- Disable the port mapping function of the router to avoid direct access to the intranet devices from external network.
- The network should be partitioned and isolated according to the actual network needs. If there are no communication requirements between two sub networks, it is suggested to use VLAN, network GAP and other technologies to partition the network, so as to achieve the network isolation effect.
- Establish the 802.1x access authentication system to reduce the risk of unauthorized access to private networks.
- It is recommended that you enable your device’s firewall or blacklist and whitelist feature to reduce the risk that your device might be attacked.


























