SIIG CE-H27411-S1 HDMI USB KVM Over Cat6 Extender

Contents hide
Features
- Support HDMI 1.3, 1080p@60 4:4:4 8bits,
- Support HDCP 1.2
- Extend 1080p@60 video up to 230ft/70m through a Cat6/6a/7 network cable
- Support Audio EDID learning
- Support HDMI loop-out on Transmitter
- Support audio extraction via L/R 3.5mm of Receiver
- HDMI Audio Format: PCM2/5.1/7.1, Dolby & DTS 5.1
- 3.5mm Audio Format: PCM2
- Support USB 2.0 extend for keyboard & mouse only
- Lightning Protection, Surge Protection, ESD Protection
Package Contents
- Transmitter
- Receiver
- Power adapter DC SV/1 A x2
- USB cable
- User Manual
Layout

- Reset BUTTON: Press to restart the device
- RJ-45: Connect to Receiver with Cat6 cable
- USB port: Connect to the USB port of PC for receiver’s Keyboard & Mouse use.
- KVM Light: always on when connect to the host flashes when the mouse /keyboard using
- Power/Signal LED: flashes when no HDMI signal always on when HDMI signal is transmitted.
- POWERJACK: DC 5V/1A
- HDMI OUTPUT: Connect to HDMI display
- HDMI INTPUT: Connect to HDMI source

- Reset BUTTON: Press to restart the device
- RJ-45: Connect to Transmitter with Cat6 cable
- USB port: For keyboard & mouse only Support wireless keyboard & mouse
- KVM Light: always on when connect to the host flashes when the mouse /keyboard using
- Power/Signal LED: flashes when no HDMI signal always on when HDMI signal is transmitted.
- POWERJACK: DC 5V/1A
- L/R 3.5mm Output: For audio extract. support PCM 2ch only do not support digital audio format
- HDMI OUTPUT: Connect to HDMI display
Audio EDID Learning
- The extender will auto-learning the audio EDID from the connected display to support display’s audio format..
- If the TX loop-out connected display also, the device will use the smaller audio EDID of two displays.
For example
- Two displays are Digital 5.1 & PCM 2.0, the extender will use PCM 2.0.
Two audio output format will be PCM 2.0. - Two displays are PCM 7.1, the extender will use PCM 7.1.
Two audio output format will be PCM 7.1.
- Please press the reset button to re-learning audio EDID after a display change.
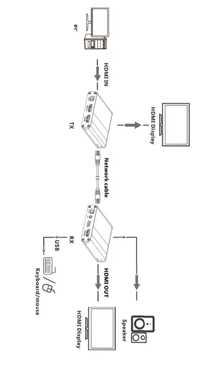
Application

CUSTOMER SUPPORT
Dear Valued Customer
WE REALLY APPRECIATE YOUR PURCHASE
-thank you-
Support
For more info or tech support
http://www.siig.com/support
Feb, 2023 Copyright© 2021 by SIIG, Inc. All rights reserved.




















