
HOT KNIFE FABRIC/ROPE CUTTER
Air Cooled, Continuous Use
100W
150W
200W
250W
300W
User Manual

![]()
Rev. 08/2020 RM-KD-V1
SAFETY & WARNING
To use the unit safely, it must be set up and operated in accordance with the instructions in this user manual. Please also read and understand the safety precautions, so as not cause harm to you and others, and also avoid damage to the tools.
- Before use, make sure the set is complete and the machine is in working order.
- Don’t use the cutter if damaged. Contact your supplier for assistance.
- Operate with caution, wear eye goggles
- Do not force the machine during cutting.
- Keep the workplace clean, away from flammable materials.
- Keep the machine away from moisture and rain.
- Regular checks and maintenance are required.
- Keep the machine away from flammable and explosive substances
- Do not use the machine to warm up liquids
- Keep your hands or other parts of your body away from hot blades.
- Follow the instructions for recommend work intervals (See below).
- Never operate the machine under the influence of drug or alcohol
- Packaging should be kept away from children for potential choking hazard
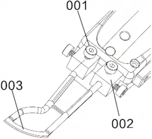
BLADE INSTALLATIONS
Caution! Always unplug the hot knife before installing or removing the blade. Allow sufficient cooling time for blade, blade holder and screws before handling.

- Loose hex screws (001).
- Place blade (003) into the mounting holes.
- Remember to wear protective gloves since blades have sharp edges.
- Tighten the screws.
- Once the blade is firmly in place, plug the unit into a standard 110V power outlet.
Note: Blade must be firmly in place and properly tightened down to complete the circuit or the knife will not turn on.
OPERATION INSTRUCTIONS

- Plug into a standard 110V outlet.
- Set temperature control knob to midrange setting.
- Place blade against the edge of the fabric/rope and squeeze the trigger. Blade will heat up to optimal temperature within 10-20 seconds.
Note: If excessive smoke develops, you are cutting too slowly or the blade is too hot. Adjust your cutting speed or blade temperature
CAUTION! Keep hot blades away from skin clothing and other flammable materials
- The hot knife can be operated continuously
- Release the switch and allow the blade to cool down after use
- Unplug the hot knife when not in use.
Warning:
- Before cutting fabric/rope, please carefully read the material manufacturer’s instructions on the inflammability and toxicity of the material.
- Use the unit in well-ventilated rooms. If possible, use ventilation equipment.
- Turn off the trigger when the unit is not being used. Leaving the trigger on will overheat the blade and the unit which may result in the blade deforming. Please refer to “Blade Cleaning Instructions” when cleaning the blades.
- Do not contact the hot blade with skin, clothing, and other combustible items, to avoid fire and injury.
BLADE CLEARNING INSTRUCTIONS
- If fabric/rope builds up on the knife after use, unplug unit and let cool completely.
- Disassemble blade from knife.
- Spray with carburetor/starter fluid and gently scrub the blade using the soft wire brush or steel wool until buildup is removed.
Caution! In the event fabric/rope builds up on the knife, DO NOT ATTEMPT TO BURN OFF.
TROUBLE SHOOT
OPERATING ISSUE | CAUSES | RECOMMENDATIONS |
| Knife will not turn on. | No power to knife. Blade not installed properly. | Verify knife is plugged into a 110V outlet. Make sure blade is installed correctly. See “Blade Installation” instructions |
| Residue build-up on knife. | Residue forms after repeated uses. | Follow “Blade Cleaning Instructions.” |
| Knife stops working during use. | Knife overheated. | Let knife cool and restart. Make sure knife is not forced on. |
| Excessive smoking during cutting. | Cutting fabric/rope too slowly. Blade too hot. | Release trigger. Let knife cool. Restart the unit. |
ACCESSORIES/REPLACEMENT PARTS
Amazon Store: https://www.amazon.com/romech
RoMech Store: https://www.ticonnshop.com/romech
![]()
Customer service:
Email: [email protected]


















