KLARSTEIN 10034518 Drink Mixer User Manual
Dear Customer,
Congratulations on purchasing this equipment. Please read this manual carefully and take care of the following hints to avoid damages. Any failure caused by ignoring the items and cautions mentioned in the instruction manual are not covered by our warranty and any liability. Scan the QR code to get access to the latest user manual and other information about the product.
TECHNICAL DATA
| Item number | 10034518 |
| Power supply | 220 V~ 50 Hz |
| Power rating | 300 W |
| Capacity | 1 Liter |
SAFETY INSTRUCTIONS
- Read this user manual carefully before you use the appliance and save it for future reference.
- Never immerse the motor unit in water or any other liquid, nor rinse it under the tap.
Only use a moist cloth to clean the motor unit. - Check if the voltage indicated on the appliance corresponds to the local mains voltage before you connect the appliance.
- To avoid a hazardous situation due to inadvertent resetting of the thermal cut-out, never connect this appliance to a timer switch.
- Do not use the appliance if the mains cord, the plug or other parts are damaged.
- If the mains cord is damaged, you must have it replaced by supplier, or a service centre or similarly qualifed persons in order to avoid a hazard.
- Never reach into the blender beaker with your fi ngers or an object while the appliance is plugged in or operates. The cutting edges of the blade unit are very sharp.
- If the blade unit gets stuck, unplug the appliance before you remove the ingredients that block the blade unit.
- This appliance is not intended for use by persons (including children) with reduced physical, sensory or mental capabilities, or lack of experience and knowledge, unless they have been given supervision or instruction concerning use of the appliance by a person responsible for their safety.
- Children should be supervised to ensure that they do not play with the appliance.
- Never let the appliance operate unattended.
- Never use the mixing jug to switch the appliance on and off.
- Always unplug the appliance before you assemble, disassemble or make adjustments to any of the parts.
- Do not exceed the maximum level indicated on the glass jug.
- Do not exceed the maximum amount of ingredients.
- Switch it off and pull the plug out from power outlet when not in use or before cleaning.
- Do not make the appliance operating with no supervisory.
- This device may be only used by children 8 years old or older and persons with limited physical, sensory and mental capabilities and / or lack of experience and knowledge, provided that they have been instructed in use of the device by a responsible person who understands the associated risks.
CAUTION
Risk of injury! Do not touch the edges of sharp knives when handling them. You‘re very sharp and could hurt your fi ngers. Do not touch the blade or removable parts while plug in the electricity.
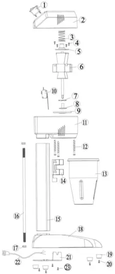
PRODUCT DESCRIPTION

- switch
- top cover
- spring
- positioning screw
- spring positioning piece
- motor
- S/S blade
- plastic blade
- white rubber pad
- safety switch
- bottom cover
- cover positioning screw
- S/S cup
- plastic cup bracket
- centre shaft
- threaded rod
- threaded rod nut
- Aluminum foundation
- rubber feet
- rubber feet screw
- bottom board
- power cord
- bottom board nut
USE
Sphere of application
- materials that is soluble in water.
- some soft and small legume .
Important Safeguards
- Never put any metal things in the cup,such as:knife,fork, soup spoon,etc.
- Please make sure it’s power off first when take the cup for cleaning to prevent from danger.
- Never use it for cutting something in pieces or blending some solid food that is insoluble in water.
- Please make sure whether the container is safely connected and fixed with the machine first before starting to work.
- When it starts to work,because of the high speed of motor,please hold the top cover slightly.
- When it’s opeating,please put proble materials in the cup to prevent from overflow when it’s blending.
- When you would like to pour the food,please turn off the power source firstly,and take off the cup when the motor is stopped running.
- Please pay attention all the time whether you touch the switch careless before or after the machine works.
Milkshake (Example)
- Add some materials:water,sugar and pure milk (powdered milk).
- Put the blend cup on the bracket of the milk shake machine after putting all well prepared materials in the cup.
- Connect the electric power source,turn on the switch.
- Fine blended after about 5 seconds.
Note: when putting materials,please be with proper capacity of water.
CLEANING AND CARE
- When maintaining or cleaning,please make sure the outlet is unpluged, and the switch must stay at “off”.
- Please clean the cup by sponge or cloth carefully,and take it for airing.
- Please clean the motor base and bearing by dry cloth(NEVER cleaned by water).If it’s a little difficult for wiping,please do it after cleaning by neutral lotion.
TROUBLESHOOTING
When it cann’t work,please check:
- whether the outlet is unpluged.
- whether the fuse or automatic switch is dropped off.
- whether it’s power off.
If it’s all right after checking all,please send it to repair center,donn’t repair it by yourself.
DISPOSAL CONSIDERATIONS
If there is a legal regulation for the disposal of electrical and electronic devices in your country, this symbol on the product or on the packaging indicates that this product must not be disposed of with household waste. Instead, it must be taken to a collection point for the recycling of electrical and electronic equipment. By disposing of it in accordance with the rules, you are protecting the environment and the health of your fellow human beings from negative consequences. For information about the recycling and disposal of this product, please contact your local authority or your household waste disposal service.
MANUFACTURER & IMPORTER (UK)
Manufacturer:
Chal-Tec GmbH, Wallstrasse 16, 10179 Berlin, Germany.
Importer for Great Britain:
Chal-Tec UK limited
Unit 6 Riverside Business Centre
Brighton Road
Shoreham-by-Sea
BN43 6RE
United Kingdom




















