HITCHFIRE 735080 Forge 15 Hitch-Mounted Grill

OPERATING INSTRUCTIONS
This barbecue has been tested to, and complies with ANSI Z21.89-2017 • CSA 1.18-2017, STANDARDS FOR OUTDOOR COOKING SPECIALTY GAS APPLIANCES. If you have questions or need advice regarding your grill or its operation, please visit us on the web at Hitchfire.com. These instructions will give you the minimum requirements for assembling your grill. Please read the instructions carefully before using your grill. Improperassembly can be dangerous.
DANGER
If you smell gas:
- Shut off gas to the appliance.
- Extinguish any open flames.
- Open lid.
- If odor continues, keep canister away from the appliance andimmediately call your gas supplier or your fire department. Leaking gas may cause a fire or explosion, which can cause serious bodily injury or death, or damage to property.
WARNING
- Do not store spare liquid propane cylinder within 10 feet (3m) of this appliance.
- Do not store or use gasoline, lighter fluid, kerosene, paint thinner or other flammable liquids or vapors within 25 feet (8m) of this appliance.
- Follow all leak-check procedures in this manual carefully prior to grill operation. Do this even if the grill was dealer assembled.
- Do not try to light this appliance without reading the lighting instructions section of this manual.
- Failure to follow the DANGERS, WARNINGS, and CAUTIONS contained in this owner’s manual may result in serious bodily injury or death, or in a fire or an explosion causing damage to property.
SAFETY INFORMATION
CAUTION
If the unit is dropped or sustains any impact, perform a thorough leak check to ensure no damage to the fuel connections.
WARNINGS
This gas appliance is designed for outdoor use only. Do not use in a garage, building, breezeway or any other enclosed area. Your Forge 15 should NEVER be placed under any combustible construction or materials. Do not use the grill within 24 inches of combustible materials, top, bottom, back or sides of the grill. Follow all gas leak checking procedures in this manual, prior to operation. Combustion byproducts produced when using this product contains chemicals known to the state of California to cause cancer, birth defects, or other reproductive harm. For more information, go to www.P65Warnings. ca.gov
- DO NOT ATTEMPT TO DISCONNECT THE GAS OR ANY GAS FITTING WHILE THIS APPLIANCE IS IN OPERATION.
- While this appliance is not in use, the gas must be turned off at the gas supply, and the liquid propane tank removed from the appliance. Liquid propane tanks must be stored outdoors, out of the reach of children and must not be stored in any building, garage, or other enclosed structure.
- NEVER leave the barbecue unattended while in operation.
- NEVER allow children to operate this barbecue.
- NEVER lean over an open BBQ, or place hands or fingers on the top of the cooking basin.
- Use heat-resistant BBQ mitts or gloves when operating this barbecue.
- Should a grease fire occur, turn off all burners, and stay away from the barbecue until the fire is out.
- DO NOT use charcoal briquettes, lava rocks or other lighter fluid in this grill.
- While this appliance is not in use, place under a cover to protect it from the weather and other adverse elements.
- Storage of this appliance indoors is permissible only if the propane cylinder tank is disconnected and removed from the appliance. Never move units with propane tank installed.
- This grill is not intended for and should never be used as a heater.
- The use of alcohol, prescription or non-prescription drugs may impair the consumer’s ability to properly assemble or safely operate the appliance.
- Minimum back clearance to combustible material: 10 inches.
PARTS LIST

ASSEMBLY – ATTACHING THE GRILL
- Slide the swing away arm assembly into your hitch and secure it with the hitch stabilizer bolt.

- A. Pull out and twist the hinge spring lock.B. Release the slam-latch by pressing down on the lever.

- Swing the arm away from the vehicle and lock at the 90 degree position for stability. Place the grill head onto the arm.

- Clamp the quick release lever to secure the grill to the arm.

- Lock the grill head onto the arm with a padlock. (Not included.)

- Swing the arm closed, pushing towards the vehicle until the slam-latch is fully engaged

- Rotate the hinge spring lock to engage the plunger.

- Close the hood latch, hinge spring lock and slam-latch.

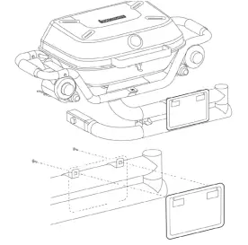
- If the Forge 15 blocks the visibility of your vehicle’s license plate, remove the license plate and mount it on the temporary license plate bracket on the upper swing arm as shown. Be sure to replace the license plate when you remove the Forge 15 from your vehicle.

DEPLOYING THE GRILL
- A. Pull out and twist the hinge spring lock. B. Release the slam-latch by pressing down on the lever.

- Swing the swing-away arm and grill away from the vehicle. Rotate the hinge spring lock to lock the arm’s position at either 90 or 180 degrees.

- Remove the padlock (not included) that locks the collar to the arm. Pull collar pin to let grill rotate freely once arm collar is loosened. Swing down the lock lever on the arm collar.

- Rotate the grill head to the desired position and flip up the lock lever on the arm collar. Follow the cooking instructions on the next page

- Make sure that the burner control knob is in the OFF position. Attach 2 16oz. propane cylinder. See instructions listed in this manual under “Attaching the Propane Cylinder.”

- Unlatch the hood latch and open the grill hood.

- Fold out both side tables.

ATTACHING THE PROPANE CYLINDER
CAUTION:
Use 16oz. cylinders that are marked “propane fuel” only. Prior to installing the cylinder, check to make sure its fitting is not damaged or bent. If the propane cylinder is damaged, DO NOT install it on your HitchFire Grill.
DO NOT IGNITE THE BURNER WHILE CHECKING FOR LEAKS. When installing the cylinder, be sure that it screws in securely in a smooth and straight manner. DO NOT CROSS THREAD. Slide propane cylinder through cylinder hook, while holding carrying handle closest to propane cylinder with one hand, push propane cylinder into regulator and turn clockwise until tight.
WARNING: Do not use a wrench to tighten the connection. Using a wrench could damage the regulator coupling and could cause a leak.
WARNING: You should check for gas leaks every time you disconnect and reconnect a gas fitting.
CHECK CONNECTIONS:
- Regulator to propane cylinder connection.
- Valve-to-regulator connections.
Check for gas leaks by wetting the connections with a soap and water solution and watch for bubbles. If bubbles form or if a bubble grows, there is a leak. Note: all connections should be rinsed with clean water after checking for leaks.
WARNING:
If there is a leak at the connection, remove propane cylinder. Do not operate grill. Use a different propane cylinder and recheck for leaks with soap and water solution. If a leak persists after re-tightening the propane cylinder, turn OFF the gas. DO NOT OPERATE THE GRILL.
WARNING:
- If there is a leak at the valve-to-regulator connection, turn OFF the gas. DO NOT OPERATE THE GRILL.
- When leak checks are complete, turn gas supply OFF at the source and rinse connections with water.
- DANGER! Do not use an open flame to check for gas leaks.
- DANGER! Be sure there are no sparks or open flames in the area while you check for leaks. Sparks or flames may result in a fire or explosions, which can cause serious bodily injury or death, and damage to property.
- DANGER! Do not store a spare LP-gas cylinder under or near this appliance. If the instructions are not followed exactly, a fire causing death or serious injury may occur.
Note: All factory-made connections have been thoroughly checked for gas leaks. The burners have been flame tested. As a safety precaution, check all fittings for leaks before using your HitchFire Grill. Shipping and handling may have loosened or damaged a gas fitting. Perform these leak checks even if your grill has been pre-assembled.
LIGHTING
A summary of the lighting instructions is printed on the control panel.
- Open the lid.
- Unfold side tables.
- Make sure the burner control knob is turned OFF. (Push control knob in and turn clockwise to ensure that it is in the OFF position.)
WARNING: Do not lean over the open grill. Keep your face and body at least one foot away from the grate when lighting the grill. - Push control knob in and turn counter clockwise to START/HI. (Figure below)
- Push control knob in and turn counter clockwise until you here the click of the igniter.
- Check that the burner is lit by looking down through the cooking grate from a safe distance. You should see a flame.
WARNING: If the burner does not light, turn the burner control knob to OFF and wait 5 minutes to let the gas clear before you try again, or try to light manually.

MANUAL LIGHTING:
DANGER! Failure to open the lid while igniting the grill’s burner, or not waiting 5 minutes to allow the gas to clear if the grill does not light, may result in an explosive flame-up, which can cause serious bodily injury or death.
- Open lid.
- Unfold side tables.
- Make sure the burner control knob is turned OFF.
- Strike a long match and put the flame into the lower grill basin next to the burner you wish to light.
- Push burner control knob in for side you wish to light and turn to START/HI.
- Check that the burner is lit by looking down through the cooking grate from a safe distance. You should see a flame.
TO EXTINGUISH:
Push in and turn burner control knob clockwise to the OFF position.
OPERATING INSTRUCTIONS
To light the grill:
Refer to the lighting instructions in the owner’s manual and printed on the control panel of your grill. Never light the grill without first folding out the side tables.
To preheat the grill:
Always light the HitchFire grill according to the lighting instructions in the owner’s manual.
After successfully lightning the grill, close the lid and turn the burner control knob to start / hi. Preheat the grill for 5-10 minutes (depending on the conditions such as air temperature and wind.) Once a grill is preheated to approximately 300° F, set the burner control knob to the settings specified in the recipe.
Note: Wind and weather may require adjustment of the burner control knob to obtain the correct cooking temperature. If the burner goes out during cooking, open the lid, turn off the burner, and wait five minutes before relighting. Drippings and Grease: Excess drippings and grease will collect in the drip pan. (Located on the underside of the grill.) Clean before each use.
WARNINGS:
- Check the drip pan and the bottom of the grill for grease build-up before each use. Remove excess grease to avoid a fire in the bottom of the grill.
- Do not move the grill when operating or while the grill is hot.
- Wait for the grill to cool before folding up the fold-out side tables.
- Wait for the grill to cool before closing the arm assembly.
- Grill must be locked in the 90 or 180 degree position and at least 24 inches from the vehicle before lighting the grill. Damage may occur if operated within 24 inches of vehicle.
Main Burner Flame Pattern:
The HitchFire grill’s burner has been factory set for the correct air and gas mixture. If the flames do not appear to be uniform throughout the burner tube, follow the instructions listed in this manual under “Main Burner Cleaning Procedure.”
Air Mixture Adjustment:
The air mixer sleeve for the burner has been preset at the factory for gas conditions at sea level. However, if the burner flame is too yellow (this may occur at higher altitudes) open the air mix sleeve slightly until the flame turns blue.
CLEANING
- Outside Surfaces:
Use a warm soapy water solution to clean, then rinse with water. - Cooking Grate:
Clean with a soft brass bristle brush. As needed, remove from grill and wash with warm soapy water then rinse with water. - Drip Pan:
To clean the tray, wash with warm soapy water, then rinse. - Inside Grill Basin:
Wash inside of grill basin with warm soapy water and water rinse. - Inside Lid:
Wash inside of grill basin with warm soapy water and water rinse. - Fold Out Side Tables:
Wash with a soft cloth, and a soap and water solution. Do not use cleaners that contain acid or mineral spirits. Rinse well after cleaning. Fold out side tables are not to be used as cutting boards.
ANNUAL MAINTENANCE
After a period of non-use, we recommend that you perform the following maintenance procedures for your safety. Inspect and clean the burner tube. Inspect the burner for correct flame pattern. Clean if necessary. Check all gas fittings for leaks following the instructions listed under “Check for Gas Leaks”
INSPECTION AND CLEANING OF BURNER TUBE:

Your HitchFire grill, as well as any other outdoor gas appliance is a target for spiders and other insects. They can nest in the venturi section of the burner tube. This blocks the normal gas flow, and can cause the gas to flow back out of the air shutter. This could result in a fire in and around the air shutter, causing serious damage to your grill.
CAUTION: Do not clean the burner tube with hard or sharp tools.
Lightly tap the burner tube to get debris and dirt out. Once the burner tube is clean, replace it in the grill. If the burner tube becomes damaged or cannot be cleaned, go to HitchFire.com for replacement parts.
Do not use grill and contact customer service if:
- The smell of gas in conjunction with the burner flames appearing yellow and lazy.
- Grill does not reach temperature.
- Grill heats unevenly.
- Burner does not ignite.
LIMITED WARRANTY
What Is Covered
HitchFire warrants to the original purchaser that its products listed below are free from defects in material and workmanship, for the term described, except as qualified below. The life of the product is determined from the date of purchase until such time as the product is no longer serviceable due to normal wear and tear. Steel & Aluminum Castings Cooking Grates Burners Spark Igniters All Remaining Parts When Assembled and operated in accordance with the accompanying printed instructions.
What Is Not Covered
HitchFire shall not be responsible for the natural breakdown of materials that occurs inevitably with extended use (e.g., Ultra Violet (UV) light damage on grill, or defects caused by accident, abuse, alteration, animal attack, storm damage, misuse or improper care, vandalism, improper installation improper maintenance or service, failure to perform normal and routine maintenance, including but not limited to, damage caused by insects within the burner tubes, as set out in this owner’s manual warranty section. Deterioration or damage due to severe weather conditions such as hail, hurricanes, earthquakes, or tornadoes including rust, discoloration due to exposure to chemicals (including salt) either directly or in the atmosphere, or very high humidity, is not covered by this limited Warranty. THERE ARE NO OTHER EXPRESS WARRANTIES BEYOND THE TERMS OF THIS LIMITED WARRANTY. IN NO EVENT SHALL HitchFire BE LIABLE FOR INCIDENTAL OR CONSEQUENTIAL DAMAGES. Some states do not allow the exclusion or limitation of incidental or consequential damages, so the above limitation or exclusion may not apply to you.
What HitchFire Will Do
If after inspection we find that a product failed due to a manufacturing or material defect, we will repair or replace the product, at our option, without charge.
How To Obtain Warranty Service
Return the product, freight prepaid, to the HitchFire Dealer from whom it was purchased; or, contact HitchFire Customer Satisfaction Department for return authorization: toll-free 1-800-515-5286. Collect shipments or shipments without return authorization cannot be accepted.
REPAIRS
If your HitchFire product needs service or repair due to normal wear and tear, animal attack, accident or some other reason that is not covered under the warranty we will provide the necessary service for a reasonable charge, plus shipping and handling. We require that products accepted for any repair be properly cleaned according to our recommended care instructions. Please send your product that requires repair, postage prepaid, along with a description of what needs attention. For service and repairs, please contact our Customer Satisfaction Department: toll-free 1-800-515-5286
How State Law Relates To This Warranty
This warranty gives you specific legal rights, and you may have other rights that vary from state to state.
Warranty Term
Limited two year warranty applies to all grill components.



































