innovative 7000 Flexible Flat Panel LED Monitor

Parts List 
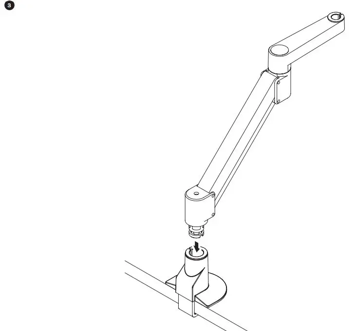
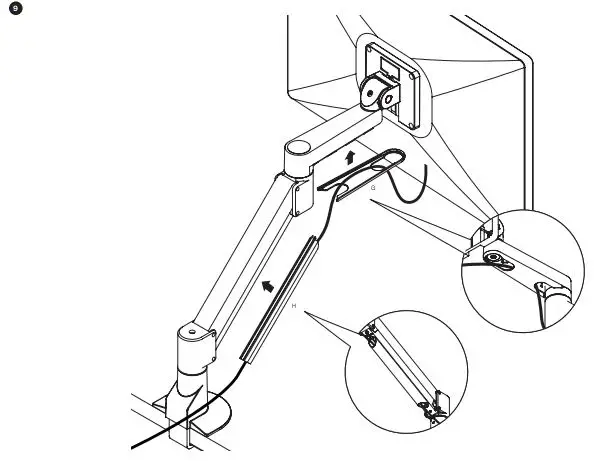
INSTALLATION




IMPORTANT!
- Monitor must be on arm
- Arm must be in mount








IMPORTANT!



Download manual
Here you can download full pdf version of manual, it may contain additional safety instructions, warranty information, FCC rules, etc.