VINTEC Bottle Multi Zone Wine Storage Cabinet User Manual


Warning
As the appliance contains a flammable refrigerant, it is essential to ensure that the refrigerant pipes are not damaged.
The quantity and type of the refrigerant used in your appliance is indicated on the rating plate.
Standard EN378 specifies that the room in which you install your appliance must have a volume of 1m³ per 8g of hydrocarbon refrigerant used in the appliances. This is to avoid the formation of flammable gas/ air mixtures in the room where the appliance is located in the event of a leak in the refrigerant circuit.
WARNING:
Keep ventilation openings in the appliance’s cabinet or in the built-in structure clear of obstruction.
WARNING:
Do not use mechanical devices or other means to accelerate the defrosting process than those recommended by the manufacturer.
WARNING:
Do not damage the refrigerant system.
WARNING:
Do not use electrical appliances inside the refrigerated storage compartment, unless they are of a type recommended by the manufacturer.
WARNING:
This appliance is suitable for indoor use only.
WARNING:
This appliance is not intended for use by persons (including children) with reduced physical, sensory or mental capabilities, or lack of experience and knowledge, unless they have been given supervision or instruction concerning use of the appliance by a person responsible for their safety. Children should be supervised to ensure that they do not play with the appliance.
WARNING:
Children must not clean the appliance or carry out general maintenance unless they are at least 8 years old and are being supervised.
WARNING:
Children must not play with, on, or around the appliance.
WARNING:
This appliance contains insulation formed with flammable blowing gases. Avoid safety hazards by carefully disposing of this appliance.
WARNING:
Do not store explosives, such as aerosol cans with flammable propellants in the appliance.
WARNING:
When this symbol is used, it indicates flammable materials are used. To avoid relevant hazards, it is required to carefully dispose of this appliance.
!R600A REFRIGERANT WARNING: This appliance contains R600a refrigerant. Avoid safety hazards by carefully installing, handling, servicing and disposing of this appliance.
- It is hazardous for anyone other than an Authorised Service Person to service this appliance. In Queensland the authorised Service Person MUST hold a Gas Work Authorisation for hydrocarbon refrigerants, to carry out Servicing or repairs which involve the removal of covers.
- Ensure that the tubing of the refrigerant circuit is not damaged during transportation and installation.
WARNING:
When positioning the appliance, ensure the power cord is not trapped or damaged.
WARNING:
Do not locate multiple portable socket-outlets or portable power supplies at the rear of the appliance.
WARNING:
If the power cord is damaged, it must be replaced by the manufacturer, its service agent or similarly qualified persons in order to avoid a hazard (For Australia and New Zealand).
- Always keep the keys in a separate place and out of reach of children.
- Before servicing or cleaning the appliance, unplug the appliance from the mains or disconnect the electrical power supply.
- Frost formation on the interior evaporator wall and upper parts is part of normal operation. Therefore, the appliance may need to be defrosted during normal cleaning or maintenance.
- Please note that changes to the appliance construction may cancel all warranty and product liability.
- If the supply cord is damaged, it must be replaced by the manufacturer, its service agent, or similarly qualified persons in order to avoid a hazard.
- Do not use extension cords
- This appliance is intended to be used exclusively for the storage of wine.
- It is normal for some condensation to appear on the inside of the door when the product is opened in certain ambient conditions. This condensation should disappear after a time when the product is operating.
CLASS 1 LED PRODUCT
WARNING:
LED lighting
Your appliance is fitted with long life LED lighting. In the unlikely event the LED lights should fail, then the LED lights should be serviced by the service agent, to avoid a safety hazard. Refer to the warranty page for contact details.
Before use
On receipt, check to ensure that the appliance has not been damaged during transport. Transport damage should be reported to the local distributor before the wine cooler is put to use. Do not remove glass door tapes until the unit is positioned at its final location (see label at the glass door).
Remove the packaging. Clean the inside of the cabinet using warm water with a mild detergent. Rinse with clean water and dry thoroughly (see cleaning instructions). Use a soft cloth.
If during transport the appliance has been laid down, or if it has been stored in cold surroundings (colder than + 5°C), it must be allowed to stabilise in an upright position for at least 24 hour before being switched on.
Note: for household use only
This appliance is intended to be used in household and similar applications such as
- staff kitchen areas in shops, offices and other working environments;
- farm houses and by clients in hotels, motels and other residential type environments;
- bed and breakfast type environments;
- catering and similar non-retail applications.
Important Information that may impact your Manufacturer’s Warranty
Adherence to the directions for use in this manual is extremely important for health and safety. Failure to strictly adhere to the requirements in this manual may result in personal injury, property damage and affect your ability to make a claim under the Vintec manufacturer’s warranty provided with your product. Products must be used, installed and operated in accordance with this manual. You may not be able to claim on the Vintec manufacturer’s warranty in the event that your product fault is due to failure to adhere to this manual.
The energy consumption is reduced when:
- the lower the ambient temperature.
- the warmer thermostat set point.
- the lower the number and the shorter the length of the door openings.
Get to know your wine cabinet
VWM306PBA-R, VWM306PBA-L

VWM306SBA-R, VWM306SBA-L

Electrical connection
Wiring and connections in power supply systems must meet all applicable (local and national) electrical codes. Consult these codes prior to cabinet installation.
Connect the appliance only to 220/240 V / 50Hz alternating current via a correctly installed earthed socket.
The socket should be freely accessible.
Information regarding voltage, current or power are given on the rating plate
The power cord may be replaced by a technician only.
CAUTION: Never put the appliance in a location that is too cold or unprotected, for example in a garage or on a verandah.
The rating plate provides various technical information as well as type and serial number.

Installation and start-up
Placement
For safety and operational reasons, the appliance must not be installed outdoors.
The appliance should be placed on a level surface in a dry, well ventilated room (max. 75% relative air humidity). Never place the appliance close to sources of heat such as cookers or radiators, and avoid placing it in direct sunlight.
Climate class is stated on the name plate. This specifies the optimum ambient temperature.

Installation
The surface on which the appliance is to be placed must be level. Do not use a frame or similar.
The appliance can be installed as a freestanding unit against a wall, built into a closet or lined up with other appliances.
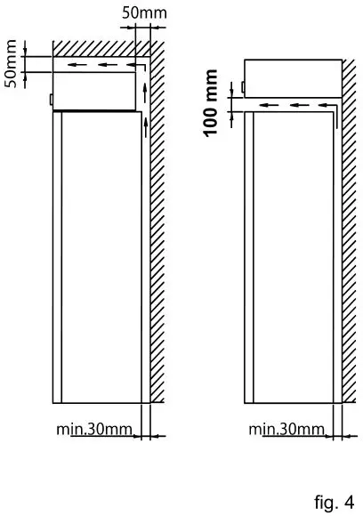
It is important that the appliance be well ventilated and that air can circulate unhindered above, below and around it.
The figures below illustrate how the necessary air circulation around the appliance can be ensured (fig 4).
Ensure the socket is accessible when the appliance is in position, or a switch is incorporated in the fixed wiring according to the wiring rules. (See a licensed electrician for further advice).


Anti-tip
It is recommended to install the supplied anti-tip device to avoid the unit from tipping over. The appliance must be securely attached to the wall by the anti-tip bracket device. The hardware used to secure your appliance to the wall depends on your wall material and will need to be sourced separately to suit the specific installation. Use gloves during installation. If there is not enough space (min 60 mm) over the appliance turn the bracket upside down.

Setting up
It is important that the appliance be absolutely level. It can be levelled by screwing the adjustable feet at the front of the appliance up or down (fig. 6). Use a spirit level to check that the appliance is absolutely level sideways.

Shelves and loading
Fixed shelf – VWM306SBA
Max. 80 kg.

Fixed shelf – VWM306PBA
Max. 65 kg.
Telescopic shelf – VWM306PBA
Max. 15 kg.

To optimise the storage capacity of your wine cabinet it has been designed so that only Bordeaux style bottles can be stored on the outer position of the shelf.

The top fixed shelf in the VWM306PBA cabinet is designed for 2 or 3 rows of 10 bottles (20 or 30 bottles). However 3 rows will result in approximately 3 mm deflection which is normal and will not damage the shelf.
Operation and function

Electronic control
The electronic control ensures that the temperatures set at the top and at the bottom of the appliance are maintained. This is achieved by means of an advanced control of the refrigeration system, the heating element, and the fan. The set temperature will be stored in the event of power failure.
The electronic control has the following functions:
- Light switch *
- Temperature setting
- Temperature indication
- Alarm for too high and too low temperatures
- Door alarm / Filter alarm
- Muliti / Single / Cellar mode
- Child lock Sabbath mode
* The light may either be turned on constantly or only when the door is open. 4 different modes- 9 levels for lighting.
Temperature indication
The display shows the actual temperature. The left digits of the display indicate the temperature at the top of the appliance, and the right digits of the display indicate the temperature at the bottom of the appliance.
Upper temperature set

Single press the up or down arrow to decrease/increase the Set temperature. First press shows the current Set temperature and don’t increase/ decrease it. The numbers blink to indicate that they are being changed. After 5 seconds without any interaction with the “-/+”, the numbers stop blinking and show the Current temperature.
Bottom temperature set

Single press the up or down arrow to decrease/increase the Set temperature. First press shows the current Set temperature and don’t increase/ decrease it. The number blinks to indicate that it is being changed. After 5 seconds without any interaction with the “-/+”, the numbers stop blinking and show the Current temperature.
Lights On/Off

Single press to turn the lights ON/OFF. If Off, the light is always off (door opened or closed). If On, light behaviour goes to previous setting )1A-4A/ 1L-9L).
Lights settings menu

Lights behaviour
Upper temp. display shows the, different light mode.
1A: Lights always ON at highest dim level when door is open. Changing to the selected dim level immediately when the door is closed (500ms).
2A: Lights always ON at highest dim level when door is open (500ms) Turning OFF immediately when the door is closed (500ms).
3A: Lights always ON at selected dim level when door is open and closed.
4A: Lights always ON at selected dim level when door is open (500ms) changing to the highest dim level when the door is closed (500ms). Default Factory settings:
Light Behavior: 1A
Dim Level: 9L

Lights dim level
Bottom temp. display shows the, light level
1L: Lowest level / least bright
2L:…
9L: Highest level / most bright
Child Lock

Sabbath mode Activation

Press & Hold simultaneously the increase top temperature arrow and the decrease bottom temperature arrow for 5 seconds. When activated, Bottom & Upper temper displays shows and blinks “Sb” & “On” for 5 seconds and then shows “Sb” & “On” till the Sabbath mode is deactivated. All button commands are disabled except the increase top temperature and decrease bottom temperature combination command used to deactivate the Sabbath mode.
All alerts will not be displayed until the Sabbath Mode is deactivated, except the High/Low Temperature alert. This alert will display in case of a high or low temperature inside the appliance. The alert icon will turn on, but will not blink and will remain on till Sabbath mode is deactivated. An audio alarm will sound for 10 minutes and will then shut off automatically.
Sabbath mode deactivation

Repeat the steps used for activation. Upper and Lower temperature displays will blink “Sb” & “Of” for 5 seconds and then the displays revert to normal.
°C/°F set

Reset Filter alert

Single/Muliti/Cellaring zone set


Demo mode


Mute sounds
Press & Hold combined on decrease bottom temperature set & Light buttons for 5 seconds to activate/deactivate Mute sounds.
High / Low temperature alert

Door open alert

When the door stays open for some amount of time (5 minutes) the icon turns On and the lights start to dim up and down. If the door is kept open, after more than 2 minutes a sound is played. Any interaction on the Control panel disables the blinking and audio signal. The icon stays on as long the door is open and the lights go back to normal.
Change filter alert

After 6 months the icon turns On. See “Reset” filter alert, to know how to reset the alert. After reset, the icon turns Off and the count is reset.
Defrosting, cleaning and maintenance
Automatic defrosting
The wine cabinet is defrosted automatically. Defrost water runs through a pipe and is collected in a tray above the compressor where the heat generated by the compressor causes it to evaporate. The defrost water tray should be cleaned at intervals.
Cleaning
Before cleaning the appliance, unplug it from the main supply. The cabinet is best cleaned using warm water (max.65°C) with a little mild detergent. Never use cleaning agents that scour. Use a soft cloth. Rinse with clean water and dry thoroughly. The defrost water channel, in which condensation from the evaporator runs, is located at the bottom of the rear inside wall of the cabinet and must be kept clean. Add a few drops of disinfectant, to the defrost water drain a couple of times a year, and clean the drain using a pipe cleaner or similar. Never use sharp or pointed implements.
The sealing strip around the door must be cleaned regularly to prevent discolouration and prolong service life. Use clean water. After cleaning the sealing strip, check that it continues to provide a tight seal.
Dust collecting on the condenser on the rear of the cabinet, the compressor and in the compressor compartment is best removed using a vacuum cleaner.
Spare parts
When ordering spare parts, please state the type, serial and product numbers of your appliance. This information is given on the rating plate. The rating plate contains various technical information, including type and serial number.

Fault finding

Warranty for Australia and New Zealand
This document sets out the terms and conditions of the product warranties for Vintec/Transtherm Appliances. It is an important document. Please keep it with your proof of purchase documents in a safe place for future reference should there be a manufacturing defect in your Appliance. This warranty is in addition to other rights you may have under the Australian Consumer Law.
1. In this warranty:
- (a) `ACL’ or `Australian Consumer Law’ means Schedule 2 to the Competition and Consumer Act 2010;
- (b) `Appliance’ means any Electrolux product purchased by you and accompanied by this document;
- (c) `ASC’ means Electrolux’s authorised serviced centres;
- (d) `Vintec/Transtherm’ is the brand controlled by Electrolux Home Products Pty Ltd of 163 O’Riordan Street, Mascot NSW 2020, ABN 51 004 762 341 in respect of Appliances purchased in Australia and Electrolux (NZ) Limited (collectively “Electrolux”) of 3-5 Niall Burgess Road, Mount Wellington, in respect of Appliances purchased in New Zealand;
- (e) `Warranty Period’ means the period specified in clause 3 of this warranty;
- (f) `you’ means the purchaser of the Appliance not having purchased the Appliance for re-sale, and `your’ has a corresponding meaning.
2. Application:
This warranty only applies to new Appliances, purchased and used in Australia or New Zealand and is in addition to (and does not exclude, restrict, or modify in any way) other rights and remedies under a law to which the Appliances or services relate, including any “non-excludable” statutory guarantees in Australia and New Zealand.
3. Warranty Period:
Subject to these terms and conditions, this warranty continues for in Australia for a period of 24 months and in New Zealand for a period of 24 months, following the date of original purchase of the Appliance.
4. Repair or replace warranty:
During the Warranty Period, Electrolux or its ASC will, at no extra charge if your Appliance is readily accessible for service, without special equipment and subject to these terms and conditions, repair or replace any parts which it considers to be defective. Electrolux may, in its absolute discretion, choose whether the remedy offered for a valid warranty claim is repair or replacement. Electrolux or its ASC may use refurbished parts to repair your Appliance. You agree that any replaced Appliances or parts become the property of Electrolux.
5. Travel and transportation costs:
Subject to clause 7, Electrolux will bear the reasonable cost of transportation, travel and delivery of the Appliance to and from Electrolux or its ASC. Travel and transportation will be arranged by Electrolux as part of any valid warranty claim.
6. Proof of purchase:
is required before you can make a claim under this warranty.
7. Exclusions:
You may not make a claim under this warranty unless the defect claimed is due to faulty or defective parts or workmanship. This warranty does not cover:
- (a) light globes, batteries, filters or similar perishable parts;
(b) parts and Appliances not supplied by Electrolux; - (c) cosmetic damage which does not affect the operation of the Appliance;
- (d) damage to the Appliance caused by:
- (i) negligence or accident;
- (ii) misuse or abuse, including failure to properly maintain or service;
- (iii) improper, negligent or faulty servicing or repair works done by anyone other than an Electrolux authorised repairer or ASC;
- (iv) normal wear and tear;
- (v) power surges, electrical storm damage or incorrect power supply;
- (vi) incomplete or improper installation;
- (vii) incorrect, improper or inappropriate operation;
- (viii)insect or vermin infestation;
- (ix) failure to comply with any additional instructions supplied with the Appliance;
In addition, Electrolux is not liable under this warranty if:
- (a) the Appliance has been, or Electrolux reasonably believes that the Appliance has been, used for purposes other than those for which the Appliance was intended, including where the Appliance has been used for any non-domestic purpose;
- (b) the Appliance is modified without authority from Electrolux in writing;
- (c) the Appliance’s serial number or warranty seal has been removed or defaced.
8. How to claim under this warranty:
To enquire about claiming under this warranty, please follow these steps:
- (a) carefully check the operating instructions, user manual and the terms of this warranty;
- (b) have the model and serial number of the Appliance available;
- (c) have the proof of purchase (e.g. an invoice) available;
- (d) telephone the numbers shown below.
9. Australia:
For Appliances and services provided by Electrolux in Australia: Electrolux goods come with guarantees that cannot be excluded under the Australian Consumer Law. You are entitled to a replacement or refund for a major failure and for compensation for any other reasonably foreseeable loss or damage. You are also entitled to have the Appliance repaired or replaced if the Appliance fails to be of acceptable quality and the failure does not amount to a major failure. `Acceptable quality’ and `major failure’ have the same meaning as referred to in the ACL.
10. New Zealand:
For Appliances and services provided by Electrolux in New Zealand, the Appliances come with a guarantee by Electrolux pursuant to the provisions of the Consumer Guarantees Act, the Sale of Goods Act and the Fair Trading Act. Where the Appliance was purchased in New Zealand for commercial purposes the Consumer Guarantee Act does not apply.
11. Confidentiality:
You accept that if you make a warranty claim, Electrolux and its agents including ASC may exchange information in relation to you to enable Electrolux to meet its obligations under this warranty.
Important Notice
Before calling for service, please ensure that the steps listed in clause 8 above have been followed.
AUSTRALIA
ELECTROLUX HOME PRODUCTS
163 O’Riordan Street, Mascot, NSW 2020
vintec.com.au
FOR SERVICE or to find the address of your nearest authorised service centre in Australia PLEASE CALL 1800 771 776 For the cost of a local call (Australia only)
FOR ACCESSORIES PLEASE CALL 1800 666 778 For the cost of a local call (Australia only) or visit www.vintecclub.com
NEW ZEALAND
ELECTROLUX (NZ) Limited
3-5 Niall Burgess Road, Mount, Wellington
vintec.co.nz
FOR SERVICE or to find the address of your nearest authorised service centre in New Zealand PLEASE CALL 0800 550 020 (New Zealand only)
FOR ACCESSORIES PLEASE CALL 0800 550 020 (New Zealand only) or visit www.vintecclub.com
Disposal
Information for Users on Collection and Disposal of Old Equipment and used Batteries
These symbols on the products, packaging, and/or accompanying documents mean that used electrical and electronic products and batteries should not be mixed with general household waste. For proper treatment, recovery and recycling of old products and used batteries, please take them to applicable collection points, in accordance with your national legislation and the Directives 2012/19/EU and 2006/66/EC.
By disposing of these products and batteries correctly, you will help to save valuable resources and prevent any potential negative effects on human health and the environment which could otherwise arise from inappropriate waste handling.
For more information about collection and recycling of old products and batteries, please contact your local municipality, your waste disposal service or the point of sale where you purchased the items.
Penalties may be applicable for incorrect disposal of this waste, in accordance with national legislation.
For business users in the European Union.
If you wish to discard electrical and electronic equipment, please contact your dealer or supplier for further information.
Information on Disposal in other Countries outside the European Union
These symbols are only valid in the European Union. If you wish to discard this product, please contact your local authorities or dealer and ask for the correct method of disposal.
Note for the battery symbol:
This symbol might be used in combination with a chemical symbol. In this case it complies with the requirement set by the Directive for the chemical involved.

Service and support
In the rare event that your Vintec cabinet does not perform to your satisfaction, contact our dedicated support team:
1800 771 776
[email protected]
Vintec. We are part of the Electrolux Family. To add a touch of professional inspiration to your home, visit electrolux.com.au
Stay in touch and share your user experience by following us:

©2020 Electrolux Home Products Ply Ltd.ABN 51004762 341
8120869-03 apr 09



















