TREND TP20017AB Acclaim 20 Light Island

INSTALLATION INSTRUCTIONS
Please read carefully and save these instructions, as you may need them at a later date.
CAUTION
GENERAL
All electrical connections must be in accordance with the local and National Electrical Codes (N.E.C.) standards. If you are unfamiliar with proper electrical wiring connections obtain the services of a qualified electrician.
Remove the fixture and the mounting package from the box and make sure that no parts are missing by referencing the illustrations on the installation instructions.
WARNING: Risk of Fire. Consult a qualified electrician to ensure the correct branch circuit conductor.
Min 90ºC supply conductors.
Turn off the main power at the circuit breaker before installing the fixture, in order to prevent possible shock.
ASSEMBLY AND INSTALLATION
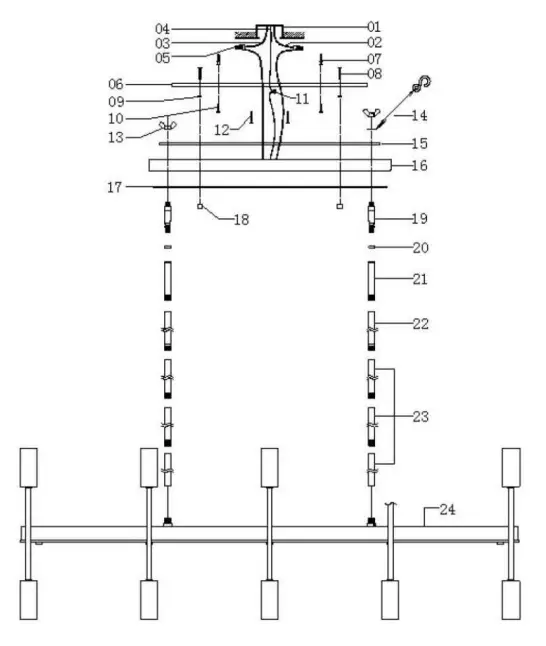
- Put reinforce plate (15)(17) against canopy (16), then put swivel (19) through the holes on canopy (16) and secure with lock nuts (13).
- Choose your desired length of stems (21)(22)(23), and then pass the power supply cord and ground wire through stems (21)(22)(23), swivel (19), canopy (16), and lock nuts (13).
- Connect stems (21)(22)(23) one by one, then attach the lower end of the stem (23) onto the lamp body (24) and the upper end of the stem (21) into the swivel (19).
- Drill two holes in the ceiling and make sure the hole distance will match to holes on the mounting bar (06).
- Place anchors (07) into pre-drilled holes.
- Thread canopy screws (08) into the mounting bar(06).
- Attach mounting bar (06) to outlet box (01) with box screws (12), and thread mounting screws (10) into anchors (07).
- Make a wire connection with white wire (02) and black wire (03). Use wire connectors (05) to secure the connections. Secure ground wire (04) and ground wire from the fixture to the mounting bar (06) with ground screw(11).
- Attach the canopy(16) against the outlet box(01) and secure it with the ball nuts (18).
- Install bulbs (not included).
INSTALLATION IS NOW COMPLETE
- OUTLET BOX
- WHITE WIRE
- BLACK WIRE
- GROUND WIRE
- WIRE CONNECTORS
- MOUNTING BAR
- ANCHORS
- CANOPY SCREW
- HEX NUT
- MOUNTING SCREW
- ROUND SCREW
- BOX SCREW
- LOCK NUTS
- SAFETY CABEL W/ HOOK
- REINFORCING PLATE
- CANOPY
- REINFORCING PLATE
- BALL NUTS
- SWIVEL
- WASHER
- TEM (L3’’)
- STEM (L6’’)
- STEM (L12’’)
- LAMP BODY





















