HiKOKI N 14DSL Cordless Staple Gun Tacker






- Rechargeable battery
- Latch Schnapper
- Battery cover
- Terminals
- Ventilation holes
- Push D
- Pull out
- Handle Griff
- Pilot lamp
- Trigger
- Lock lever
- Lock position
- Free position
- Push lever
- Staple
- Magazine
- Stop lever
- Adjuster
- Sink
- Rise
- Proper
- Too sink
- Too rise
- Screwdriver
- Screw
- Hook Haken Crochet
- Groove Nut Gorge
- Blade guide
- Slotted screwdriver
- Micro switch
Symbols
WARNING
The following show symbols used for the machine. Be sure that you understand their meaning before use.
To reduce the risk of injury, user must read instruction manual.
Failure to follow the warnings and instructions may result in electric shock, fi re and/ or serious injury.
Operators and others in work area must wear safety glasses with side shields.
Only for EU countries
Do not dispose of electric tools together with household waste material! In observance of European Directive 2012/19/EU on waste electrical and electronic equipment and its implementation in accordance with national law, electric tools that have reached the end of their life must be collected separately and returned to an environmentally compatible recycling facility.
(Original instructions)
GENERAL POWER TOOL SAFETY WARNINGS
WARNING Read all safety warnings and all instructions. Failure to follow the warnings and instructions may result in electric shock, fire and/or serious injury.
Save all warnings and instructions for future reference. The term “power tool” in the warnings refers to your mains-operated (corded) power tool or battery-operated (cordless) power tool.
Work area safety
- Keep work area clean and well lit. Cluttered or dark areas invite accidents.
- Do not operate power tools in explosive atmospheres, such as in the presence of flammable liquids, gases or dust. Power tools create sparks which may ignite the dust or fumes.
- Keep children and bystanders away while operating a power tool. Distractions can cause you to lose control.
Electrical safety
- Power tool plugs must match the outlet. Never modify the plug in any way. Do not use any adapter plugs with earthed (grounded) power tools. Unmodified plugs and matching outlets will reduce risk of electric shock.
- Avoid body contact with earthed or grounded surfaces, such as pipes, radiators, ranges and refrigerators. There is an increased risk of electric shock if your body is earthed or grounded.
- Do not expose power tools to rain or wet conditions. Water entering a power tool will increase the risk of electric shock.
- Do not abuse the cord. Never use the cord for carrying, pulling or unplugging the power tool. Keep cord away from heat, oil, sharp edges or moving parts. Damaged or entangled cords increase the risk of electric shock.
- When operating a power tool outdoors, use an extension cord suitable for outdoor use. Use of a cord suitable for outdoor use reduces the risk of electric shock.
- If operating a power tool in a damp location is unavoidable, use a residual current device (RCD) protected supply. Use of an RCD reduces the risk of electric shock.
Personal safety
- Stay alert, watch what you are doing and use common sense when operating a power tool. Do not use a power tool while you are tired or under the influence of drugs, alcohol or medication. A moment of inattention while operating power tools may result in serious personal injury.
- Use personal protective equipment. Always wear eye protection. Protective equipment such as dust mask, non-skid safety shoes, hard hat, or hearing protection used for appropriate conditions will reduce personal injuries.
- Prevent unintentional starting. Ensure the switch is in the off position before connecting to power source and/or battery pack, picking up or carrying the tool. Carrying power tools with your finger on the switch or energizing power tools that have the switch on invites accidents.
- Remove any adjusting key or wrench before turning the power tool on. A wrench or a key left attached to a rotating part of the power tool may result in personal injury.
- Do not overreach. Keep proper footing and balance at all times. This enables better control of the power tool in unexpected situations.
- Dress properly. Do not wear loose clothing or jewelry. Keep your hair, clothing and gloves away from moving parts. Loose clothes, jewelry or long hair can be caught in moving parts.
- If devices are provided for the connection of dust extraction and collection facilities, ensure these are connected and properly used. Use of dust collection can reduce dust-related hazards.
Power tool use and care
- Do not force the power tool. Use the correct power tool for your application. The correct power tool will do the job better and safer at the rate for which it was designed.
- Do not use the power tool if the switch does not turn it on and off. Any power tool that cannot be controlled with the switch is dangerous and must be repaired.
- Disconnect the plug from the power source and/or the battery pack from the power tool before making any adjustments, changing accessories, or storing power tools. Such preventive safety measures reduce the risk of starting the power tool accidentally.
- Store idle power tools out of the reach of children and do not allow persons unfamiliar with the power tool or these instructions to operate the power tool. Power tools are dangerous in the hands of untrained users.
- Maintain power tools. Check for misalignment or binding of moving parts, breakage of parts and any other condition that may affect the power tool’s operation. If damaged, have the power tool repaired before use. Many accidents are caused by poorly maintained power tools. f) Keep cutting tools sharp and clean. Properly maintained cutting tools with sharp cutting edges are less likely to bind and are easier to control.
- Use the power tool, accessories and tool bits etc. in accordance with these instructions, taking into account the working conditions and the work to be performed. Use of the power tool for operations different from those intended could result in a hazardous situation.
Battery tool use and care
- Recharge only with the charger specified by the manufacturer. A charger that is suitable for one type of battery pack may create a risk of fire when used with another battery pack.
- Use power tools only with specifically 3. Always wear eye protection (protective goggles). designated battery packs. When operating the power tool, always wear eye Use of any other battery packs may create a risk of injury and fire.
- When battery pack is not in use, keep it away from other metal objects like paper clips, coins, keys, nails, screws, or other small metal protection, and ensure that surrounding people wear eye protection too. The possibility of fragments of staples or staples that were not properly hit entering the eye is a threat to sight. Eye protection can be bought at any hardware objects that can make a connection from one terminal to another. store. Always wear eye protection while operating this tool. Use either eye protection or a wide vision mask Shorting the battery terminals together may cause burns or a fire.
- Under abusive conditions, liquid may be ejected from the battery; avoid contact. If contact accidentally occurs, flush with water. If over prescription glasses. Employers should always enforce the use of eye protection equipment.
Protect your ears and head
When engaged in stapling work please wear ear liquid contacts eyes, additionally seek medical help. mufflers and head protection. Also, depending on condition, ensure that surrounding people also wear Liquid ejected from the battery may cause irritation ear mufflers and head protection. or burns.
Service
- Have your power tool serviced by a qualified repair person using only identical replacement parts. This will ensure that the safety of the power tool is maintained.
PRECAUTION Keep children and infirm persons away. When not in use, tools should be stored out of reach of children and infirm persons.
CORDLESS STAPLER SAFETY WARNINGS
- Always assume that the tool contains fasteners. Careless handling of the stapler can result in unexpected firing of fasteners and personal injury.
- Do not point the tool towards yourself or anyone nearby.
Unexpected triggering will discharge the fastener causing an injury. - Do not actuate the tool unless the tool is placed firmly against the workpiece.
If the tool is not contact with the workpiece, the fastener may be deflected away from your target. - Disconnect the tool from the power source when the fastener jams in the tool.
While removing a jammed fastener, the stapler may be accidentally activated if it is plugged in. - Use caution while removing a jammed fastener. The mechanism may be under compression and the fastener may be forcefully discharged while attempting to free a jammed condition.
- Do not use this stapler for fastening electrical cables.
It is not designed for electric cable installation and may damage the insulation of electric cables thereby causing electric shock or fi re hazards.
PRECAUTIONS ON USING CORDLESS STAPLER
- Safe operation through correct usage.
This tool was designed for driving staples into wood and similar materials. Use it for its intended purpose only. - Be careful of ignition and explosions.
Since sparks may fl y during stapling, it is dangerous to use this tool near lacquer, paint, benzine, thinner, gasoline, gas, adhesives and similar infl ammable substances as they may ignite or explode. Under no circumstances should this tool therefore be used in the vicinity of such infl ammable material. - Always wear eye protection (protective goggles). When operating the power tool, always wear eye protection, and ensure that surrounding people wear eye protection too.
The possibility of fragments of staples or staples that were not properly hit entering the eye is a threat to sight. Eye protection can be bought at any hardware store. Always wear eye protection while operating this tool. Use either eye protection or a wide vision mask over prescription glasses.
Employers should always enforce the use of eye protection equipment. - Protect your ears and head.
When engaged in stapling work please wear ear mufflers and head protection. Also, depending on condition, ensure that surrounding people also wear ear mufflers and head protection. - Pay attention to those working close to you.
It would be very dangerous if staples that were not properly driven in should hit other people. Therefore, always pay attention to the safety of the people around you when using this tool. Always make sure that nobody’s body, hands or feet are close to the staple outlet. - Never point the staple outlet towards people. Always assume the tool contains fasteners.
f the staple outlet is pointed towards people, serious accidents may be caused if you mistakenly discharge the tool. When connecting and check disconnecting the battery, during staple loading or similar operations, be sure the staple outlet is not pointed towards anyone (including yourself). Even when no staples are loaded at all, it is dangerous to discharge the tool while pointing it at someone, so never attempt to do so. No horseplay. Respect the tool as a working implement. - Before using the power tool, check the push lever. Before using the power tool, make sure to check that the push lever operate properly. Without staples loaded into the power tool, connect the battery and check the following. If the sound of operations occurs this indicates a fault, so in such a case do not use the power tool until it has been inspected and repaired.
- If merely pulling the trigger causes operating sound of drive bit movement occur, the power tool is faulty.
- If merely pushing the push lever against the material to be stapled causes the sound of drive bit movement to occur, the power tool is faulty. Furthermore, with regard to the push lever, please note that it must never be modified or removed.
- Use specified staples only.
Never use staples other than those specified and described in these instructions. - Do not carelessly place your finger on the trigger. Do not place your finger on the trigger except when actually stapling. If you carry this tool or hand it to someone while having your finger on the trigger, you may inadvertently discharge a staple and thus cause an accident.
- Completely Close the blade guide and do not open it during operation.
If stapling is attempted when the blade guide is open, staples will not be driven into the timber, and there is a risk of dangerous discharge. - Press the staple outlet firmly against the material to be stapled.
When driving in staples, press the staple outlet firmly against the material to be stapled. If the outlet is not applied properly, the staples may rebound. - Keep hands and feet away from the fi ring head when using.
It is very dangerous for a staple to hit the hands or feet by mistake. - Beware of the tool’s kickback.
Do not approach the top of the tool with your head etc. during operation. This is dangerous because the tool may recoil violently if the staple currently being driven in comes into contact with a previous staple or a knot in the wood. - Take care when stapling thin boards or the corners of wood.
When stapling thin boards, the staples may pass right through, as may also be the case when stapling the corners of wood due to deviation of the staples. In such cases, always make sure that there is no one (and nobody’s hands or feet; etc.) behind the thin board or next to the wood you are going to staple. - Simultaneous stamping on both sides of the same wall is dangerous.
Under no circumstances should stapling be performed on both sides of a wall at the same time. This would be very dangerous since the staples might pass through the wall and thus cause injuries. - Do not use the power tool on scaffoldings, ladders.
The power tool shall not be used for specific application for example:- When changing one driving location to another involves the use of scafforldings, stairs, ladders or ladder alike constructions, e.g. roof laths,
- Closing boxes or crates,
- Fit ting transportation safety systems e.g. on vehicles and wagons
- Do not disconnect the battery with your finger on the trigger.
If you disconnect the battery with your finger on the trigger, the next time the battery is connected, there is a danger that the power tool will fi re a staple spontaneously, or operate incorrectly. - Disconnect the battery and take out any staples left in the magazine after use.
Disconnect tool from battery before doing tool maintenance, cleaning a jammed fastener, leaving work area, moving tool to another location, or after use. It is very dangerous for a staple to be fired by mistake. - When removing a staple which has become stuck, make sure to first of all disconnect the battery. When removing a staple which has become stuck in the staple outlet, first of all make sure to disconnect the battery.
Accidental fi ring of the staple could be very dangerous. - To avoid hazards caused by falling staples, never open the magazine with the device facing downward while loading staples.
- When cleaning the power tool, do not use gasoline or other inflammable liquids.
If vapor from an inflammable liquid gets into the power tool, there is a danger that sparks produced when stapling etc. may cause an explosion. - Always charge the battery at a temperature of 0 – 40°C.
A temperature of less than 0°C will result in over charging which is dangerous. The battery cannot be charged at a temperature greater than 40°C.
The most suitable temperature for charging is that of 20 – 25°C. - Do not use the charger continuously.
When one charging is completed, leave the charger for about 15 minutes before the next charging of battery. - Do not allow foreign matter to enter the hole for connecting the rechargeable battery.
- Never disassemble the rechargeable battery and charger.
- Never short-circuit the rechargeable battery.
Short-circuiting the battery will cause a great electric current and overheat. It results in burn or damage to the battery. - Do not dispose of the battery in fi re.
If the battery burnt, it may explode. - Do not insert object into the air ventilation slots of the charger.
Inserting metal objects or inflammables into the charger air ventilation slots will result in electrical shock hazard or damaged charger. - Bring the battery to the shop from which it was purchased as soon as the post-charging battery life becomes too short for practical use. Do not dispose of the exhausted battery.
- Using an exhausted battery will damage the charger.
CAUTION ON LITHIUM-ION BATTERY
To extend the lifetime, the lithium-ion battery equips with the protection function to stop the output.
In the cases of 1 to 3 described below, when using this product, even if you are pulling the switch, the motor may stop. This is not the trouble but the result of protection function.
- When the battery power remaining runs out, the motor stops.
In such case, charge it up immediately. - If the tool is overloaded, the motor may stop. In this case, release the switch of tool and eliminate causes of overloading. After that, you can use it again.
- If the battery is overheated under overload work, the battery power may stop.
In this case, stop using the battery and let the battery cool. After that, you can use it again.
Furthermore, please heed the following warning and caution.
WARNING
In order to prevent any battery leakage, heat generation, smoke emission, explosion and ignition beforehand, please be sure to heed the following precautions.
- Make sure that swarf and dust do not collect on the battery.
- During work make sure that swarf and dust do not fall on the battery.
- Make sure that any swarf and dust falling on the power tool during work do not collect on the battery.
- Do not store an unused battery in a location exposed to swarf and dust.
- Before storing a battery, remove any swarf and dust that may adhere to it and do not store it together with metal parts (screws, nails, etc.).
- During work make sure that swarf and dust do not fall on the battery.
- Make sure that any swarf and dust falling on the power tool during work do not collect on the battery.
- Do not store an unused battery in a location exposed to swarf and dust.
- Before storing a battery, remove any swarf and dust that may adhere to it and do not store it together with metal parts (screws, nails, etc.).
- Do not pierce battery with a sharp object such as a nail, strike with a hammer, step on, throw or subject the battery to severe physical shock.
- Do not use an apparently damaged or deformed battery.
- Do not use the battery in reverse polarity.
- Do not connect directly to an electrical outlets or car cigarette lighter sockets.
- Do not use the battery for a purpose other than those specified.
- If the battery charging fails to complete even when a specified recharging time has elapsed, immediately stop further recharging.
- Do not put or subject the battery to high temperatures or high pressure such as into a microwave oven, dryer, or high pressure container.
- Keep away from fi re immediately when leakage or foul odor are detected.
- Do not use in a location where strong static electricity generates.
- If there is battery leakage, foul odor, heat generated, discolored or deformed, or in any way appears abnormal during use, recharging or storage, immediately remove it from the equipment or battery charger, and stop use.
- Do not immerse the battery or allow any fluids to fl ow inside. Conductive liquid ingress, such as water, can cause damage resulting in fire or explosion. Store your battery in a cool, dry place, away from combustible and flammable items. Corrosive gas atmospheres must be avoided.
CAUTION
- If liquid leaking from the battery gets into your eyes, do not rub your eyes and wash them well with fresh clean water such as tap water and contact a doctor immediately.
- If left untreated, the liquid may cause eye-problems. If liquid leaks onto your skin or clothes, wash well with clean water such as tap water immediately.
There is a possibility that this can cause skin irritation. - If you fi nd rust, foul odor, overheating, discolor, deformation, and/or other irregularities when using the battery for the first time, do not use and return it to your supplier or vendor.
WARNING
If an electrically conductive foreign object enters the terminals of the lithium ion battery, a short-circuit may occur resulting in the risk of fire. Please observe the following matters when storing the battery.
- Do not place electrically conductive cuttings, nails, steel wire, copper wire or other wire in the storage case.
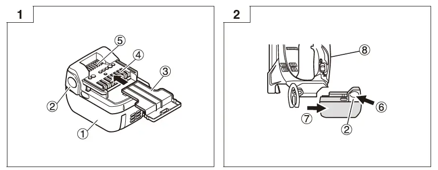
- To prevent shorting from occurring, load the battery in the tool or insert securely the battery cover for storing until the ventilator is not seen (Fig. 1).
REGARDING LITHIUM-ION BATTERY TRANSPORTATION
When transporting a lithium-ion battery, please observe the following precautions.
WARNING
Notify the transporting company that a package contains a lithium-ion battery, inform the company of its power output and follow the instructions of the transportation company when arranging transport.
Lithium-ion batteries that exceed a power output of 100 Wh are considered to be in the freight classification of Dangerous Goods and will require special application procedures.
For transportation abroad, you must comply with international law and the rules and regulations of the destination country.
SPECIFICATIONS
| POWER TOOL | |||
| Model | N14DSL | N18DSL | |
| Voltage | 14.4 V | 18 V | |
| Applicable staples | Ref. Fig. | ||
| Amount of loadable staples | 150 staples | ||
| Weight* | 1.4 kg (BSL1430C) | 1.5 kg (BSL1830C) | |
Weight according to EPTA-Procedure 01/2003
STAPLE SELECTION
The staples indicated in the chart below can be used with this stapler.
150 staples are bonded together to form a strip. Contact the dealer from which you purchased the stapler for details on obtaining the staples.
NOTE: Only staples manufactured by HiKOKI may be used. Staples other than those manufactured by HiKOKI may cause jamming and subsequent malfunctions.
| Shape | A | B | C | D |
![]()
| 12 | 0.5 | 0.7 | 6 |
| 10 | ||||
| 13 |
STANDARD ACCESSORIES
In addition to the main unit (1), the package contains the accessories listed in the table below.
| NN | |
| Eye protector | 1 |
Standard accessories are subject to change without notice.
OPTIONAL ACCESSORIES
(Sold separately)
- Battery

- Charger
- Battery cover
Optional accessories are subject to change without notice.
APPLICATION
- Securing the moisture-permeable waterproof ng sheet in position
- Securing the heat insulation material in position
BATTERY REMOVAL/INSTALLATION
- Battery removal
Hold the handle tightly and push the battery latch to remove the battery (Fig. 2).
CAUTION: Never short-circuit the battery. - Battery installation
Insert the battery while observing its polarities (Fig. 2).
CHARGING
Battery and battery charger are not included with this product.
For rechargeable batteries, please charge in according to the handling instructions of the charger which you are using. (Fig. 3)
BEFORE USE
- Preparing the Staples and Performing Safety Inspections
WARNING- Do not use the product near flammable liquids or gases.
- Do not place the product near children or other non qualified people.
- Run a full check to make sure that no screws are loose.
- Check to make sure that there are no damaged or missing parts, or malfunctioning parts owing to rust, etc.
Prepare staples that match the job at hand.
Refer to MAINTENANCE AND INSPECTION and carry out safety inspections without fail.
- Trigger Lock Mechanism (Fig. 4)
WARNING
Make sure the trigger is locked when not fi ring staples. This stapler has a lock mechanism to prevent the staples from being fi red.
Set the lock lever at the position to lock the trigger. Slide the lock lever to the position when the stapler is to be used, and to the position when it is not in use. - Checking Push Lever Operations (Fig. 5)
WARNING
Always make sure the trigger is locked and the battery removed from the power tool when checking push lever operations.
Check to make sure the push lever slides smoothly when operated.
Clean the sliding area on the push lever if it doesn’t slide smoothly. - Handling the Staples
NOTE- Handle the staples carefully.
There are cases in which the joined staple strips may be broken if they are dropped, and using them in this state may result in defective staple loading, leading to blank fi ring or staple jams. Do not use joined staple strips that are broken. - Do not leave the staples outdoors or in direct sunlight for long periods of time.
Failure to observe this may result in rusting or defects in the joined staple strips. Use the staple packaging or other materials for storage purposes.
- Handle the staples carefully.
- Loading the Staples (Fig. 6)
WARNING
Lock the trigger and remove the battery from the stapler when loading or removing staples.- Press the stop lever and slide the magazine backward.
- Place the staples in the magazine with the prongs facing upward.
- Slide the magazine back into position until the stop lever locks into place.
NOTE - Close the magazine gently.
Using excessive force to close the magazine may result in the joined staple strips being deformed, preventing the magazine from being closed. - Check the magazine blade guide if it won’t close smoothly.
HOW TO USE THE CORDLESS STAPLER
There are two ways to discharge staples: Single Shot, in which the push lever is placed against the area where the staple is to be fi red first and the trigger then pulled, and Continual Shot, in which the trigger is pulled first and the push lever then placed against the relevant area.
The single-shot mode places the emphasis on finishing and is used to ensure that the staple is driven into the required place, while the continual-shot mode is used to drive in staples repeatedly with the trigger constantly being pulled.
The power tool is equipped with a mechanism to alternate between single-shot and continual-shot operations to ensure that work is carried out in the most efficient way.
Safety Devices
The power tool has been designed so that staples cannot be fired unless both the push lever and the trigger are simultaneously operated. In other words, staples will not be discharged when only the trigger is pulled, or when only the push lever (discharge outlet) is placed against the required area. This is to prevent the staples from being discharged when the trigger is accidentally pulled or when the push lever (discharge outlet) is accidently placed against something.
- Single-shot Stapling (Fig. 7)
- Make sure the discharge outlet is firmly placed against the place where the staple is to be discharged.
- Pull the trigger to fi re the staple.
- Withdraw the power tool and release the trigger.
NOTE - Use the single-shot mode to accurately staple the required location.
- There are cases in which subsequent stapling will not be possible if the trigger is released halfway through being pulled. To correct this, remove the battery and then replace it.
- Continual-shot Stapling (Fig. 8)
First pull the trigger then place the push lever (discharge outlet) against the required area to repeatedly fi re staples.- First pull the trigger.
- Place the push lever (discharge outlet) against the required area to fi re the staples.
- Withdraw the stapler with the trigger pressed, and then repeat procedure from step (2) to repeatedly fire staples.
Anti Blank Firing Mechanism
The stapler is equipped with an anti blank fi ring mechanism to prevent blank fi ring when the staples run out.
The stapler will cease to operate when eight or fewer staples remain. Approximately eight staples will remain after fi ring a strip of staples, but replenishing the magazine with the same staples will enable stapling to be continued.
- Stapling procedures
WARNING- Never point the discharge outlet at people.
- Make sure that work is carried out with the discharge outlet well away from faces, hands, feet and other parts of the body.
- Do not fi re staples directly onto existing staples.
- Remove the battery when the stapler is not being used and during work breaks.
- When work has been completed, remove the battery, and then remove the remaining staples.
- When pulling the trigger, make sure that other fingers are not touching the push lever.
Failure to observe this may result in injury.
NOTE - There are cases in which operations will become sluggish if used at low ambient temperatures.
- There are cases in which the staples will bend or cracks will appear in the stapled material depending on the hardness, thickness and combinations of the material.
Test the stapling operability before commencing full use.- Locking the trigger and removing the battery Remove the battery from the stapler to prevent unexpected operations. (Fig. 2)
- Loading staples
Load staples of a size appropriate for the job in hand into the magazine. (Fig. 6) - Attaching the battery
Place the battery onto the stapler and press on it until it clicks into place. - Releasing the lever lock
Slide the lock lever until the lock has been released. (Fig. 4) - Firing staples
Adjust the depth of the staples with the adjuster. (Fig. 9) - Finishing work
When work has been finished, lock the trigger and remove the battery, and then remove all of the staples
from the magazine.
- How to adjust the stapling depth (Fig. 9)
WARNING
When adjusting staple depth, aim the discharge outlet downwards and check that it is not pointing at faces, hands, feet or other parts of the body fi rst of all, and then lock the trigger. Fire a test staple, and if it is too deep adjust the depth by rotating the adjuster to drive it shallower. If the staple is not driven in deep enough, rotate the adjuster to drive it deeper. The adjuster rotation modifies the depth by up to 2 mm. - Using the hook
The hook is used to hang up the power tool to your waist belt while working.
CAUTION- When using the hook, hang up the power tool firmly not to drop accidentally. If the power tool is dropped, it may lead to an accident.
- Make sure the trigger has been locked and the battery removed when using the hook.
- Install securely the hook. Unless the hook is securely installed, it may cause an injury while using.
- Removing the hook.
Remove the screws fixing the hook with Philips screw driver. (Fig. 10) - Replacing the hook and tightening the screws.
Install securely the hook in the groove of power tool and tighten the screws to fi x the hook fi rmly. (Fig. 11)
- Removing the hook.
MAINTENANCE AND INSPECTION
WARNING
Make sure the trigger has been locked and the battery removed before carrying out inspections and maintenance. Also make sure that the recharger has been unplugged.
- Removing Staple Jams (Fig. 12)
- Remove the battery from the power tool.
- Press the stop lever, slide open the magazine and remove all staples.
- Remove adhesive of staples, fragments and splinters that have collected in the blade guide with a flathead screwdriver or similar implement.
- Check to ascertain that the push lever works smoothly.
NOTE: After removing staple jams, reload the staples and fi re a test staple.
- Magazine Inspections
The inside of the magazine needs to be cleaned from time to time. Slide the magazine open and remove adhesive of staples, fragments and splinters that have collected.
NOTE
Dirt inside the magazine may result in the operations of the staple feeder becoming sluggish, which may cause blank fi ring. - Inspecting the mounting screws
Regularly inspect all mounting screws and ensure that they are properly tightened. Should any of the screws be loose, retighten them immediately. Failure to do so may result in serious hazard. - Cleaning of the outside
When the power tool is stained, wipe with a soft dry cloth or a cloth moistened with soapy water. Do not use chloric solvents, gasoline or paint thinner, as they melt plastics. - Storage
Store the power tool in a place in which the temperature is less than 40°C, and out of reach of children.
NOTE
Storing lithium-ion batteries.
Make sure the lithium-ion batteries have been fully charged before storing them. Prolonged storage (3 months or more) of batteries with a low charge may result in performance deterioration, significantly reducing battery usage time or rendering the batteries incapable of holding a charge. However, significantly reduced battery usage time may be recovered by repeatedly charging and using the batteries two to five times. If the battery usage time is extremely short despite repeated charging and use, consider the batteries dead and purchase new batteries.
CAUTION: In the operation and maintenance of power tools, the safety regulations and standards prescribed in each country must be observed.
Important notice on the batteries for the HiKOKI cordless power tools
Please always use one of our designated genuine batteries. We cannot guarantee the safety and performance of our cordless power tool when used with batteries other than these designated by us, or when the battery is disassembled and modified (such as disassembly and replacement of cells or other internal parts).
GUARANTEE
We guarantee HiKOKI Power Tools in accordance with statutory/country specific regulation. This guarantee does not cover defects or damage due to misuse, abuse, or normal wear and tear. In case of complaint, please send the Power Tool, dismantled, with the GUARANTEE CERTIFICATE found at the end of this Handling instruction, to a HiKOKI Authorized Service Center.
Information concerning airborne noise and vibration
The measured values were determined according to EN60745 and declared in accordance with ISO 4871.
Measured A-weighted sound power level: 89 dB (A) Measured A-weighted sound pressure level: 78 dB (A) Uncertainty KpA: 3 dB (A)
Wear hearing protection.
Vibration total values (trial vector sum) determined according to EN60745.
The length of the staples was 13 mm:
Vibration emission value ah = 2.4 m/s²
Uncertainty K = 1.5 m/s²
The declared vibration total value has been measured in accordance with a standard test method and may be used for comparing one tool with another.
It may also be used in a preliminary assessment of exposure.
WARNING
- The vibration emission during actual use of the power tool can differ from the declared total value depending on the ways in which the tool is used.
- Identify safety measures to protect the operator that are based on an estimation of exposure in the actual conditions of use (taking account of all parts of the operating cycle such as the times when the tool is switched off and when it is running idle in addition to the trigger time).
NOTE
Due to HiKOKI’s continuing program of research and development, the specifications herein are subject to change without prior notice.
TROUBLESHOOTING
Use the inspections in the table below if the tool does not operate normally. If this does not remedy the problem, consult your dealer or the HiKOKI Authorized Service Center.
| Symptom | Possible cause | Remedy | |
| Tool | The stapler won’t fire staples. | The battery has run out of power. | Recharge the battery with the recharger. |
| The battery has not been attached correctly. | Remove the battery and check to see if foreign matter exists in the stapler’s battery insertion bed. Also check to make sure that the battery terminals are not soiled. Press down on the battery until it clicks into place. | ||
| The trigger was released halfway through being pulled in the single- shot mode. | Remove the battery from the stapler, and then replace it. | ||
| Power tool abnormalities. | Contact your dealer or the HiKOKI Authorized Service Center. | ||
| Staples are not fully driven in. | The material is too hard. | There are cases in which hard materials cannot be stapled correctly. | |
| The stapler is recoiling. | The discharge outlet is not being pressed firmly enough against the area where the staple is to be drive. | ||
| The driver blade is worn down. | Contact your dealer or the HiKOKI Authorized Service Center. | ||
| Blank firing. | The anti-blank firing mechanism is not working. | Clean all dirt or foreign matter from around the micro switch inside the magazine. | |
| Staples are jammed nearby the discharge outlet. | Clean all jammed staples or dirt, etc. | ||
| The driver blade is worn down. | Contact your dealer or the HiKOKI Authorized Service Center. | ||
| Feeder operations are sluggish. | Clean all dirt or foreign matter from the inside of the magazine. |




















