Wyze WWDPC v2 Pet Camera Pan/Tilt Indoor Security Installation Guide
IN THE BOX
- Wyze Video Doorbell Pro × 1
- Wyze Chime Pro × 1
- Back Plate For Screw × 1
- Back Plate For 3M Tape × 1
- 3M Tape × 1
- T8 Screwdriver × 1
- Corner Kit × 1
- Wire Nuts × 3
- Long Screws × 3
- Short Screws × 3
- Extension Wires × 2
- Expansion Tubes × 3
- USB Charging Cable × 1
- Quick Start Guide × 1
Product Description
- Back Plate For Screw

- Back Plate For 3M (Installed on doorbell back)

- Corner Kit

- Wedge Kit (optional)

- Doorbell Front

- Doorbell Back

- Wyze Chime Pro (Base)

Where to place your doorbell and chime

- The ideal location to place the chime is half-way between your router and your doobell.
- Heavy-duty walls and floors made of materials like concrete, brick or metal can weaken your doorbell signal strength.
Warning:
Do not use the battery near a heat source, Do not use the battery near fire or an oven, or in an ambient temperature exceeding 80℃. Over-heat may cause internal short-circuit, heat generation, smoking, deformation or burning.
SETUP
- Download the Wyze app and sign in or create an account.
DOWNLOAD THE APP BY SCANNING THIS QR CODE OR DOWNLOAD DIRECTLY FROM THE APPLE APP STORE OR GOOGLE PLAY


- Open the Wyze app and tap the + plus sign on the top left corner of the Home screen. Tap “Add Device” and then select Wyze Video Doorbell Pro. Follow the instructions to finish installation.
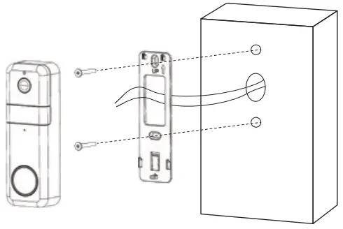
INSTALLATION
- Installing with screws powered by AC wire.

- Installing with screws

- Installing with 3M

Advice: Installation height less than 6.6 feet.
Optional choices for Wedge Kit or Corner Kit users
Use Wedge Kit to change the horizontal angle
- Angle (without Corner kit)

- Angle (with Corner kit)

Use Corner Kit to change the vertical angle
- Angle (without Wedge kit)

- Angle (with Wedge Kit)

LIGHT INDICATIONS
Wyze Video Doorbell Pro
Solid White Light
The device is charging
Solid Blue Light
The device is fully charged
Wyze Chime Pro
Flashing Red Light
Connecting to Doorbell
Flashing Yellow Light
Waiting for Connection
Flashing Blue Light
Connecting to network
Solid Blue Light
Connected
FCC Compliance Statements
This device complies with Part 15 of the FCC Rules. Operation is subject to the following two conditions: (1) this device may not cause harmful interference, and (2) this device must accept any interference received, including interference that may cause undesired operation.
Note: This equipment has been tested and found to comply with the
limits for a Class B digital device, pursuant to Part 15 of the FCC
Rules. These limits are designed to provide reasonable protection
against harmful interference in a residential installation. This equipment generates, uses and can radiate radio frequency energy and, if not installed and used in accordance with the instructions, may cause harmful interference to radio communications. However, there is no guarantee that interference will not occur in a particular installation.
If this equipment does cause harmful interference to radio or television reception, which can be determined by turning the equipment off and on, the user is encouraged to try to correct the interference by one or more of the following measures:
- Reorient or relocate the receiving antenna. le cas.
- Increase the separation between the equipment and receiver.
- Connect the equipment into an outlet on a circuit different from that to which the receiver is connected.
- Consult the dealer or an experienced radio/TV technician for help.
Caution: Changes or modifications not expressly approved by the party responsible for compliance could void the user’s authority to operate the equipment.
This equipment complies with FCC radiation exposure limits set forth for an uncontrolled environment. This equipment should be installed and operated with minimum distance 20cm between the radiator and your body.
ISED Compliance Statements
This device contains licence-exempt transmitter(s)/receiver(s) that comply with Innovation, Science and Economic Development Canada’s licence-exempt RSS(s). Operation is subject to the following two conditions: (1 )This device may not cause interference.(2)This device must accept any interference, including interference that may cause undesired operation of the device.
This equipment complies with IC RSS-102 radiation exposure limits set forth for an uncontrolled environment. This equipment should be installed and operated with minimum distance 20cm between the radiator and your body.
- The device for operation in the band 5150-5250 MHz is only for indoor use to reduce the potential for harmful interference to co-channel mobile satellite systems;
- The maximum antenna gain permitted for devices in the band 5725-5825 MHz shall comply with the e.i.r.p. limits specified for point-to-point and non point-to-point operation as appropriate
NEED HELP?
Contact our support wizards:
https://support.wyze.com
Resources & Support
support.wyze.com
Scan the QR code to learn more




































