
REFERENCE IN-WALL SPEAKERS
R1 | R1SUR | R2 | R2SUR QUICKSTART GUIDE
Box Contents
(1) Quickstart Guide
(1) Reference in-wall speaker (R1, R1SUR, R2, R2SUR)
(1) Speaker cut-out template
Before Installation
- Determine the location of the speaker.
- Perform an obstruction survey using a stud finder to be certain that there are no obstructions.
- Position the included cutout template where the speaker is to be located and pencil an outline on the wall. The cut-out for the R1 and R1CSUR are 7 1/2” x 20 1/2” (191mmx 521mm). The cut-out for the R2 and R2CSUR are 7 1/2” x 33 1/2” (191mm x 851mm).
- Cut the mounting hole using a keyhole or drywall saw and run the speaker wires from the mounting hole to the amplifier location.
NOTE: CONSULT LOCAL BUILDING CODES BEFORE RUNNING SPEAKER WIRES THROUGH WALLS.
Installation
Reference Series speakers feature an integral RotoLock® mounting system for quick installation.
- Strip 1/4” – 1/2” (6mm – 12mm) of insulation from each speaker lead.
- Twist the strands or tin the exposed wire with solder to ensure that there are no stray strands.
NOTE: STRAY STRANDS THAT TOUCH EACH OTHER CAN CAUSE A SHORT-CIRCUIT THAT CAN DAMAGE THE AMPLIFIER/RECEIVER. - The speaker’s terminals are spring-loaded. Push the top of each terminal down to open the connector and insert the exposed wires (see Figure 1).

- The speaker’s positive spring terminal is labeled with a red dot; the negative spring terminal is labeled with a black dot.
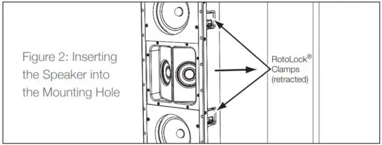
- Make sure all the RotoLock® toggle feet are retracted so that they are tucked within the speaker frame. Insert the speaker into the hole in the wall (see Figure 2).
NOTE: THE ROTOLOCK SYSTEM CAN ACCOMMODATE A WALL MATERIAL THICKNESS OF 1 1/4” (32MM). WITH THE TOGGLE FOOT CAP REMOVED, THE SYSTEM CAN ACCOMMODATE A WALL MATERIAL THICKNESS OF 1 1/8” (28MM). - When installing into double drywall or other thicker wall materials, you may need to remove part of the two-piece toggle feet. Use a small screwdriver to gently release the two locking levers (Figure 3).

- Tighten the screws on the front of the speaker baffle. The RotoLock® toggle feet will automatically rotate into position and begin clamping the speaker (see Figure 4).
When you notice resistance on the screws the speaker has been clamped successfully.
IMPORTANT: ALWAYS USE LOW-TORQUE SETTINGS; NEVER OVER-TIGHTEN. NOTE: ADJUSTING THE TENSION OF THE ROTOLOCK® CLAMPS SO THAT THE SPEAKER FRAME IS FLAT WILL HELP ENSURE THAT THE GRILLE CONTACTS THE WALL ALL THE WAY AROUND THE SPEAKER FOR A PROPER FIT. - The micro-trim grille is held in place by several small, powerful magnets on the speaker frame. Carefully place the grille against the speaker and the magnets will hold it firmly in place. When properly installed, the grille trim should make contact with the wall all the way around the speaker.
©2017 Sonance. All rights reserved. Sonance is a registered trademark of Dana Innovations. Due to continuous product improvement, all features and specifications are subject to change without notice. For the latest Sonance product specification information visit our website: www.sonance.com
SONANCE
• 991 Calle Amanecer
• San Clemente, CA 92673 USA
• Phone: (949) 492-7777
• FAX: (949) 361-5151
• Technical Support: (949) 492-7777
09.20.17 33-7917

NOTE: THE ROTOLOCK SYSTEM CAN ACCOMMODATE A WALL MATERIAL THICKNESS OF 1 1/4” (32MM). WITH THE TOGGLE FOOT CAP REMOVED, THE SYSTEM CAN ACCOMMODATE A WALL MATERIAL THICKNESS OF 1 1/8” (28MM).
IMPORTANT: ALWAYS USE LOW-TORQUE SETTINGS; NEVER OVER-TIGHTEN. NOTE: ADJUSTING THE TENSION OF THE ROTOLOCK® CLAMPS SO THAT THE SPEAKER FRAME IS FLAT WILL HELP ENSURE THAT THE GRILLE CONTACTS THE WALL ALL THE WAY AROUND THE SPEAKER FOR A PROPER FIT.

















