
NDJ-1S/4S digital viscometer
Operation manual
Shanghai HengPing
summay
NDJ – 1 s type (4 s) digital display viscometer is an upgraded version of the traditional pointer type rotary viscometer. This instrument adopts the advanced mechanical design, manufacturing technology, single-chip microcomputer control technology, LED digital tube display, and measurement accuracy; The viscosity meter adopts the simple mode of three keystrokes, a key matching the rotor, a key to adjust speed, a key viscosity value, convenient to use.
This instrument has high sensitivity and reliable test results, is easy to operate, elegant appearance, and other characteristics, and it is an ideal instrument of measuring the absolute viscosity of Newtonian liquid and the apparent viscosity of a non-Newtonian fluid, it can be widely used in oil, paints, plastics, medicine, food, paint, detergent, etc all kinds of fluid viscosity measurement.
Main technical
| Model | NDJ-1S | NDJ-4S |
| Measurement range | 1~1×10 5 mPa.s | 1~2×10 6 mPa.s |
| Rotors | the standard 1-4 rotor,( #0 rotor for testing viscosity below 0.1~10mPa.s | |
| Speed (r/min) | 6 、12 、30 、60 | |
| Stop | When the measurement results are stable, the rotor stop automatically | |
| Precision | ±2% (Newton liquid) | |
| Power supply | AC 220V±10% 50HZ±10% | |
| Working condition | Temperature from 5OC to 35 relatively temperature less than80% | |
| Dimensions | 280×320×390 | |
| Net weight | 4.5Kg | |
Principle of structure
This instrument is a digital display viscometer, by motor through a variable speed drive constant speed rotation of the rotor. When the rotor rotates in the fluid, the fluid effect of viscosity on rotor torque. The greater the viscosity of the liquid, the greater the viscous torque also; On the other hand, the liquid viscosity is smaller, the smaller the viscous torque also. With the effect of viscous torque on the rotor by the sensors pick up, it is concluded that the viscosity of the liquid to be tested after a single chip.
This instrument adopts single-chip technology that can easily set the range (the number and speed), the data of the sensors into the digital processing, and LED digital tube display measurement clearly set the number of rotors, rotational speed, and the viscosity of the liquid being measured values.
The instrument is standard with 4 kinds of rotors (1, 2, 3, 4).
NDJ – 1 s have 4 speeds (6, 12, 30, 60, revolutions per minute), which are composed of 16 kinds of combinations, can measure the determination of the viscosity of the liquid within the range of values.
NDJ – 4 s eight gear speed (0.3, 0.6, 1.5, 3, 6, 12, 30, 60, revolutions per minute), which is composed of 32 kinds of combination, can measure the determination of the viscosity of the liquid within the range of values.
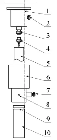
Instrument construction and install
instrument construction
The construction is as follows:
2. installment
- Check the power supply to meet the working requirements; According to the relevant provisions of the state, the ground terminal shall be a reliable grounding line.
- Put the instrument on the table without corrosive gaseous fluid, strong electromagnetic interference, and vibration.
- Screw the column into the hole at the rear of the support stand with the teethed side facing the front of the support stand. Tighten the nut with a wrench to prevent the column from rotating (figure,2)

- Turn the knob of the elevation clamp and check the flexibility and self-locking of the elevation clamp. If it is found to be too loose or too tight, adjust the stop screw on the clamp with a screwdriver. It should be moved up and down freely, but a little tight is preferable to prevent the viscometer from dropping down after it is installed.
- Remove the yellow protective sheath from the shaft (figure,3) top bubble level
- Adjust the leveling screw to keep the instrument level.

Instruction for operating
- Put the fluid to be measured in a breaker or a cylindrical container with its diameter not less than 70mm and control precisely the temperature of the fluid.
- Prepare the fluid to be measured and Control the temperature of the liquid
- Adjust the leveling of the instrument be sure the bubble is in the middle and be sure the instrument is in the working condition.
- Place the protection rack on the instrument and select the proper rotor into connecting worm (Turn right to install, and turn left to remove)
- Rotor Installation screws the selected rotor into the connecting worm (Turn left to install and turn right to remove). Turn the elevation knob, and slowly lower the instrument, the rotor will gradually dip into the fluid to be measured until the fluid surface mark on the rotor is level with the fluid surface, then adjust again the leveling of the instrument.
- After the completion of the above-mentioned procedures, please connect the power and the screen will display as in below. To conduct measurement, please switch on the power of the motor.

| (1) Bottom sleeve (2) Fixing screw to sheath (3) Connector for rotor (4) Connecting nut (5) Number # 0 rotor | (6)Fixing sleeve (7) Fixing screw to external sleeve (8) Red level mark of liquid (9) V-block (10)External measuring sleeve |
- to 0 rotors on the rotor connecting screw rod.
- fixed socket set into the bottom of the instrument the nose under the hood and socket set screw and tight.,
- put outside in test tube (bottom) 20 ~ 25 ml of liquid to be tested
- will try sleeve fixed sleeve and outer barrel screw and tight, tighten the outside must pay attention to try screwing in the cone end of tube fixed screwbarrel within the triangle groove of the upper (can be observed in the side of the round hole test tube triangle groove is located at the center of circular holControl the liquid temperature can be tested after being tested.
- with bottomless, test tube method basic same as above,
7. Measurement
- in the measurement before the rotor speed settings, no..
- method selector rotor and speed unknown viscosity liquid: when the estimate is not measured approximate viscosity liquid, should be regarded as high viscosity. Choose from the rotor (rotor, from high to low) with a small rotor high), slow speed; low viscosity the liquid is chosen the gand from slow to fast speed. On the principle of high viscosity of the liquid (greater trochanter (rotor, fast speed, low). The rotor moment in No.rotor handle.
- rotor set: according to the rotor, rotor, select button to select the required, rotor no. 5, 14, 2, 34, 44 “and 04 rotors, the default is 1#.
- speed settings: according to the rotational speed selection key to switch to the required speed, NDJ-IS speed is divided into 5 files: respectively 6 rpm, 12 rpm, 30 rpm, and 60 rpm speed; NDJ-4S is divided into 8 grades: respectively 0.3 rpm, 0.6 rpm, 1.5 rpm, 3 rpm, 6 rpm, 12 rpm, 30 RPM /Points, 60 rpm.
- measurement of viscosity: when choosing rotor and speed gear, according to the measurement of key, turn the son begins to rotate, the instrument began measuring, the rotation stops viscosity reading the liquid viscosity.
- measurement range: if the instrument viscosity showed lower cubes, description viscosity is shown in the following range of 10%, which should reduce the measurement range, the first general to increase the speed, no change again small rotor; if the instrument Yun viscosity showed on the square, the viscosity
is displayed in the above range 90%, should increase the measurement range, the first general reducing speed, no change of large rotor.
Appendix
1、NDJ-4S
| rotor/speed/full/ scale/r.p.m/mPa.s | 0# | 1# | 2# | 3# | 4# |
| 60 | 10 | 100 | 500 | 2000 | 10000 |
| 30 | 20 | 200 | 1000 | 4000 | 20000 |
| 12 | 50 | 500 | 2500 | 10000 | 50000 |
| 6 | 100 | 1000 | 5000 | 20000 | 100000 |
| 3 | / | 2000 | 10000 | 40000 | 200000 |
| 13 | / | 4000 | 20000 | 80000 | 400000 |
| 0.6 | / | 10000 | 50000 | 200000 | 1000000 |
| 0.3 | / | 20000 | 100000 | 400000 | 2000000 |
2、NDJ-1S
| rotor/speed/full/ scale/r.p.m/mPa.s | 0# | 1# | 2# | 3# | 4# |
| 60 | 10 | 100 | 500 | 2000 | 10000 |
| 30 | 20 | 200 | 1000 | 4000 | 20000 |
| 12 | 50 | 500 | 2500 | 10000 | 50000 |
| 6 | 100 | 1000 | 5000 | 20000 | 100000 |
3、Packing
| No | name | quality | standard | Choose and |
| 1 | Digital display viscometer host | 1 | ||
| 2 | 1 ∼4 rotor | 1 | ||
| 3 | power adapter | 1 | ||
| 4 | protection frame | 1 | ||
| 5 | the base | 1 | ||
| 6 | rigid fall pilfar | 1 | ||
| 7 | Instruction for use | 1 | ||
| 8 | Certificate of approval | 1 | ||
| 9 | warranty | 1 | ||
| 10 | 1 | |||
| 11 | Allen wrench head | 1 |
Note: design and specifications are changed, without prior notice.

Add: No.I28 Zhenyuan Road in Baoshan District in Shanghai
Pos.: 200444
Tel: 021-64167716 64170061
Fax: 021-64170061
http://www.hengping17.com
E-mail: [email protected]




















