
User Manual
CURRENT PROBES & SENSORS
(For Power Quality Meters & Power Energy Loggers)

193-24-BK/193-36-BK/196A-24-BK
MA193-10-BK/MA193-14-BK/MA194-24-BK
MN93-BK/MN193-BK/MR193-BK
SL261/SR193-BK

193-24-BK Current Probes and Sensors
Copyright © Chauvin Arnoux ® , Inc. d.b.a. AEMC ® Instruments. All rights reserved.
No part of this documentation may be reproduced in any form or by any means (including electronic storage and retrieval or translation into any other language) without rior greement and written consent from Chauvin Arnoux ® , Inc., as governed by United States and International copyright laws.
Chauvin Arnoux ® , Inc. d.b.a. AEMC ® Instruments
15 Faraday Drive • Dover, NH 03820 USA
Tel: (800) 945-2362 or (603) 749-6434 • Fax: (603) 742-2346
This documentation is provided “as is,” without warranty of any kind, express, implied, or otherwise. Chauvin Arnoux ® , Inc. has made every reasonable effort to ensure hat this documentation is accurate; but does not warrant the accuracy or completeness of the text, graphics, or other information contained in this documentation. Chauvin rnoux ® , Inc. shall not be liable for any damages, special, indirect, incidental, or inconsequential; including (but not limited to) physical, emotional or monetary damages due o lost revenues or lost profits that may result from the use of this documentation, whether or not the user of the documentation has been advised of the possibility of such damages.
Current Probes & Sensors for Power Quality Meters and Power Energy Loggers
Thank you for purchasing an AEMC ® Instruments current probe. For the best results from your instrument and for your safety, you must read the enclosed operating nstructions carefully and comply with the precautions for use. Only qualified and trained operators should use this product.
Symbols
| CAUTION – Risk of Danger! Indicates a WARNING. Whenever this symbol is present, the operator must refer to the user manual before operation | |
| Indicates a risk of electric shock. The voltage at the parts marked with this symbol may be dangerous | |
| Application or withdrawal authorized on conductors carrying dangerous voltages Type A current sensor as per IEC 61010-2-032 | |
![]() | Refers to a type B current sensor. Application or withdrawal not authorized on conductors carrying dangerous voltages. Type B current ensor as per IEC 61010-2-032 |
| Signifies that the instrument is protected by double or reinforced insulation | |
| Battery | |
![]() | Indicates important information to acknowledge. |
| This product complies with the Low Voltage & Electromagnetic Compatibility European directives (73/23/CEE & 89/336/CEE). | |
| In the European Union, this product is subject to a separate collection system for recycling electrical and electronic omponents in accordance with directive WEEE 2002/96/EC. |
Definition of Measurement Categories (CAT)
CAT IV corresponds to measurements performed at the primary electrical supply (< 1000 V).
Example: primary overcurrent protection devices, ripple control units, and meters.
CAT III corresponds to measurements performed in the building installation at the distribution level.
Example: hardwired equipment in fixed installation and circuit breakers.
CAT II corresponds to measurements performed on circuits directly connected to the electrical distribution system.
Example: measurements on household appliances and portable tools.
PRECAUTIONS BEFORE USE
The protection assured by the current probe can be compromised if it is used in a way that is not recommended by the manufacturer.
■ Comply with the rated maximum voltage and current, and the measurement category. Do not use the current probe on networks where the voltage or category exceeds those specified.
■ Comply with the conditions of use (e.g. temperature, humidity, altitude, degree of pollution, location).
■ Do not use the current probe if its housing is open, deteriorated, or incorrectly reassembled. Before each use, check the integrity of the insulation of the unit, jaws, clamps, housing, and leads.
■ Do not subject the current probe to water or other liquids.
■ Keep the jaw contacts of the clamp absolutely clean.
■ Use suitable personal protective equipment when hazardous voltages may be accessible in the installation where the measurement is made.
■ Any repairs must be carried out by accredited skilled personnel.
INTRODUCTION
1.1 Receiving Your Shipment
Upon receiving your shipment, make sure that the contents are consistent with the packing list. Notify your distributor of any missing items. If the equipment appears to be damaged, file a claim immediately with the carrier and notify your distributor at once, giving a detailed description of any damage. Save the damaged packing container to substantiate your claim.
1.2 Ordering Information
NOTE: The current probes in this manual are compatible only with AEMC® Instruments Power Analyzers (see § 4 for meter compatibility).
AmpFlex® Sensor 24″ Model 193-24-BK ……………………………………Cat. #2140.34
AmpFlex® Sensor 36″ Model 193-36-BK ……………………………………Cat. #2140.35
AmpFlex ® Sensor 24” Model 196A-24-BK ………………………………….Cat. #2140.75
MiniFlex ® Sensor 10″ Model MA193-10-BK………………………………..Cat. #2140.48
MiniFlex ® Sensor 14″ Model MA193-14-BK………………………………..Cat. #2140.50
MiniFlex® Sensor 24” Model MA194-24-BK ………………………………..Cat. #2140.80
AC/DC Current Probe Model J93-BK ………………….. Discontinued October 2021
AC Current Probe Model MN93-BK…………………………………………..Cat. #2140.32
AC Current Probe Model MN193-BK…………………………………………Cat. #2140.36
AC Current Probe Model MR193-BK…………………………………………Cat. #2140.28
AC Current Probe Model SR193-BK …………………………………………Cat. #2140.33
AC/DC Current Probe Model SL261* ………………………………………..Cat. #1201.51
* Adapter for SL261 – BNC Adapter ……………………………………..Cat. #2140.40
PRODUCT FEATURES
2.1 Control Features
AmpFlex® Models 193-24-BK, 193-36-BK & 196A-24-BK

- Flexible sensor
- Sensor opening connector
- Shielded lead
- Custom 4-pin input connector (available standard or IP 67 compliant, depending on instrument)
2.1.1 MiniFlex® Model MA193-BK

- Flexible sensor
- Sensor opening device
- Shielded lead
- Custom 4-pin input connector
2.1.2 MiniFlex® Model MA194-BK

- Flexible sensor
- Sensor opening device
- Shielded lead
- Custom 4-pin input connector
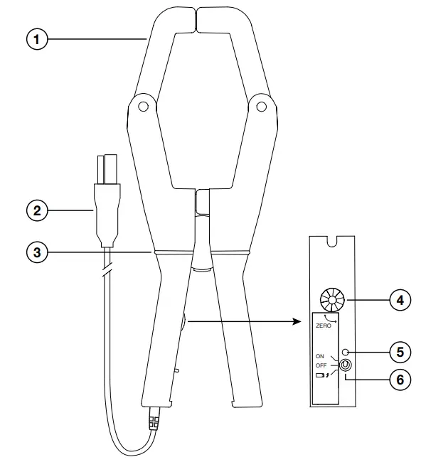
2.1.3 AC/DC Current Probe Model J93-BK

- Jaws
- Custom 4-pin input connector
- Safety guard
- Zero adjustment knob
- Power ON/Low battery indicator
- Three-position switch: ON, OFF, battery test
2.1.4 AC Current Probe Models MN93-BK & MN193-BK

- Jaws
- Protective guard
- Two-position range switch (MN193-BK only)
- Jaw opening lever
- Shielded lead
- Custom 4-pin input connector
2.1.5 AC Current Probe Model MR193-BK

- Jaws
- Protective guard
- Jaw opening lever
- Two-position range switch
- Shielded lead
- Zero adjustment
- Custom 4-pin input connector
2.1.6 AC Current Probe Model SL261

- Jaws
- Zero adjust knob
- Range selection switch
- Battery compartment screw
- Battery compartment cover
- BNC Adapter (sold separately – Cat. #2140.40)
2.1.7 AC Current Probe Model SR193-BK

- Jaws
- Protective guard
- Jaw opening lever
- Shielded lead
- Custom 4-pin input connector
OPERATION
The current probes and flexible sensors are used to measure the current flowing in a conductor or bus bar without opening the circuit. They also insulate the user from dangerous voltages in the circuit. The choice of current probe or sensor to be used depends on the amperage to be measured and the diameter of the cables or size of the bus bar.
■ For three-phase measurements, use the color-coded ID markers to associate a color for each current input to match the phase identifiers on the measured system.
NOTE: Always connect the probes or sensors with the indicating arrows pointing toward the load.
For Example Only (instrument’s will vary):

■ Connect the current probe or sensor to the current terminals of the instrument.
For MR193-BK and SL261 Probes:
■ MR193-BK: Set the switch to 1 mV/A; the ON indicator will light up.
SL261: Set the switch to 10 mV or 100 mV/A; the ON indicator will light up.
■ Connect the probe to the instrument.
■ Adjust the zero by turning the potentiometer with no conductor in the jaws of the clamp.
■ When the measurement is finished, turn the probe switch to OFF.

For Probes:
■ Press the jaw opening lever on the probe to open the jaws.
■ Clamp the probe around the conductor to be tested. For best results, center the conductor in the jaws of the clamp.

For AmpFlex® and MiniFlex® Sensors:
■ AmpFlex® : Press simultaneously on both sides of the opening connector.
■ MiniFlex® : Press the opening device to open the flexible sensor.
■ Clamp the sensor around the conductor to be tested. For best results, center the conductor in the jaws of the clamp.

■ Close the sensor by pushing the moving part into the connector until it clicks.
NOTE: For details of the measurement configuration and technical specifications, refer to the user manual of the connected instrument.
SPECIFICATIONS
4.1 Electrical
NOTE: The measurement ranges specified are for the probes and sensors. In some cases, they may differ from the ranges that can be measured by the connected instrument.
NOTE: For complete specifications refer to the product user manual that is supplied with each compatible instrument.
| Model | Measurement Range | Compatibility |
| AmpFlee 193-24-BK¹ 24 in (610 mm) | 200 mA to 10 IcAAC’²’ (12,000 A)³’ | All PowerPads and PEL 100 Series |
| AmpFlee® 193-36-BK¹ 36 in (910 mm) | 200 mA to 10 kAAC² (12,000 A)³ | All PowerPads and PEL 100 Series |
| AmpFlext 196A-24-BK¹ 24 in (610 mm) | 200 mAto 10 kAAC ² (12,000 A) 01 | 8435, 8436, and PEL 105 |
| MinIFlext MA193-BK¹ 01 10 in (250 mm) | 200 mAto 3000 A (10,000 A peak) | All PowerPads and PEL 100 Series |
| MinIFlext MA193-BK 1′) 14 in (355 mm) | 200 mAto 3000 A (10,000 A peak) | All PowerPads and PEL 100 Series |
| MiniFlext MA194-BK 1″ 24 in (606 mm) | 100 mAto 3000 A (10,000 A peak) | All PowerPads and PEL 100 Series |
| J93•BK | 50 to 3500; 50 to 5000 (DC only) | 8333, 8336, 8435, 8436 and PEL 100 Series |
| MN93-BK | 2 to 240 AAC (I >200 A not permanent) | All PowerPads and PEL 100 Series |
| MN193-BK | 5 A: 0.005 to 6 AAC 100 A: 0.1 to 120 AAC | All PowerPads and PEL 100 Series |
| MR193-BK | 10 AAC to 1000 MC; 10 APEAK AC+DC to 1300 APEAK AC+DC | All PowerPads and PEL 100 Series |
| SL261 | 100 m∨/A: 100 mA to 10 A peak 10 m∨/A: 1 to 100 A peak | All PowerPads and PEL 100 Series |
| SR193-BK | 1 AAC to 1200 MC (I > 1000 A not continuously) | All PowerPads and PEL 100 Series |
(1) 10 to 6500 AAC for Model 8435; 100 mA to 6500 A for Model 8436
(2) 200 mA to 10,000 A measurement range for the PEL 100 Series.
(3) 12,000 A is specified for the PEL 100 Series only.
Battery: 9 V Alkaline NEDA 1604 A, 6LR61
Battery Life: MR193-BK – 100H typical
SL261 – 55 h typical
J93-BK – 70 h typical
NOTE: Battery life is twice the typical value when using Lithium batteries.
4.2 Environmental
Indoor use
Operating Temperature: (14 to 131) °F (-10 to 55) °C); (10 to 85) % RH
Storage Temperature: (-40 to 158) °F (-40 to 7) °C; (10 to 90) % RH
Degree of pollution: 2
Altitude: < 2000 m
4.3 Mechanical
| Model | Lead Length (nominal) | Clamping Diameter | Dimensions | Weight |
| AmpFlex® 193-24-BK 24 in (610 mm) | 10 ft (3 m) | 7.64 in (190 mm) | (6.6 x 6.2 x 0.98) in (170 x 158 x 25) mm | 7.7 oz (270 g) |
| AmpFlex® 193-36-BK 36 in (910 mm) | 10 ft (3 m) | 11.46 in (290 mm) | (11 x 10.4 x 0.98) in (280 x 265 x 25) mm | 9.5 oz (220 g) |
| AmpFlee 196A-24-BK 24 in (610 mm) | 10 ft (3 m) | 7.64 in (190 mm) | (6.6 x 6.2 x 0.98) in (170 x 158 x 25) mm | 7.7 oz (270 g) |
| MiniFlee MA193 -10-BK 10 in (250 mm) | 10 ft (3 m) | 2.75 in (70 mm) | (4.0 x 2.5 x 1.1) in (103 x 64 x 28) mm | 1.94 oz (55 g) |
| MiniFlee MA193-14-BK 14 in (350 mm) | 10 ft (3 m) | 3.94 in (100 mm) | (4.0 x 2.5 x 1.1) in (103 x 64 x 28) mm | 2.11 oz (60 g) |
| MiniFlex® MA194-24-BK 24 in (606 mm) | 10 ft (3 m) | 7.64 in (190 mm) | (4.0 x 2.5 x 1.1) in (103 x 64 x 28) mm | 2.11 oz (60 g) |
| J93-BK | 10 ft (3 m) | 2.84 in (72 mm) | (13.23 x 5.00 x 1.65) in (336 x 127 x 42) mm | 3.75 lbs (1.7 kg) |
| MN93-BK | 10 ft (3 m) | 0.8 in (20 mm) | (5.47 x 2.00 x 1.18) in (135 x 51 x 30) mm | 24 oz (690 g) |
| MN193-BK | 10 ft (3 m) | 0.8 in (20 mm) | (5.47 x 2.00 x 1.18) in (135 x 51 x 30) mm | 24 oz (690 g) |
| MR193-BK | 10 ft (3 m) | One 1.6 in (42 mm) or two (25 mm) 0.98 in or two bus bars (1.96 x 0.19) in (50 x 5) mm | (8.8 x 3.82 x 1.73) in (224 x 97 x 44) mm | 19 oz (540 g) |
| SL261 | 6.5 ft (1.9 m) | 0.46 in (11.8 mm) | (9.09 x 1.42 x 2.64) in (231 x 36 x 67) mm | 11.6 oz (330 g) |
| SR193-BK | 10 ft (3 m) | 2 in (52 mm) | (8.5 x 4.4 x 1.8) in (216 x 111 x 45) mm | 24 oz (690 g) |
4.4 Safety
Protection index IP 40 for the probes and IP 30 jaws open, according to IEC 60 529
■ IP 65 for the AmpFlex® according to IEC 60 529
■ IK 04 according to IEC 50102
Drop test: According to IEC 61010-1
Electrical safety according to IEC 61010-2-032.
Maximum applicable voltage:
AmpFlex® 193-BK: 1000 V CAT III; 600 V CAT IV
AmpFlex® 196A-BK: 1000 V CAT IV
MiniFlex® -BK: 1000 V CAT III; 600 V CAT IV
J93-BK: 600 V CAT III; 300 V CAT IV
MN93 / MN193-BK/
MN194-BK: 600 V CAT III; 300 V CAT IV
MR193-BK: 600 V CAT III; 300 V CAT IV
SL261: 600 V CAT III
SR193-BK: 1000 V CAT III; 600 V CAT IV
4.5 Conformity To International Standards
The instruments are compliant with IEC 61010-2-032.
The equipment is protected by double or reinforced insulation
.
Type of current sensor per IEC 61010-2-032:
Type A
or
Type B for the Ampflexes.
4.6 Electromagnetic Compatibility
The instruments conform with standard IEC 61326-1.
Specifications are subject to change without notice.
MAINTENANCE
Use only factory specified replacement parts. AEMC® instruments will not be held responsible for any accident, incident, or malfunction following a repair done other than by its service center or by an approved repair center.
CAUTION: Risk of electric shock. Disconnect the instrument from any source of electricity.
5.1 Cleaning
■ Use a soft cloth, dampened with soapy water. Rinse with a damp cloth and dry rapidly with a dry cloth.
■ Do not use alcohol, solvents, or hydrocarbons.
■ Do not splash water directly on the instrument.
5.2 Battery Replacement
5.2.1 Model MR193-BK
■ Disconnect the MR193-BK completely and turn the rotary switch to OFF.
■ Use a screwdriver to unscrew the screws and remove the battery compartment cover on the backside of the unit.
■ Withdraw the battery from its compartment.
■ Disconnect the old battery without pulling on the wires and replace with a new one, observing the polarity.
■ Put the battery into its compartment.
■ Put the cover back in place and screw the screws back in.
5.2.2 Model SL261
■ Disconnect the SL261 completely and turn the rotary switch to OFF.
■ Unscrew the battery compartment screw and pull off the battery compartment cover.
■ Replace the battery with a new one, observing the polarity.
■ Put the cover back in place and screw the screw back in.
5.2.3 Model J93-BK
■ Insert a tool, not more than 3 mm in diameter, in the hole in the battery compartment cover.
■ Push to unlock the battery compartment cover, then slide it off.
■ Remove it completely by hand.
■ Remove the battery and the shim from the compartment.
■ Place the new battery in the compartment with the polarity as indicated on the label. Then replace the shim.
■ Put the battery compartment cover back in the slide and push it in until you hear a click.
Used batteries must not be treated as ordinary household waste.
Recycle them appropriately.
5.3 Repair and Calibration
To ensure that your instrument meets factory specifications, we recommend that it be sent back to our factory Service Center at one-year intervals for recalibration or as required by other standards or internal procedures.
For instrument repair and calibration:
You must contact our Service Center for a Customer Service Authorization Number (CSA#). Send an email to [email protected] requesting a CSA#, you will be provided a CSA Form and other required paperwork along with the next steps to complete the request. Then return the instrument along with the signed CSA Form.
This will ensure that when your instrument arrives, it will be tracked and processed promptly. Please write the CSA# on the outside of the shipping container. If the instrument is returned for calibration, we need to know if you want a standard calibration or a calibration traceable to N.I.S.T. (includes calibration certificate plus recorded calibration data).
Ship To: Chauvin Arnoux®, Inc. d.b.a. AEMC® Instruments
15 Faraday Drive ▪ Dover, NH 03820 USA
Phone: (800) 945-2362 (Ext. 360) / (603) 749-6434 (Ext. 360)
Fax: (603) 742-2346
E-mail: [email protected]
(Or contact your authorized distributor.)
Contact us for the costs for repair, standard calibration, and calibration traceable to N.I.S.T.
NOTE: You must obtain a CSA# before returning any instrument.
5.4 Technical Assistance
If you are experiencing any technical problems or require any assistance with the proper operation or application of your instrument, please call, e-mail or fax our technical support team:
Chauvin Arnoux®, Inc. d.b.a. AEMC® Instruments
Phone: (800) 343-1391 (Ext. 351)
Fax: (603) 742-2346
E-mail: [email protected]
www.aemc.com
5.5 Limited Warranty
The instrument is warrantied to the owner for a period of two years from the date of original purchase against defects in manufacture. date of original purchase against defects in manufacture. This limited warranty is given by AEMC® Instruments, not by the distributor from whom it was purchased. This warranty is void if the unit has been tampered with, abused, or if the defect is related to service not performed by AEMC® Instruments.
Full warranty coverage and product registration is available on our website at www.aemc.com/warranty.html
Please print the online Warranty Coverage Information for your records.
What AEMC® Instruments will do:
If a malfunction occurs within the warranty period, you may return the instrument to us for repair, provided we have your warranty registration information on file or a proof of purchase. AEMC® Instruments will repair or replace the faulty material at our discretion.
REGISTER ONLINE AT: www.aemc.com/warranty.html
5.5.1 Warranty Repairs
What you must do to return an Instrument for Warranty Repair:
First, send an email to [email protected] requesting a Customer Service Authorization Number (CSA#) from our Service Department.
You will be provided a CSA
Form and other required paperwork along with the next steps to complete the request. Then return the instrument along with the signed CSA Form. Please write the CSA# on the outside of the shipping container. Return the instrument, postage or shipment pre-paid to: Chauvin Arnoux®, Inc. d.b.a. AEMC® Instruments
15 Faraday Drive, Dover, NH 03820 USA
Phone: (800) 945-2362 (Ext. 360) / (603) 749-6434 (Ext. 360)
Fax: (603) 742-2346
E-mail: [email protected]
Caution: To protect yourself against in-transit loss, we recommend that you insure your returned material.
NOTE: You must obtain a CSA# before returning any instrument.


02/23
99-MAN 100391 v12
AEMC® Instruments
15 Faraday Drive • Dover, NH 03820 USA
Phone: (603) 749-6434 • (800) 343-1391 • Fax: (603) 742-2346
www.aemc.com
© Chauvin Arnoux®, Inc. d.b.a. AEMC® Instruments. All Rights Reserved.



















